移动模架逐孔现浇法工艺的作业设备,BllMovable Scaffolding System,所以移动模架工法也简称MSS工法,在我国大陆地区一般称MSS为造桥机。MSS造桥机是一种安装简易、操作高效、重量轻的整孔现浇桥梁施工设备,它适用于各种断面、各种跨度的桥梁和不同的桥型。当桥墩较高、桥跨较长或桥下净空受到限制时,已更为广泛地采用移动模架逐孔现浇施工技术。国外,最早在1969年由德国PZ公司研制在德国阿母辛克(Amsinck)桥正式使用。国内最早于1990年引进该类造桥设备施工了厦门高集海峡公路大桥。我国第一条客运专线秦沈线,由于受架设设备限制,采用的大都是32 m及以下跨度的PC箱梁,使桥梁孔跨布置受到了局限。京沪高速铁路大量采用中等跨度PC箱梁,随着移动模架造桥机的不断改进完善及造桥技术的日臻成熟,该技术必将拥有广阔的发展空间。
移动模架造桥机有两种结构形式,即上行式(图1)和下行式(图2)。


移动模架造桥机技术现已成为最主要的建桥方法之一。移动模架为架模一体式施工方式,其工艺原理是在设计混凝土箱梁的上方(或下方)设置承重钢主梁来支承模板、梁重和各种施工荷载,钢主梁可在滑道滑行。钢主梁前端支承于墩上.后端支承于已浇混凝土梁端上。当一跨梁段张拉完毕后,脱模卸架,由模架上配套的液压系统和传动装置,牵引钢主梁和模板纵移至下一跨。此方法为大型桥梁施工向机械化、自动化和标准化的方向迈进了成功的一步。实践证明此法适用于跨径20-70m的等跨和等高度连续梁桥施工,平均推进速度约每昼夜3m。
2.1 工序简单,施工周期短。上、下部构造可平行施工,在下部构造超前完成2~3孔后,上部箱梁施工即可按顺序进行,有利于加快全桥的整体施工进度。机械化程度高,采用全液压设备进行操作,极大程度地降低了劳动强度,缩短施工周期:经过与国内传统的施工方法对比发现,采用MSS技术施工可缩短桥梁上部结构施工工期达50一200%。
2.2 工序重复,易于掌握和管理。由于每段梁的模板、钢筋、预应力体系、混凝土浇注等工序和工艺基本相同,施工2~3个梁段后即可走入正轨。易于掌握和管理。同时移动模架反复周转使用,有效地降低了综合施工成本。
2.3 移动模架工厂化施工,标准化作业,梁体整体性好,利于工程质量和安全控制。采用移动模架施工,每孔箱梁仅在0.2L附近设一道横向工作缝。混凝土箱梁的整体性能好。尤其是对于深处海洋环境中的桥梁,使结构的耐久性更有保证,从结构上对工程质量有利。同时,可在模架制造时事先设置预拱度控制变形,便于控制梁体整体性、结构尺寸和线形,保证施工质量。另外由于施工工艺先进合理,成熟可靠,施工均在模板内进行,基本不受外界因素干扰,因而比其他现场浇注混凝土的施工方法更有安全保障。
2.4 移动模架逐孔施工,具有明显的经济效益,经过多年的工程实践,对于桥墩超过一定的高度而无法设置脚手架施工的高架桥梁工程和地面为软弱土层、脚手架或支架基础处理困难且费用较高,以及在桥梁跨数超过10孔的情况下采用移动模架法进行施工将更加显示出“经济、高效”的特点。
2.5 施工时的受力与运营时的受力一致,不需要增加施工受力钢筋,减少建材消耗。
2.6 移动模架对于高墩桥梁,尤其是城市立交和高架桥(因为移动模架作业面通常在桥墩的顶部,不需要限制桥下净空)的施工。具有显著的安全性:基本不影响桥下的通车、通航要求;对桥下地面的要求低,也不受桥梁墩高及地面设施的影响,适用于交通繁忙区域高架桥的不中断交通施工。
2.7 施工占地少,对环境的影响和污染少,有利于文明施工。因施工是从桥的一端向另一端逐孔推进,施工完毕的箱梁桥面可用作半成品的加工和堆放场地,对于施工场地狭窄的工程具有独特的优势。
2.8 采用MSS技术施工有利于各种地下管线及桥梁上部结构交叉施工,节省工期,且可设置防雨、防寒、防晒的项棚围护措施,可保证施工期间不受天气的影响,也有利于掌握工期。
2.10 上行式移动模架造桥机能适应平曲线R>600 m的多跨连续梁施工,逐孔现浇时梁体整体性能好,几何尺寸易于调整,使梁体结构更合理化。
2.11 移动模架造桥机主梁箱型结构载荷能力强,抗弯刚度大,主梁变形小,结构安全可靠。箱粱混凝土灌注前的预拱度便于控制,以保证良好的线形。
2.12 造桥机主梁经过不断的改进和完善。可成为一机多用的桥梁施工设备,既是现浇或预制梁逐孔施工设备,又能兼做架梁或承重梁的设备,重复利用率高,节省投资,综合效益好。
高墩现浇箱梁施工、复杂地形现浇梁施工、水上现浇梁施工。
《客运专线铁路工程施工质量验收标准应用指南》;
《客运专线铁路桥涵工程施工技术指南》;
《铁路混凝土工程施工技术指南》;
《钢结构设计规范》;
《铁路架桥机架梁规程》;
《钢结构工程施工质量验收规范》;
移动模架作为主要承重结构,利用桥墩为支点临时支承梁体自重,在移动模架上完成模板调整、预拱度设置、绑扎钢筋、浇筑混凝土、张拉预应力索筋等,当完成一孔梁的施工,之后移动模架降架脱模,移动至下一跨就位,以此进行逐孔浇筑施工。采用逐孔施工能连续操作,施工设备的周转次数愈多,经济效益越高。
移动模架施工过程中,要利用前后支腿顶升油缸调整模板的纵向标高,使模板处于浇注混凝土时的正确位置,与此同时设置好预拱度。预拱度设置由安装在主梁上的吊杆调节连接器来完成,预拱度值由模架自身挠度和箱梁预拱度两部分组成,工艺流程见下图3。

移动模架拼装工艺流程为:场地平整------拼装支架搭设------7节主梁地面拼装(上叠梁暂时不装,主梁分两段拼装,前四节承重钢箱梁和后三节主梁分开安装)------前后支腿安装------前四节承重主梁吊装------吊装后三节主梁与前段主梁空中对接------8号辅助主梁安装------安装上叠梁------吊装导梁与主梁空中对接------挑梁吊臂及电葫芦轨道安装------拼装调整底模架底模板------拼装调整侧模架侧模板及撑杆------拼装调整翼模及撑杆------拼装调整异形侧模与异形翼模------整体吊装模板与吊臂连接-----连接模板、调整模板------安装墩顶散模及其构件------安装电气系统、液压系统------整机调试、空运转。
为移动模架拼装需要,在57#-58#墩之间及后支腿处搭设临时支架,移动模架支撑架采用钢管支架施工,钢管立柱采用φ600,钢管立柱之间采用[16a槽钢剪刀撑连接。如图4所示。
在57#墩、58#墩身线路右侧施工场地上用枕木搭建主梁拼装临时平台,2.5m见方高度0.6m,在地面逐节拼装主梁,并将接头螺栓上满拧紧。并在墩台旁边搭设临时钢管支撑平台,使临时支撑的上表面和标准桥面齐平,并在平台上方后支腿相应位置坐好标记及预埋件。主梁拼装如图5所示:

在临时支撑顶安装造桥机后支腿,并与预埋件锁定;在57#墩顶安装造桥机前支腿,并与预埋件锁定,支腿后方安装支腿斜拉机构,前方拉设锁链并可靠锚固,如图6所示。

用两台250墩吊车将主梁分次吊装到位,接头螺栓上满拧紧,并在相应位置安装辅助支腿及相关配件;其中一台汽车吊将在地面拼装好的辅助钢箱梁及辅助支腿吊装到位;另一台汽车吊将在地面拼装好的9号主梁和10号主梁吊装到位,接头螺栓上满拧紧。如下图7-8所示:


底模架及模板安装,底模是箱梁混凝土的直接支承及成型体系,而底模架则是底模的受力桁架,通过桁架传力→吊杆→主梁。如图10所示

侧模架共14组,每组侧模架由主桁架、连接桁架连接成整体,构成空间桁架结构。如图11所示

MZ1000S型移动模架造桥机液压系统共五套,分别为前支腿液压系统(1套)、后支腿液压系统(1套)、辅助支腿液压系统(1套)和开模液压系统(2套)。
翼模共8组,左右各4组,每组两块模板之间通过4. 8级精制螺栓对拉连接成整体,构成一组。翼模与侧模之间也过4. 8级精制螺栓对拉连接成整体,与侧模架撑杆连接。整体吊装模板与吊臂连接,调整造桥机的模架系统包括底模架和侧模架,是箱梁混凝土的直接支承体系。工作时,左右两组底模架用8.8级精制螺栓对拉,形成整体。安装墩顶散模及其构件、爬梯及走道安装,完善模架系统。
在初次使用该类移动模架时,应科学严格的进行预压试验,以便将试验数据与计算值进行对比,确定弹性变形是否与计算相符,同时取得非弹性变形数据指导后续梁跨施工预拱度设置。
在底腹板铺设完成后,进行预压试验。验证MZ1000S移动模架造桥机的设计和制造质量,需要在现场做空载试验和堆载试验,以确保设备在以后的使用过程中正常工作和使用安全及通过模拟移动模架在箱梁施工时的加载过程来分析、验证移动模架主梁框架及其附属结构的弹性变形,消除其非弹性变形。预压采用堆码沙袋法分级加载,分别按照计算重量的0%、50%、80%、100%、120%实施,并在各吊杆位置、主梁跨中、1/4跨及梁端设置观测点进行观测,按规范准确获得预压试验数据,通过其规律来指导移动模架施工中模板的预拱度值及其混凝土分层浇注的顺序。预压现场影像如图12所示

安装支座前先对混凝土垫石凿毛,支座吊装就位后,采用重力式灌浆方法,在支座底板与支座垫石表面灌注2~3cm厚专门的支座灌浆料,支座灌浆料必须保证充满锚栓孔及垫石与支座之间的空隙。
模架预拱度的设置主要是考虑钢箱主梁承重后引起的弹性变形。预拱度的设置由模板桁架的竖杆长度变化来实现,吊杆也通过其丝扣的调整来达到与竖杆的统一长度。
预拱度设置及模板调整:当侧模及底模安装就位后,调整各支点模板纵向标高,使钢箱模板处于浇筑混凝土时的正确位置,与此同时设置好预留拱度。预拱的设置分两次完成,第一次指在移动模架制造时考虑主梁预留上拱度,第二次由安装在钢箱上的垫块和侧模连接处框架支承立柱上的调整栓来完成;各支点预拱度值结合设计,由综合计算分析而定,预拱度理论值的计算主要考虑如下因素:钢箱的弹性变形、恒载、混凝土梁产生的弹塑性变形、支点沉降。
梁体钢筋应整体绑扎,先进行底板及腹板钢筋的绑扎,然后进行顶板钢筋的绑扎,当梁体钢筋与预应力钢筋碰撞时,可适当移动梁体钢筋或进行弯折。梁体钢筋最小保护层除顶板面为30mm外,其余均为35mm,且绑扎铁丝的尾段不应伸人保护层内。本设计桥面排水坡由梁体顶板顶面直接形成,顶面钢筋根据桥面坡度斜置,施工中应注意钢筋位置的准确性,所有梁体预留孔处均增设相应的环状钢筋;桥面泄水孔处钢筋可适当移动,并增设螺旋筋和斜置的井字形钢筋进行加强;施工中为确保腹板,顶板,底板钢筋的准确位置,应根据实际情况加强架立钢筋的设置,可采用增加架立钢筋数量或增设马镫型或矩形的架立钢筋等措施。当使用垫块控制保护层厚度时,垫块应采用与梁体同寿命的材料,且保证梁体的耐久性。
钢筋在使用前,进行调直和除锈,保证钢筋表面洁净、平直,无局部弯折;钢筋的加工制作在加工车间严格按设计图进行,成品编号堆码,以便使用。
将加工好的钢筋运至模板内,按设计图放样绑扎,在交叉点处用扎丝绑牢,必要时采取点焊,以确保钢筋骨架的刚度和稳定性。
钢筋绑扎按设计及施工规范要求进行,在箱梁腹板钢筋绑扎接近完成时,要按设计图要求的位置,绑扎纵向预应力束管道定位筋,然后安装管道。管道要平顺,接头部分要用大一号波纹管套接,用胶带纸裹紧。定位钢筋要编号,并与箱梁模板号相对应,其焊接位置由管道坐标计算而定。
底板、腹板钢筋及预应力波纹管道安装完毕验收合格后,安装内模。内模采用拆装式组合钢模板结构体系,按使用部位的不同,43m混凝土箱梁所用内模划分为标准节段、吊杆节段1、吊杆节段2、吊杆节段3、过渡节段1、过渡节段2、过渡节段3及加厚节段。40m混凝土箱梁所用内模分为标准节段、吊杆节段1、吊杆节段2、吊杆节段3、过渡节段1、过渡节段2、过渡节段3、加厚节段、标准节段(40m用),其中除标准节段(40m用)为新制部分外,其余均倒用43m箱梁的相关节段。内模设有模板带、可调撑杆和水平撑杆,以承受混凝土荷载及便于内模的调整定位。模板与模板带之间、可调撑杆与模板带之间以及可调撑杆与水平撑杆之间均采用螺栓连接。
顶板钢筋绑扎按设计及施工规范要求进行,同时注意按照设计图纸,预埋防护墙钢筋、遮板与电缆槽钢筋,桥面注意预埋轨道板基座钢筋与桥面连接的套筒。同时注意预埋接触网基础预埋件、预留腹板通风孔、桥面集水槽、梁底排水孔及综合接地系统的埋设。要求预埋件及预留孔洞的位置准确,预埋件的加工制造质量符合设计图纸与规范的要求。
混凝土浇筑时间控制在初凝时间内。混凝土在混凝土工厂集中拌制,用混凝土搅拌车运至墩位后,混凝土输送泵泵送至模内,同时采用两台输送泵对称泵送浇筑。
浇筑混凝土时采用跨中向两段斜向分段、水平分层的方法灌注。上层与下层前后浇筑距离不小于1.5m,每层浇筑厚度不超过30cm。在混凝土浇筑过程中,注意使混凝土入模均匀,避免大量集中入模。派有经验的混凝土工负责振捣,振捣采用插入式的振动器,振动棒避免碰撞模板、钢筋、预应力管道和其他预埋件,移动间距不超过其作用半径的1.5倍,与侧模保持5~10cm的间距,插入下层混凝土5~10cm左右,将所有部位均振捣密实,密实的标志是混凝土停止下沉,不再冒气泡、表面呈现平坦、泛浆。
纵向从跨中向梁端对称浇注,到距梁端4m时,再从梁端向跨中方向浇注,并在混凝土初凝前完成梁体混凝土浇注任务,避免因移动模架过程变形拉裂梁体混凝土,同时又保证支座处混凝土的良好性。
混凝土浇注顺序:先灌注底板、后灌注腹板、再灌注顶板及桥面混凝土。底板混凝土厚度严格控制,沿梁长每2m设一厚度控制标记;腹板捣固时若混凝土从内模下冒出底板时,停止振捣,待混凝土浇注完毕后,对内模与底板接触处进行处理和压光。
各部位混凝土浇筑方法如下:
底板混凝土浇筑:输送管道通过内模预留窗口将混凝土送入底板,窗口间距约4m,根据实际情况调整。下料时,一次数量不宜太多,并且要及时振捣,尤其边角处必须填满混凝土并振捣密实,以防浇筑腹板时冒浆。底板不需分层浇筑。
腹板混凝土浇筑:两侧腹板混凝土要同步进行,其混凝土高差不超过1m,以保持模板支架受力均衡。开始时分层不宜超过20cm,以确保倒角处混凝土振捣密实,一定要保证混凝土从内倒角处翻出,并和底板混凝土衔接好。内翻的混凝土及时向前铲平,最后多余混凝土及时铲除、抹平。腹板每层混凝土浇筑厚度不得超过40cm,每层均要振捣密实,严禁漏振和过振现象,振捣器采用插入式高频振捣器。
顶板混凝土浇筑:当腹板浇筑到箱梁腋点后,要开始浇筑顶板混凝土,其浇筑顺序为先中间,后浇两侧翼缘板,但两侧翼板要同步进行。为控制桥面标高,必须按两侧模板标示高度进行混凝土浇筑,并现场每隔1~2m设置一个标高控制点,保证主梁混凝土面平整,保证梁面纵、横向坡度符合要求。在完成第二次抹面后,立即覆盖养生。
指定专人填写施工记录,包括原材料质量、混凝土坍落度、拌合时间、质量、浇筑和振捣方法、浇筑进度和浇筑过程中出现的问题及处理方法、结果。顶板表面进行二次收浆抹面,并于终凝前拉毛,及时养护,防止裂纹。
混凝土养护按自然养护工艺办理:
①梁体养护用水与拌制梁体混凝土用水相同。
②洒水次数应以混凝土表面湿润状态为度,一般情况白天1~2小时一次,晚上4小时一次。
③保湿养护时间符合表1要求。
表1养护时间表
养护期间混凝土强度未达到规定强度之前,不得承受外荷载。当混凝土强度满足拆模要求,且芯部混凝土与表层混凝土之间的温差、表层混凝土与环境之间的温差均≯15℃时,方可拆模。大风或气温急剧变化时不宜拆模。在炎热或大风干燥季节,应采取逐段拆模、便拆边盖的拆模工艺。
预应力连续梁采用两端对称张拉,根据设计要求进行张拉。张拉前先进行孔道摩阻试验,实测孔道摩阻系数与偏差系数,与设计摩阻与偏差系数进行对比验证,如果偏差较大,需要请设计院进行张拉控制应力调整之后,方可进行张拉施工。左右最大不平衡束不应超过1束。采用张拉应力与伸长量双向控制,预施应力值以油压表读书为主,伸长值作为校核,张拉过程中应保持两端的伸长量基本一致。设计伸长量与实际伸长量之间误差应在±6﹪以内,在测定伸长量时应扣除因弹性变形引起的伸长值。预应力张拉时,梁体混凝土龄期必须达到7天以上,强度与弹模达到设计值的90%后进行。穿好预应力钢绞线,即可施加预应力(检验混凝土强度应注意试件的取样及养生条件。穿束前应检查锚垫板和孔道,锚垫板位置要正确,孔道要畅通,无水分和杂物。
钢绞线在使用前要对其强度、伸长量、弹性模量、外型尺寸及初始应力进行严格检查,也要对锚具及夹片硬度进行检查。
张拉机具应与锚具配套使用,应在进场时进行检查、校验。千斤顶与压力表应配套校验,以便确定张拉力与压力表读数之间的关系。校验时,千斤顶活塞的运行方向应与实际张拉工作状态一致,当采用试验机校验时,宜以千斤顶试验机的读数为准。压力表应选用防震型,表面最大读数应为张拉力的1.5~2.0倍,精度不低于1.0级,校正期有效期为一周。当使用0.4级时,检定有效期可为一个月。且横向张拉不超过300次、纵向张拉不超过200次,在千斤顶使用过程中出现不正常现象时应重新校验。
张拉时,千斤顶张拉力作用线应与钢绞线的轴线重合。钢绞线在张拉控制应力达到稳定后,方可锚固。
为了避免预应力钢绞线被锈蚀,并与混凝土结成整体,当终拉完成后,宜在两天内进行管道压浆,压浆材料应以铁道部鉴定的高性能无收缩防腐灌浆剂。
压浆前须将孔道冲洗洁净,湿润,并使之无积水。压浆应缓慢均匀地进行,比较集中和邻近的孔道,宜尽先压注完成,以免串孔。
孔道压浆采用真空压浆工艺。先用真空泵使孔道内形成一定的气压差,再将水泥浆用压浆机压入孔内,使之填满预应力筋与孔道间的空隙,压入管道水泥浆应饱满密实,让预应力筋与砼牢固粘结为一整体。压浆前管道真空度应稳定在-0.06~0.1Mpa之间;浆体注满管道后,应该0.50~0.60Mpa压力下持压2min。
孔道压浆浆体由水泥、水、专用剂组成,其混合体应达到下列指标:水灰比为0.29~0.35,一般控制在0.33左右;浆体泌水率:水泥浆在拌合3h后,其泌水率应小于2%,且泌水应在24h内被浆体完全吸收;浆体温度:水泥浆搅拌机压浆时浆体温度应小于35℃;稠度为13秒~18秒,45分钟内,浆体的稠度变化不应大于2秒;缓凝时间:其初凝时间应不小3h,终凝时间应大于17h;膨胀率小于5%;密度不小于2.0h/cm3;抗压强度在标准养护条件下,其7天龄期的强度不小于40Mpa,28天龄期的强度应不小于60MPa.水泥浆自调制至灌入孔道的延续时间不得超过40min。水泥浆在使用前和压注过程中应经常搅动。
采用纯水泥浆时,一般每一孔道宜于两端先后各压浆一次,两次的时间间隔以先压注的水泥浆既充分泌水又未初凝为度,一般为30~40min。
对曲线孔道,应由最低点的压浆孔压浆,由最高点的排气孔排出气体和泌水。
压浆后应立即检查压浆的密实情况,如有不实,应及时处理,压浆中途发生故障,不能连续一次压满时,应立即用压力水冲洗干净,故障处理后再压浆。
压浆时,每一工作班应留不少于3组(9块)70.7×70.7×70.7mm立方体试件和40×40×40×160mm棱柱体试件,并增加一组同条件养护试件,作为张拉依据。
对预埋在构件中的锚具,压浆后应先将其周围冲洗干净并凿毛,然后设置钢筋网和浇筑封锚混凝土。
封锚前应对锚槽进行凿毛处理,并利用焊在锚板上的钢筋与封锚钢筋网绑扎在一起,以保证封锚端砼与梁体砼连为一体,封锚后应进行防水处理、锚槽外侧涂刷防水材料。
箱梁张拉完毕,拆除墩顶散模及墩顶处侧模对拉措施;拆除吊杆、拆除底模及侧模纵横向连接螺栓,拆除模架横向对接螺栓;辅助支腿油缸伸出与桥面顶紧,后支腿油缸收回脱空并吊挂前移至下孔指定位置,后支腿顺时针旋转2°左右,与待浇注孔箱梁横桥向平行;辅助支腿及前支腿支撑油缸收回脱空,整机下降0.27m;底模架横移开启并临时锁定,准备第一次前移过孔,如图13。

启动移动模架纵移机构,整机纵移13.95m后停止。移动模架后支腿油缸伸出与主梁转换支点牛腿顶紧,解除前支腿与墩顶间锁定;后支腿油缸伸出顶升0.1m,前支腿脱空,准备吊挂前移。如图14所示

前支腿吊挂前移钱,将辅助支腿和桥面竖向预应力筋或桥面预留孔锁定;前支腿脱空后吊挂前移至前墩安装位置附近,且支腿中心与桥墩预埋件中心横桥向对齐;启动前支腿横移油缸,推动前支腿横梁向曲线内侧移动至支腿中心与墩顶预埋件中心纵桥向对齐;前支腿沿顺时针方向旋转约2°,托辊轮箱保持与钢箱梁走道方钢平行;将前支腿立柱与墩顶临时用斜拉杆张紧,并与墩顶预埋件间锁定,指派专人检查无误后,后支腿油缸收回,整机准备第二次前移。如图15所示

启动移动模架纵移机构,纵移至前支点牛腿与前支腿顶升油缸基本对正时停止。启动前支腿横移油缸,推动前支腿滑移横梁向曲线内侧横移约1200mm。启动前支腿顶升油缸,整机顶升100mm,吊挂后支腿纵移后支点与支腿油缸正对时停止;启动后支腿横移油缸对整机进行微调,完成后指派专人检查;横移关闭底模架,连接左右模架间连接螺栓。前后支腿油缸顶升0.27m至工作状态并锁定;安装吊杆并调整,模板测量并调整,拆除前支腿立住临时斜拉杆,整机完成过孔前移。如图16所示

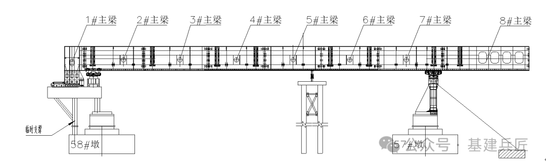
移动模架拼装完成后,从北江中心岛58#墩开始施工到52#墩这6孔40m简支梁之后,需要掉头。考虑52#-51#墩之间为1孔30m预制架设梁, 50#-56#墩跨位于北江副航道,为掉头吊装作业的方便,所以在掉头之前,先把移动模架退回至中心岛57#-59#墩之间梁面上。
移动模架的掉头步骤:
步骤一:52#-53#40m简支梁施工完成;如图17所示

步骤二:拆除侧模底模托架,移动模架退回至北江中心岛57#-59#墩间梁面上;如图18所示

步骤三:
1、将9#、10#主梁与2#主梁拼接;
2、在8#主梁上安装后支腿;
3、1#主梁与8#主梁拼接,安装辅助支腿;
4、将前支腿安装在10#主梁上;
5、拆除支撑主梁的钢支撑木,按照正常过孔的工艺;如图19所示


移动模架进行43.3m简支梁施工时,采用另外的第七组挑梁拼装侧模板,使梁体外模尺寸与设计相符合,其余施工步骤与40m简支梁一致。
移动模架施工劳动力组织采用架子队组织模式。

移动模架的安装及简支梁现浇主要机械设备见设备机具配置表。


移动模架施工过程中,定位各支点处模板的纵向标高,使模板处于浇注混凝土时的正确位置,确保预拱度的设置准确。
混凝土外露面平整度,色泽等;容易出现出现露筋和孔洞,表面蜂窝麻面面积超过该面面积的0.5%,梁体裂缝,外形轮廓清晰度及外部线型控制。
9.2.1 坚持设计文件图纸分级会审和技术交底制度。
9.2.2 工程施工中做到每个施工环节都处于受控状态,每个过程都有《质量记录》,施工全过程有可追溯性。
9.2.3 编写施工作业指导书,下发到相关部门及作业班组,并组织全部施工人员进行工序施工前培训,领会交底书、作业指导书内容及相关规范要求,做到工作有依据可查。
(1)移动模架应有出厂检验证,要组织有关人员对移动模架的电气
控制系统,液压系统,机械系统进行全面检查与验收,
各工序开工之前,组织技术交底,要说明质量控制施工的各项要求,并明确责任人,落到实处;
(2)工程测量要实行双检双复,即施工队在施放立模标高时,自检自复,专检时专检专复,确保施工放样准确;
(3)所有工序必须坚持“三检”制,只有办理工程签证后,才一允许进入下道工序施工;
(4)严格材料检验,所有进场材料只有经过检验合格,才允许投入施工使用,不合格材料坚决清退出场;
(5)做好各种标识,包括材料标识、工序状态标识、检验状态标识、责任人标识等;
(6)制定奖惩制度,定期对各作业队的施工质量组织评比,实行奖优罚劣;
(7)坚决实行质量一票否决制;
(8)加强施工作业人员管理,科学组织施工,合理安排施工顺序,组织机械设备、人员,发挥专业队伍优势,加强质量监督和技术指导,严格施工规范和质量标准,确保箱梁施工创优质工程。
移动模架制梁施工属高空作业,人员坠落、物体打击等风险也比较大,而且移动模架系统的拼装及箱梁制造的原材的吊装主要使用大型吊装设备,吊装难度较大。作业人员施工过程中必须切实做好安全防护工作,进场前必须经专业培训,达到要求后方能进场作业。
10.2.1、设备限制风速:设备推进时风速≤12m/s(六级风力),混凝土浇筑时风速≤22m/s(九级风力),需要采取安全措施风速≤30m/s(十一级风力)。
10.2.2、人员上下设置通道,要专门的人行爬梯,爬梯踏步两边设置1.1m高栏杆并围设钢板网,栏杆涂红白油漆。
10.2.3、翼模的边缘设防护栏杆并围设安全防护网,栏杆高度不小于1.2m。
10.2.4、夜间施工,要有足够的照明设施。
10.2.5、主梁沿外侧设栏杆并设安全防护网,在前后支腿设上主梁的通道,要求通道外围设圆形防护栏杆。
10.2.6、模架移动、混凝土浇注及支撑托架安装前必须进行安全检查。未进行检查、无记录和责任人签字的,不得进行作业。
10.2.7、人员站在托架上操作时必须先将安全带(长度不够时增设安全绳)系扣于主梁上,同时安全带必须高挂低用和系拉紧密,不得随意解开(或松开)系带。
10.2.8、在移动模架吊杆安(拆)、底模横梁联(拆)承重销作业等高空临边处作业人员必须系扣安全带、穿好救生衣;模架横移、前移过程中除模架操作及指挥相关人员,禁止其他人员逗留站立模架上。
10.2.9、移动模架横移分模后,及时对墩位处底模缺口设置人行通道和牢固的防护栏杆,通道用5公分厚的脚手板组成走道板。
10.2.10、箱梁施工下方的安全警示牌及警示带应随移动模架向前移动(绑扎箱梁钢筋之前必须移到位),托架及模架施工中,其下方禁止人员通行。
10.2.11、施工材料等不得堆放在移动模架两侧翼缘板通道上,模架前端平台施工材料不得堆放过多,保持通道畅通;箱梁上的施工人孔在砼终凝后设置安全防护栏杆。
10.2.12、在高空临边2米范围内不得堆放零散的施工材料,临边处易坠物(钢筋头、砼残渣等)要及时清理,防止高空掉物伤人;作业过程中,严禁高空抛物,防止伤及行人、车辆或船舶等。
10.2.13、箱梁顶前端高空临边处设临时防护拦杆。箱梁顶端头与模架翼缘板应设斜坡通道,防止箱梁预留钢筋伤人。
10.2.14、模架每施工3跨时,应对模架系统进行全面安全检查。
10.2.15、模架分模或前移中箱梁前端隔墙入孔位置,人员不得出入隔墙,严防发生意外。
10.2.16、严格遵守施工用电、高空作业、机械设备使用安全操作规程,保证人身安全。
工程临时占地不擅自占用或征用林地、保护沿线古树、不开挖采石取土,材料、废弃物不得于林下堆放,确因建设需要占用林地的,工程施工结束后做好抚育与恢复工作;临时施工场地的选择与布置,尽量少占用绿地面积,保护好周围环境,减少对植被生态的破坏。施工结束后,及时恢复绿化或整理复耕,重视临时施工用地的复垦;妥善处理废方,避免堵塞河道、改变水流方向和抬高水位而淹没或冲毁农田、房屋。
作业场地及运输车辆应及时清扫、冲洗,保证场地及车辆的清洁;主要运输道路需进行固化,要定时洒水防尘,严禁在场地内燃烧各种垃圾及废弃物;合理分布动力机械的工作场所,尽量避免同处运行较多的动力机械设备;对发电机等噪音超标的机械设备,采取装消音器来降低噪音;合理安排噪音较大的机械作业时间,严格控制噪音;
施工废水、生活污水按有关要求进行处理,不得直接排入农田、河流和渠道。清洗骨料的水和其它施工废水采取过滤、沉淀处理后方可排放,以免污染周围环境。施工机械的废油废水采取隔油池等有效措施加以处理,不得超标排放;机械存放点、维修点、车辆停放点以及油品存放点做好隔离沟,将其产生的废油、废水或漏油等通过隔离沟集中到隔油池,经处理后进行排放;注意保护自然水流形态,做到不淤、不堵、不留施工隐患,不阻塞河道。
施工场地和运输道路经常洒水尽可能减少灰尘对生产人员和其它人员造成危害及对农作物的污染;在运输水泥等易飞扬的物料时用蓬布覆盖严密并装量适中不得超限运输。在设备选型时选择低污染设备并安装空气净化系统确保达标排放。对汽油等易挥发品的存放要采取严密可靠的措施。
施工营地和施工现场的生活垃圾集中堆放;施工和生活中的废弃物也可经当地环保部门同意后运至指定地点,此外,工地设置能冲洗的厕所并派专门的人员清理打扫及定期对周围喷药消毒防蚊蝇滋生、病毒传播;报废材料或施工中返工的挖除材料立即运出现场并进行掩埋等处理。对于施工中废弃的零碎配件边角料、水泥袋、包装箱等及时收集清理并搞好现场卫生以保护自然环境不受破坏。
对施工临时用地,施工结束后应及时进行土地整治,结合城市化建设进程,考虑表土回填以利复耕或进行绿化恢复;工程结束后应及时恢复原排水设施,并尽量安排在枯水期施工;在工程水土保持区域范围内采取必要的植物措施,根据因地制宜的原则,在便道等水土保持区域种植适合当地的树种和草皮,以更好地控制水土流失。
某项目全桥长3076.43m,52#~58#墩及61#-68#墩40m简支箱梁采用MZ1000S型移动模架施工。
大桥在上部结构40m简支梁施工过程中,从移动模架拼装、安装就位、简支梁体施工,移动模架施工队伍和现浇简支梁施工队伍相互配合。大桥梁部施工计划的顺利有序完成,为顺利实现项目部按期完工奠定了基础。
移动模架法现浇箱梁施工技术成功地解决了墩高、水深等复杂地形的现浇梁施工,为新技术、新工艺、新设备的合理使用。在施工过程中有效地克服了复杂地形支撑系统的安装问题、大跨度大吨位梁体、曲线上的转跨行走问题、移动模架双向施工、曲线桥预拱度、横坡、纵坡的设置等技术难题,使我们积累了不少经验,总结出一套经济可行、技术先进、的施工方案、方法及工艺,在高墩现浇箱梁施工技术方面有所突破,实现创新,为同类型桥梁施工积累了经验。
在施工过程中,对每一个部位的方案都进行认真比选,论证,并在施工过程中不断优化,尽量采用现有的材料、优选设备达到预想的效果,节省施工的投入。相比于满堂支架法及梁柱式支架法施工,移动模架法现浇箱梁的施工不仅大大缩短了施工工期,而且有效地节约了施工成本。








0人已收藏
0人已打赏
免费0人已点赞
分享
道路工程
返回版块15.09 万条内容 · 689 人订阅
阅读下一篇
地理百科 —— 关于比降比降亦称坡降、坡度,指任意两端点间的高程差与两点间的水平距离之比。河流的比降分为床面比降和水面比降。 床面比降,用以表示河床纵断面地形的变化;水面比降即河流中任意两端点间的瞬时水面高程差与其相应水平距离之比,用以表明河流全程或分段的水面坡度,故又称水力坡度,通常说的河流比降就是河流水面比降,它可分为纵比降与横比降。 “纵比降”也即“纵坡降”,以千分率或万分率表示。河段水面沿河流方向的高程差与相应的河流长度相比,称之为水面的纵比降。河流(河谷、沟道等)纵剖面坡度是反映各级阶梯的基本形态测量指标,它间接地反映势能大小。
回帖成功
经验值 +10
全部回复(0 )
只看楼主 我来说两句抢沙发