土木在线论坛 \ 道路桥梁 \ 桥梁工程 \ 钢桥面的“下层浇筑+上层环氧”刚柔复合型铺装

钢桥面的“下层浇筑+上层环氧”刚柔复合型铺装

发布于:2023-02-03 14:02:03 来自:道路桥梁/桥梁工程 [复制转发]
图片


泰州大桥是世界首座三塔两跨钢箱梁悬索桥,主桥全长2160m (2×1080m),是江苏省“五纵九横五联”高速公路网的重要组成部分。泰州大桥钢桥面首次成功实施了“下层浇筑+上层环氧”刚柔复合型铺装方案。自2012年12月通车以来,经过6年期运营,目前铺装总体使用状况良好。但随着使用年限的增长,铺装表面逐步出现了一些裂纹、层间空隙、罩面脱皮等病害,基本处于施工缺陷类病害集中爆发阶段,逐步步入中短期预防性养护及小修保养期。该时期是大桥桥面铺装管养承前启后的阶段,观测、养护的科学化颇为关键,因此本文重点对刚柔复合型钢桥面铺装使用性能评估及管养技术研究。


刚柔复合型铺装使用状况分析


典型病害类型


通过对泰州大桥钢桥面铺装的全面调查,并对主要病害类型进行了分类和梳理,结果显示,泰州大桥钢桥面铺装目前最主要存在以下两种病害类型:

图片

图1 泰州大桥钢桥面铺装结构(行车道)


(1)裂缝类

裂缝是钢桥面铺装最主要的病害之一,主要包括纵向裂缝、横向裂缝、局部集中微裂、施工缝开裂等。


①纵向裂缝

在正交异性板U肋顶面以及焊缝上方附近等位置易产生开裂,与钢箱梁结构和荷载有密切关系,是在车轮荷载的反复作用下发生疲劳破坏所致,主要出现在左、右两侧轮迹带位置,与U肋位置负弯矩区有一定的对应关系。


②施工缝开裂

施工缝位置属于铺装层的薄弱环节,尤其对于刚柔复合结构,上层环氧开裂后,当荷载作用在裂缝处,作用力无法扩散导致下层浇筑式所受压应力增大,产生较大塑性变形,导致裂缝修补材料承受较大剪切力,易产生二次开裂。


③修补二次开裂

泰州大桥铺装表面病害修补及时,现场调研发现主要有裂缝修补、砸痕修补及局部罩面修补,部分裂缝修补出现二次开裂,罩面处磨损,出现纵横交错的反射裂缝。


(2)层间空隙

2016年~2018年通过红外热成像对层间粘结性能进行检测,陆续发现42处层间存在空隙。总体上历年来层间空隙数量呈增长趋势,且近3年以每年平均14个层间空隙数量逐步增长,其中5处重复出现,其余30余处均已消失而在新位置产生新的层间空隙。对于刚柔复合型铺装层间空隙消失,分析其原因,可能是因为下层浇注式高温条件下具有一定的自愈合性能,可以与粘结层及上层环氧或钢板重新粘合,恢复层间粘结性能,使层间空隙消失。此外也可能出现层间空隙迁移现象。


图片

图2 泰州大桥2013~2018年层间空隙发展规律

图片

图3 2016~2017年层间空隙分布规律


路用性能检测分析


本文通过路面多功能车对全桥的技术状况进行了检测。


(1)平整度指数(IRI)

各车道2018年平整度指数相比2016年和2017年均有所增大,但六个车道的IRI平均值均小于2.3m/km,98%段落的平整度状况等级为“优”。整体来看,2018年常泰方向的平整度优于泰常方向。


图片

图4 各车道平整度(IRI)年度发展状况

图片

图5 2017年、2018年全桥平整度对比


(2)车辙深度(RD)

从2016~2018年车辙数据来看,铺装整体车辙状况较好,六个车道RD平均值均小于5mm,等级为优。整体来看,常泰方向车辙状况优于泰常方向。从全桥车辙统计规律可以看出,双向桥面车辙小于5mm的段落占总段落的98%。


图片

图6 各车道车辙(RD)年度发展状况

图片

图7 2017年、2018年全桥车辙对比


目前泰州大桥刚柔复合型铺装整体使用技术状况较好,未产生车辙、平整度等路用性能衰退问题,与其良好的交通荷载状况有着直接关系。


技术状况评估和养护决策体系


为了评估泰州大桥的桥面病害分布规律,掌握其使用性能衰减规律,科学指导养护决策,采用分段分区方法对桥面铺装破损状况进行精细化评估。本文采用网格化方法,由北向南方向将缆索依次编号,全桥共3个桥塔,北塔(BT)、中塔(ZT)、南塔(NT),共132根缆索(1s,2s…132s)。按行车方向由左到右,将车道分为车道1、车道2、车道3,将全桥划分为804(134×6)个单元区。


使用技术状况网格化评估


本文采用铺装破损状况指数(SDPCI)、裂缝率(PCR)、层间空隙率(PDR)、修补率指标(PMR)四种评价指标,对桥面使用状况进行分析,使桥面养护决策有更精确的依据。


图片

图8 2017年、2018年各车道破损状况指数对比


①通过对泰州大桥双向6车道桥面性能的详细调查检测,整桥、单幅、6个车道的 SDPCI评分均在90分以上,均处于“优”级状态。与2017年两方向铺装层的状况指数相比,2018年铺装总体技术状况评分低了0.1,总体变化不大。


②目前泰州大桥整体技术状况较好,裂缝影响面积仅12m2(裂缝影响宽度按0.2m算),裂缝率仅0.15%,整体处于“优”级状态。


③泰州大桥运营至今共发现层间空隙44处,总面积计算为0.44m2,层间空隙率PDR仅0.005%,处于“优”级状态,且层间连接状况评价指数SDPDR计算为99.83分,铺装整体层间粘结状况较好。


④目前泰州大桥整体技术状况良好,主要对两处火烧的地方进行了罩面修补,并对施工缝及局部微损伤进行了灌缝处治,未产生连续性结构性破损,修补率不到1%。


图片


分级养护决策体系


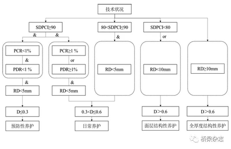
为准确掌握刚柔复合型铺装实际使用技术状况,支撑科学管养,结合多指标分级评估结果和剩余性能预测,建立铺装养护策略,结合各铺装层位典型病害特征,以及上层环氧典型开裂、坑槽,层间空隙、浇筑层车辙等病害状况,明确各阶段主要养护需求和目标,制定了相应的养护方案,包括预防性养护、日常养护、结构性养护等。同时基于实际累计荷载作用下的实桥铺装材料自身疲劳损伤状况,进一步校验和预测铺装未来使用性能衰变情况,支撑长期科学合理的养护决策。


图片

图9 基于铺装技术状况的养护决策


根据泰州大桥目前使用技术状况SDPCI>90分、裂缝率PCR<1%、层间空隙率PDR<1%、车辙深度DR<10mm,同时根据剩余寿命预测,目前铺装材料累计疲劳损伤<0.3,整体处于预防性养护阶段。


图片

分层分级预防性养护技术


本文针对泰州桥刚柔复合型铺装不同结构层位的特点,开发了相应的预防性养护技术以及小修保养技术。


浇筑层抗车辙性能提升技术


根据桥面系温度实时监测结果,夏季高温条件下,泰州桥铺装顶面极端高温达到71.8℃,浇筑层温度高达68.2℃,铺装层强度显著降低,在重载车辆反复作用下,上层环氧受力集中,易开裂;下层浇筑变软,易产生车辙。为了保证泰州大桥的使用性能,本文针对性开发了洒水控温技术与隔热罩面技术。


图片

图10 泰州桥铺装夏季晴天温度场分布情况


(1)洒水控温技术

根据铺装及气象实时温度,并结合未来温度和气候状况发展趋势,以及铺装极端温度到来时间,在极端温度到来之前,及时洒水降温。根据桥面系极端高温季节温度检测情况来看,晴好天气状况下,刚柔复合型铺装上层环氧和下层浇筑60℃以上的持续高温时段主要集中在11:30~15:30、13:00~16:00。因此,为控制温度上升至60℃以上,需从10:00开始进行洒水降温,按照每1~2h一次的频率进行洒水,其中12:00~14:00为铺装层极端高温出现时段,应适当加大洒水频率。


图片


(2)隔热罩面技术

树脂隔热罩面主要由三层树脂和多孔碎石组成,总厚度为3~5mm。


图片

图11 纤维增强树脂隔热罩面


①下层多孔微珠隔热树脂底层采用高渗透性树脂为载体,负载多孔微珠,利用空腔减小材料热传导系数,屏蔽热量传递,从而阻断一部分热量从上至下传递,从而抑制铺装温度的过快升高。


②多孔树脂碎石层则优选高强度多孔碎石骨料,利用碎石连通空腔,阻断热量传递,进一步提高罩面的隔热效果。


③热辐射型树脂面封层以耐候性树脂材料为载体,负载热辐射材料,通过波的辐射形式把物体吸收的热量,以一定的波长发射到空气中,从而起到降温效果。


环氧层抗裂性能提升技术


根据泰州大桥刚柔复合型结构受力特点,需提升刚柔复合型铺装在高应力应变条件下上层环氧的抗裂性能,同时综合考虑微裂缝的预防性处治和表面抗滑性能的提升需求,本文开发了强度恢复型热塑性树脂灌缝技术、纤维增强型树脂隔热罩面技术。


(1)强度恢复型热塑性树脂灌缝技术

本文针对性开发了渗透性树脂作为灌缝材料,具有渗透性高、强度高、变形能力强等优点,常温5~6h即可固化,可以很好满足“当日施工,当日开放交通”的要求。此外还开发了双组分胶枪高压灌缝设备,实现灌缝材料“及时配制与及时使用”,避免材料浪费;避免传统人工涂刷方式导致铺装表面受到污染,保证了表面的整洁。


图片


(2)纤维增强型树脂隔热罩面

纤维增强型树脂罩面由高强渗透性树脂封闭层和高强纤维树脂碎石增强层组成,总厚度为3~5mm。


图片

图12 纤维增强型树脂罩面


①纤维增强型树脂隔热罩面与环氧沥青铺装有较高的粘结强度,拉拔强度高达14MPa。


②下层渗透性树脂和上层耐候性树脂在常温23℃下的拉伸强度分别达到32.80MPa和16.84MPa,断裂延伸率分别达到49%和28%。都具有较高的抗裂强度和一定的变形能力。


③课题采用小梁弯曲试验评价碳纤维布薄层罩面的抗裂效果,并对比了普通薄层罩面,用碳纤维布薄层罩面试件对混合料的抗裂性能有了明显提高,弯拉强度提高了2~4倍,极限破坏应变提升2~3倍,其低温-10℃小梁弯曲应变可达到30000με以上,弯曲破坏强度可达到72MPa。


④施工和易性好,树脂固化时间短,可当天开放交通。


图片

图13 纤维增强型树脂抗裂罩面小梁增强试验结果


层间粘结性能恢复技术


泰州大桥近期调研结果显示,铺装上层环氧与下层浇筑层存在层间空隙病害,且有进一步发展增多的趋势。针对层间空隙,本文开发了钻孔注浆养护技术,通过铺装层打孔并灌入树脂材料,将环氧层重新与浇筑层整体协同工作,相应研发了高性能树脂注浆材料,具有粘结强度高、潮湿环境下粘结性能好的优点。其基本技术指标见表5:


图片

本文依托泰州大桥,对刚柔复型铺装使用状况以及性能评估与管养技术进行了研究,主要得到以下结论:


目前泰州大桥主要病害为裂缝类和层间空隙,路面整体技术状况较好,未产生车辙、平整度等路用性能衰退问题。


课题通过网格化方法对泰州桥使用技术状况进行了精细化评估,目前泰州桥整体技术状况较好,处于预防性养护阶段以及小修保养的关键时期,并形成了分级养护决策体系。


针对提升浇筑层抗车辙性能,形成了洒水控温技术与隔热罩面技术;针对提升环氧层抗裂性能,形成了强度恢复型热塑性树脂灌缝技术、纤维增强型树脂隔热罩面技术;针对提升层间粘结性能形成了钻孔注浆养护技术。

内容源于网络,旨在分享,如有侵权,请联系删除


相关资料推荐:

环氧沥青钢桥面铺装施工方案

https://ziliao.co188.com/p63413382.html


知识点:钢桥面的“下层浇筑+上层环氧”刚柔复合型铺装


全部回复(7 )

只看楼主 我来说两句
  • 内德维德
    内德维德 沙发

    不错的资料,谢谢分享。。。。

    2023-02-06 08:48:06

    回复 举报
    赞同0
  • 王铜
    王铜 板凳

    为准确掌握刚柔复合型铺装实际使用技术状况,支撑科学管养,结合多指标分级评估结果和剩余性能预测,建立铺装养护策略,结合各铺装层位典型病害特征,以及上层环氧典型开裂、坑槽,层间空隙、浇筑层车辙等病害状况,明确各阶段主要养护需求和目标,制定了相应的养护方案,包括预防性养护、日常养护、结构性养护等。同时基于实际累计荷载作用下的实桥铺装材料自身疲劳损伤状况,进一步校验和预测铺装未来使用性能衰变情况,支撑长期科学合理的养护决策

    2023-02-06 07:47:06

    回复 举报
    赞同0
加载更多
这个家伙什么也没有留下。。。

桥梁工程

返回版块

19.44 万条内容 · 655 人订阅

猜你喜欢

阅读下一篇

突破节段梁预制拼装技术瓶颈

大尺寸箱梁节段的运输和吊装难题,制约着节段梁技术在宽幅桥梁中的应用,是限制预制拼装技术在市政桥梁领域推广的关键问题之一。深圳海滨大道(机场段)工程,提出大悬臂节段预制复合截面脊骨梁的概念,将宽桥幅、大挑臂的箱梁断面分解为 “核心段箱梁”和“预制挑臂”两部分。分析该类桥梁的结构体系、合理构造以及关键连接,并对设计标准化、施工快速化等方面进行了研究。

回帖成功

经验值 +10