a) 存油弯的设置目的
当系统的配管存在较大的落差时,为了防止冷冻机油无法有效回到压缩机,影响压缩机的使用寿命,因此在竖直管路上必须设置存油弯。
当主机高于末端(蒸发器)时,就是主机在上,内机在下,蒸发器到主吸汽管之间有一段上升立管,因为冷冻油在蒸发器中不会蒸发汽化故积存在底部,当蒸发器底部积存冷冻油较多时就会堵塞吸汽管。如果蒸发器底部设置了回油弯后,油积存在这个弯头里面的存量不会太多,只要该弯头即将被堵塞,两端的压差足以将弯头内有限的冷冻油“泵”出来,直至顶端的水平吸汽管,然后顺坡被压缩机吸回。如果担心上升立管太长,不足以将油泵到顶端,就应考虑上升段吸汽管每隔一定高差距离(比如8米)就设置一个回油弯,使冷冻油分段逐步地返回主机。
去年曾经有人咨询过一套三菱重工海尔多联机,在空调使用季节,更换了8个压缩机,用户都受不了了,为你什么更换这么多压缩机呢?他们咨询的目的就是要找到原因,从源头杜绝这种情况的继续发生。询问现场安装情况得知,外机在房顶,内机在下,内外机落差48米,达到了厂家允许的极限,管路上没有一个回油弯;后来给出的解决方案就是:
1、更换全部压缩机,清理系统的油污;
2、在路管路上增加回油弯,每六米增加一个回油弯;
3、在室外机往下翻女儿墙的地方做一个“止回湾”;
4、恢复系统,重新抽真空,定量不加制冷剂;
后来询问他们,说是压缩机不再频繁损坏,已经运行一个夏天没有问题了。
b) 存油弯设置的原则
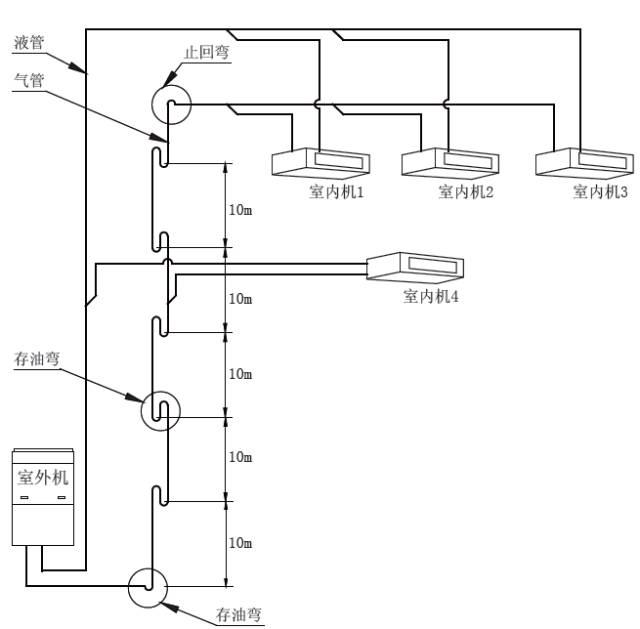
当系统室内外机之间存在落差时,气管的立管部分从下往上每隔10m 处安装一个存油弯。
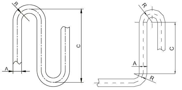
存油弯制作采用两个“U”形弯或者一个“O”形弯,高度为管径的3 ~ 5 倍。
c) 存油弯安装注意事项
存油弯可设置成“U”型或者“O”型。
在气管的立管从下往上每隔10m 处安装一个回油弯,同时在立管的最低处和最高处加设存油弯和止回弯。
d) 室外机高于室内机示意图如下:

e) 室内机高于室外机示意图如下:

f)、 回油弯、止回弯制作要求

为避免弯管过程损坏管路,回油弯、止回弯尺寸参考下表。

看过文章之后,是不是发现回油弯是个很有必要的管件呢?以后再安装就不会漠视它的存在必要性。
本文来源于网络,如有侵权,请联系删除
知识点:多联机安装时为什么要设置存油弯和回油弯?
相关推荐:
0人已收藏
0人已打赏
免费0人已点赞
分享
制冷技术
返回版块14.67 万条内容 · 883 人订阅
阅读下一篇
二管制、四管制控制区别1.二管制:供冷供热合用同一管路系统。 2.四管制:供冷、供热的供、回水管分开设置。 四管制为热水供回水,冷水供回水分别设置。二管制为冷热水共用。四管制风机盘管有热盘管和冷盘管。二管制风机盘管只有共用盘管。 3.二管制控制方案与四管制控制方案的区别 二管制控制方案是由温控器与三线制电动阀组合控制,由温控器设定温度与测量温度之间的对比来给电动阀开/关阀信号。 而四管制控制方案由温控器与冷水阀与热水阀组合控制,制冷模式下,热水阀处于关闭状态,不受控制,除非温控器把模式转换成制热模式时热水阀才受控;相反制热模式下,冷水阀处于关闭状态,不受控制,除非温控器把工作模式调换成制冷模式时冷水阀才受控。当然此控制方案只能使用二管制电动阀。
回帖成功
经验值 +10
全部回复(0 )
只看楼主 我来说两句抢沙发