
设计互通立交的过程中,必须将被交路、匝道、主线三者之间的关系解决好,努力使平、纵面线形舒顺,进行合理的布置横断面,使其能够协调的配合。根据起终点、构造物、地物、地形等各个因素进行立交的平面线位的确定,设计纵断面的线形,从而使立交有一个美观的整体造型,并且使工程造价减少,保证行车安全。

设计之前先了解十字路口车流
4个直行方向、8个转弯方向
共计12个方向的往来车流

涡轮式立交

控制车辆选型--采用的《汽车、挂车及汽车列车外廓尺寸、轴荷及质量限值》(GB 1589-2016)与《公路立体交叉设计细则》(JTGT D21-2014)中采用的《道路车辆外廓尺寸、轴荷及质量限值》(GB 1589-2004)主要变化的几个方面:
一是取消了车辆长度限值与最大总质量或轴数挂钩的限制,加宽了车辆宽度限值;
二是增加了中置轴车辆运输挂车及列车、中置轴货运挂车及列车、长头牵引铰接列车等新车型;
三是增加了牵引车、半挂车匹配运输相关参数的规定;
四是明确了外廓尺寸测量要求。

匝道路面宽度设计的通行条件应符合下表规定:

当匝道硬路肩有车辆紧急停靠时,匝道路面宽度设计的通行条件应符合下表规定:
根据《公路立体交叉设计细则》(JTG/T D21-2014)中规定:
(1)单向单车道匝道:标准横断面宽度为9.0m,其中行车道3.5m,左侧硬路肩1.0m(含左侧路缘带0.5m),右侧硬路肩3.0m(含右侧路缘带0.5m),土路肩2×0.75m。
(2)对向分隔式双车道匝道:标准横断面宽度16.5m,其中中间带2.0m (含左侧路缘带2×0.5m,中央分隔带1.0m),行车道宽2×3.5m,硬路肩2×3.0m (含右侧路缘带2×0.5m),土路肩2×0.75m。

匝道圆曲线的路面加宽值应根据路面标准断面宽度、通行条件、设计车辆外轮廓尺寸(GB1589-2016)以及圆曲线半径等确定。匝道圆曲线的路面加宽值如下图所示:

注:IV型匝道的圆曲线半径为中央分隔带中心线半径,其余为车道中心线半径。表中按匝道标准断面的3.5m车道宽度计算加宽值。
匝道加宽横断面布置方案:
?单向单车道匝道路基横断面加宽时,将左侧硬路肩由1.0m加宽至1.5m,行车道由3.5m加宽至4.5m,加宽后单向单车道匝道路基宽度为10.5m,如图a)。

?对向分隔式双车道匝道路基横断面加宽时,左侧增加0.5m的硬路肩,行车道由3.5m加宽至4.5m,加宽后对向分隔式双车道匝道路基宽度为19.5m,如图b)。

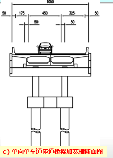
?单向单车道匝道桥梁横断面加宽时,将左侧硬路肩由1.25m加宽至1.75m,行车道由3.5m加宽至4.5m,右侧硬路肩为3.25m,两侧防撞护栏各0.5m,加宽后单向单车道匝道桥梁断面宽度为10.5m,如图c)。

?对向分隔式双车道匝道桥梁横断面加宽时,左侧增加0.5m的硬路肩,行车道由3.5m加宽至4.5m,右侧硬路肩为3.25m,中央分隔带防撞护栏1.0m,两侧防撞护栏各0.5m,加宽后对向分隔式双车道匝道路基宽度为19.5m,如图d)。

互通内匝道加宽示意图:
?喇叭型互通,对单向单车道匝道和对向分隔式双车道匝道分别进行加宽设计。

?枢纽式互通,对单向单车道匝道进行加宽设计。

匝道断面过渡设计:
?单车道出口段匝道过渡
单车道出口段匝道,由标准横断面过渡为加宽横断面时,应在匝道范围内完成,即分流鼻前仍采用标准横断面,自分流鼻端开始通过线性过渡方式由标准横断面过渡为加宽横断面,过渡段长度不宜小于30m。


?单车道入口段匝道过渡
单车道入口段匝道,由加宽横断面过渡为标准横断面时,应在匝道范围内完成,即在合流鼻端前通过线性过渡方式由加宽横断面过渡为标准横断面,合流鼻端后仍采用标准横断面,过渡段长度不宜小于30m。


纬地互通设计步骤:
1.调出数模版的智能布线功能
打开纬地-设计-智能布线


2.绘制辅助线

3.用纬地接线
选工具栏的第一个,鼠标移动上去会显示“曲线相接”。
根据命令提示,依次选择23,31曲线,完成接线。

4.调整接线数据



5.生成纬地数据文件

6.保存纬地数据文件


7.调整保存纬地数据文件
最后还需要对保存的纬地文件进行修改,因为,如下图,用这个纬地文件生成的路线是这样的:



内容源于网络,旨在分享,如有侵权,请联系删除
相关资料推荐:
https://ziliao.co188.com/d62772114.html
知识点:互通立交匝道断面设计指导
0人已收藏
0人已打赏
免费6人已点赞
分享
道路工程
返回版块15.09 万条内容 · 689 人订阅
阅读下一篇
这就是你想要的海绵城市道路设计!!!一、海绵城市道路系统规划与设计系框架 二、传统城市道路与海绵城市道路区别 三、“海绵城市”理念对市政道路设计的影响 3.1路面结构层设计 传统的路面结构设计,一般会尽量阻止雨水的下渗,防止雨水入渗对路面结构层造成不利影响,降低路面强度,影响道路安全。 而现代“海绵城市”的理念,是想通过各种渠道来暂时储蓄雨水,起到雨洪削峰的效果,然后再通过各种措施来充分利用储蓄的雨水。
回帖成功
经验值 +10
全部回复(8 )
只看楼主 我来说两句-
采声科技
沙发
2022-11-15 14:11:15
赞同0
-
加倍努力
板凳
2022-11-14 15:13:14
赞同0
加载更多互通立交匝道断面设计指导,谢谢楼主分享好资料谢谢啦。
回复 举报
学习了互通立交匝道断面设计指导,多谢了。
回复 举报