

(2)当管涵设计为混凝土或砌体基础时,基础上面应设混凝土管座,其顶部弧形面应与管身紧密贴合,使管节均匀受力。


(3)当管涵为无混凝土(或砌体)基础、管体直接设置在天然地基上时,应按照设计要求将管底土层夯压密实,并做成与管身弧度密贴的弧形管座,安装管节时应注意保持完整。管底土层承载力不符合设计要求时,应按规范要求进行处理、加固。
(4)管涵的沉降缝应设在管节接缝处。
(5)管涵进出水口的沟床应整理直顺,与上下游导流排水系统连接顺畅、稳固。

(3)挖方区的涵洞基槽开挖应符合设计要求,且边坡稳定;填方区的涵洞应在填土至涵洞基底高程后,及时进行结构施工
(4)遇有地下水时,应先将地下水降至基底以下500mm方可施工,且降水应连续进行直至工程完成到地下水位500mm以上且具有抗浮及防渗漏能力方可停止降水。
(6)拱圈和拱上端墙应由两侧向中间同时、对称施工。
(7)涵洞两侧的回填土,应在主结构防水层的保护层完成,且保护层砌筑砂浆强度达到3MPa后方可进行。回填时,两侧应对称进行,高差不宜超过300mm。

(9)为涵洞服务的地下管线,应与主体结构同步配合进行。






术语:顶铁(镐)、顶柱、后背、滑板、刃角


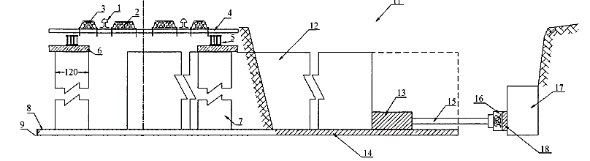
现场调查→工程降水→工作坑开挖→后背制作→滑板制作→铺设润滑隔离层→箱涵制作→顶进设备安装→既有线加固→箱涵试顶进→吃土顶进→监控量测→箱体就位→拆除加固设施→拆除后背及顶进设备→工作坑恢复。
(1)箱涵主体结构混凝土强度必须达到设计强度,防水层级保护层按设计完成。
(2)顶进作业面包括路基下地下水位已降至基底下500mm以下,并宜避开雨期施工,若在雨期施工,必须做好防洪及防雨排水工作。
(3)后背施工、线路加固达到施工方案要求;顶进设备及施工机具符合要求。
(4)顶进设备液压系统安装及预顶试验结果符合要求。
(5)工作坑内与顶进无关人员、材料、物品及设施撤出现场。
(6)所穿越的线路管理部门的配合人员、抢修设备、通信器材准备完毕。
(1)启动时,现场必须有主管施工技术人员专人统一指挥。
(2)液压泵站应空转一段时间,检查系统、电源、仪表无异常情况后试顶。
(3)液压千斤顶顶紧后(顶力在0.1倍结构自重),应暂停加压,检查顶进设备、后背和各部位,无异常时可分级加压试顶。
(4)每当油压升高5~10MPa时,需停泵观察,应严密监控顶镐、顶柱、后背、滑板、箱涵结构等部位的变形情况,如发现异常情况,立即停止顶进;找出原因采取措施解决后方可重新加压顶进。
(5)当顶力达到0.8倍结构自重时箱涵未启动,应立即停止顶进;找出原因采取措施解决后方可重新加压顶进。
(6)箱涵启动后,应立即检查后背、工作坑周围土体稳定情况,无异常情况,方可继续顶进。
(1)根据箱涵的净空尺寸、土质情况,可采取人工挖土或机械挖土。一般宜选用小型反铲按设计坡度开挖,每次开挖进尺0.4~0.8m,配装载机或直接用挖掘机装汽车出土。顶板切土,侧墙刃脚切土及底板前清土须由人工配合。挖土顶进应三班连续作业,不得间断。
(2)两侧应欠挖50mm,钢刃脚切土顶进。当属斜交涵时,前端锐角一侧清土困难应优先开挖。如设有中刃脚时应紧切土前进,使上下两层隔开,不得挖通漏天,平台上不得积存土料。

(3)列车通过时严禁继续挖土,人员应撤离开挖面。当挖土或顶进过程中发生塌方,影响行车安全时,应迅速组织抢修加固,做出有效防护。
(4)挖土工作应与观测人员密切配合,随时根据箱涵顶进轴线和高程偏差,采取纠偏措施。
(1)每次顶进应检查液压系统、顶柱(铁)安装和后背变化情况等。
(2)挖运土方与顶进作业循环交替进行。每前进一顶程,即应切换油路,并将顶进千斤顶活塞回复原位;按顶进长度补放小顶铁,更换长顶铁,安装横梁。
(3)箱涵身每前进一顶程,应观测轴线和高程,发现偏差及时纠正。
(4)箱涵吃土顶进前,应及时调整好箱涵的轴线和高程。在铁路路基下吃土顶进,不宜对箱涵做较大的轴线、高程调整动作。
(1)箱涵顶进前,应对箱涵原始(预制)位置的里程、轴线及高程测定原始数据并记录。顶进过程中,每一顶程要观测并记录各观测点左、右偏差值;高程偏差值和顶程及总进尺。观测结果要及时报告现场指挥人员,用于控制和校正。
(2)箱涵自启动起,对顶进全过程的每一个顶程都应详细记录千斤顶开动数量、位置,油泵压力表读数、总顶力及着力点。如出现异常应立即停止顶进,检查分析原因,采取措施处理后方可继续顶进。
(3)箱涵顶进过程中,每天应定时观测箱涵底板上设置的观测标钉高程,计算相对高差。
(4)顶进过程中要定期观测箱涵裂缝及开展情况,重点监测底板、顶板、中边墙,中继间牛腿或剪力铰和顶板前、后悬臂板,发现问题应及时研究采取措施。
(1)箱涵顶进应尽可能避开雨期。需在雨期施工时,应在汛期之前对拟穿越的路基、工作坑边坡等采取切实有效的防护措施。
(2)雨期施工时应做好地面排水,工作坑周边应采取挡水围堰、排水截水沟等防止地面水流入工作坑的技术措施 。
(3)雨期施工开挖工作坑(槽)时,应注意保持边坡稳定。必要时可适 当放缓边坡坡度或设置支撑;并经常对边坡、支撑进行检查,发现问题要及时处理。
(4)冬雨期现浇箱涵场地上空宜搭设固定或活动的作业棚,以免受天气影响。
(1)小型箱涵,可采用调轨梁,或轨束梁的加固法。

(2)大型即跨径较大的箱涵,可用横梁加盖、纵横梁加固、工字轨束梁或钢板脱壳法。

(3)在土质条件差、地基承载力低、开挖面土壤含水量高,铁路列车不允许限速的情况下,可采用低高度施工便梁方法。


(1)限制铁路列车通过施工区域的速度,限制或疏导路面交通。
(2)设置施工警戒区域护栏和警示装置,设置专人值守。
(3)加强施工过程的地面、地上构筑物、地下管线的安全监测,及时反馈、指导施工。
(2)应按规定设立施工现场围挡,有明显的警示标志,隔离施工现场和社会活动区,实行封闭管理,严禁非施工人员入内。
(3)在列车运行间隙或避开交通高峰期开挖和顶进;列车通过时,严禁挖土作业,人员应撤离开挖面。
(4)箱涵顶进过程中,任何人不得在顶铁、顶柱布置区内停留。
(5)箱涵顶进过程中,当液压系统发生故障时,严禁在工作状态下检查和调整。
(6)现场施工必须设专人统一指挥和调度。
推荐资料(点击文字跳转):
知识点:管涵和箱涵的施工
0人已收藏
0人已打赏
免费1人已点赞
分享
建筑施工
返回版块66.02 万条内容 · 1639 人订阅
回帖成功
经验值 +10
全部回复(1 )
只看楼主 我来说两句 抢板凳资料还不错,能分享就是最大贡献
回复 举报