1 普通钢筋混凝土连续箱梁


2 常规预应力混凝土续箱梁


3 顶推法混凝土连续箱梁


4 钢箱连续梁



5 大跨度预应力混凝土连续梁


1 连续刚构桥的适用范围
PC 连续刚构桥主跨跨径超过200m 后,不仅主梁因梁高较大导致恒载过大、受力不好,而且经济指标也不好。主跨超过200m 时,PC 部分斜拉桥(也称矮塔斜拉桥)优于连续刚构桥,因为其主梁根部高度约为连续刚构桥主梁根部高度的一半,桥梁景观也较好。主跨在200m~300m 之间,应首选部分斜拉桥。即使跨径在150m~200m 之间时,也应对这两种桥型进行比较,择优选用。以上系指按三跨对称布置的连续刚构桥或部分斜拉桥。当为两跨等跨布置时,则成为单T 刚构桥或独塔部分斜拉桥。单T 刚构桥的跨径一般不宜大于130m;两跨部分斜拉桥适用跨径为100m~180m。

2 连续刚构与连续梁的混合体系
国内已建成的连续刚构桥的连续总长度已突破1000m。所以,连续刚构桥的连续长度可以达到1000m。但是,连续长度过大,靠两边的几个桥墩因远离温度变形0 点,将产生较大的水平位移,桥墩受力很不利。国内外一些较长的大跨度梁桥,采用中间区段为连续刚构,两边区段为连续梁的混合体系,结构受
力合理,称为刚构—连续梁。缺点是连续梁部分要设置大吨位支座,使用期需进行更换。

3 墩高对连续刚构桥的影响
连续刚构桥为高次超静定结构,温度与砼收缩、徐变将产生次弯矩。当主墩较矮或抗推刚度较大时,对纵向地震影响不利,在墩顶还会出现较大的拉应力。
需要利用桥墩较小的抗推刚度(双壁墩bh3E/(2L3))来降低上述次弯矩。一般情况下,墩身高度宜大于主跨跨径的1/10,否则应采取措施降低次弯矩。例如:
1.1 在满足抗弯和稳定的前提下,减小墩身顺桥向厚度;
1.2 采用群桩基础,计入桩基柔度对墩身的影响;
1.3 利用边跨合拢前后的刚度变化对主梁进行加卸载,以改善墩身的受力;
1.4 将中跨底板预应力长索分三段锚固。其中两段在中跨合拢前锚固,一段在合拢后锚固,以减小底板束产生的次弯矩和砼收缩、徐变内力;
1.5 对于个别很矮的桥墩,不用墩梁固结,采用墩上设置活动支座。

4 孔跨布置
4.1 三跨连续刚构
设中跨为L,边跨为L1 及L2。L1= L2 时为对称布置,L1≠L2 时为非对称布置。正常情况下,一般可取L1=/L(及L2 /L)=0.52~0.60 较为合适。边跨大或小各有利弊,分述如下。
4.1.1 边跨较小的优点
⑴ 边跨现浇段长度较短,对施工有利。当边墩台较高时,可用导梁、托架或挂篮前推作为支架,现浇段可以不用落地支架。
⑵ 边跨主梁端附近主拉应力较小,对防止箱梁腹板出现斜裂缝有利。
⑶ 边跨满布活载,中跨空载时,对中跨受力有利。
⑷ 当中跨长度一定时,边跨较小,则主桥长度较短。
4.1.2 边跨较小的缺点
⑴ 边跨过小时,如边支承出现负反力,需采用拉压式支座或在边跨主梁内加配重的措施,边墩台的受力不好。
⑵ 边跨较小时,主墩靠岸一侧的单柱轴力较小,另一单柱轴力较大。故外立柱的偏心距大,将产生较大拉应力。但可采取下述措施克服这个缺点:
①边跨合拢前,在边跨大悬臂端加压重,边跨合拢后卸载。结构分析表明,卸载后,外立柱仍可获得因加压增加压力的90%。
②中跨合拢前顶推主梁,使主墩向岸方向产生水平位移,然后锁定中跨合拢段,再浇边跨和中跨的合拢段砼。顶推力应根据计算确定。
③改变中跨底板纵向预应力钢束的张拉程序。一般是在中跨合拢后才张拉中跨跨中附近的底板钢束,这时将引起墩身弯矩,此弯矩与恒载墩身弯矩方向相同,对墩身受力不利。改为将部分底板钢束在中跨合拢前张拉,可减小墩身的弯矩。
边跨较大时的优缺点,与上述边跨较小的优缺点相反。
4.2 两跨T 构
两跨T 构多采用等跨布置,对结构受力有利,也方便进行对称施工。
有时受地形限制,也可以采用不等跨布置。小跨与大跨跨径之比,不宜过小,否则对桥墩受力不利。一般宜大于0.8。例如贵州省崇遵公路两岔河大桥,由于某种特殊原因,跨径为132m+126m。小跨与大跨之比0.955。0 号梁段长16m 在托架上现浇,2×105.5m 用挂篮悬浇施工,先合拢小跨端部12.5m 梁段,然后再将大跨悬浇一个4.5m 的梁段,最后浇筑大跨合拢段(亦为现浇段)长14m。
两跨T 构,由于悬臂浇筑施工过程,悬臂长度大,主梁根部负弯矩大,导致主梁梁高较大。在三跨正常布孔其中跨跨径与两跨T 构跨径相同的情况下,后者主梁根部高度约为前者的1.6 倍。所以,如果桥长相等,后者往往造价较高。对于两跨T 构方案,要注意进行经济技术分析。
4.3 多跨连续刚构
四跨或四跨以上,可以对称布置,也可以非对称布置。中间1 跨或几跨为主跨,跨径相等。边跨跨径一般逐渐减小。相邻两跨如跨径不等时,小跨与大跨之比,正常情况下不宜小于0.52。上限则比较灵活,有的桥达到0.8。
以下是几
座四跨或四跨以上连续刚构的孔跨情况,可供参考。
广东洛溪大桥:65m+125m+180m+110m,连续长度480m;
贵阳小关大桥:69m+125m+160m+160m+112m,连续长度626m;
福建石崆山高架桥:60m+115m+155m+115m+115m+115m+65m,连续长度740m。
四跨或四跨以上连续刚构的一个重要特点就是:大跨与小跨对应的悬臂施工T 构的长度不相等,出现大T 和小T,设计和施工都更复杂一些。
4.4 小边跨连续刚构
有时受地形或其他条件限制,可能出现很小的边跨,其跨径与相邻较大跨径之比小于0.5。对桥墩和主梁受力不利,设计有下述两种处理措施:
4.4.1 当小边跨梁端的负反力较大,难以消除时,采用基础锚碇的方法平衡负反力。例如:
四川省泸州长江二桥,孔跨布置为145m+252m+54.75m,小边跨箱梁通过5.25m 长的合拢段与桥台刚性连接。按锚碇桥台设计,布置18 根方形锚桩,通过设在锚桩内的竖向预应力束将桥台可靠地锚于基岩中。桥台长26m,与箱梁结构一致,两端加隔板,箱内用浆砌石填心,小边跨的纵向预应力束锚于台
尾。桥台为三向预应力结构。

4.4.2 当小边跨跨径不是很小时,采用大、小T 和调整边跨构造尺寸的方法协调恒载分布,以改善边主墩的受力。
5 主梁构造与尺寸
5.1 箱梁高度
连续刚构桥几乎都采用变高度箱型断面,故仅对箱型断面进行论述。
5.1.1 三跨对称布置时的主梁高度
⑴ 主梁根部高度
早期设计的连续刚构桥,主梁根部高度多为L/18~L/20(L 为中跨跨径,下同)。

近年连续刚构桥出现了一些病害,主要是箱梁腹板产生斜裂缝和跨中挠度过大,箱梁根部高度有增大的趋势,大约在L/16~L/17 之间。
⑵ 主梁跨中高度
主梁跨中高度大约在L/45~L/60 之间。当跨径较小时,从构造和方便施工考虑,跨中梁高一般不宜小于2m。
5.1.2 两跨T 构的主梁高度
国内外已建成的两跨T 构桥很少。主要原因是主梁高度大,不经济。
5.1.3 孔跨非对称布置时的主梁高度
孔跨非对称布置时,一般情况下会出大、小T。
大、小T 的根部梁高应按结构计算控制。作为初步拟定尺寸,下述两点可供参考:
⑴ 大T 的根部梁高约为大T 边跨跨径的1/10;
⑵ 小T 的根部梁高约为(2h-h1),式中h=L/16~L/17;L 为中跨跨径,h1为大T 根部梁高。
中跨最小梁高约为中跨跨径的1/40。
5.1.4 主梁高度变化曲线
主梁高度的变化曲线,常用的有三种:按二次抛物线变化,按正弦曲线变化和按半立方抛物线变化。

图2 表示主梁从根部高度ha 变化到跨中高度hb。几种变化曲线主梁高度hj 的计算公式如下:

早期的设计多采用二次抛物线变化。近期由于多座连续刚构桥产生腹板斜裂缝,且常出现在L/4 附近,为了增大该区段的主梁高度,采用半立方抛物线变化有利于减小主拉应力。但有的论文则认为,从增大底板下缘曲率半径以减小预应力束径向力考虑,建议采用二次抛物线。
5.2 箱梁顶、底板和腹板厚度
5.2.1 顶板厚度
根据箱的宽度和是否布置横向预应力筋,顶板跨中厚度在25cm~35cm 之间变化。一般情况下不小于25cm。0 号梁段和边跨现浇段梁端的顶板应加厚,一般加厚至50~70cm。顶板两侧的根部要布置承托,其尺寸应根据顶板预应力钢束构造要求确定。
箱梁两侧的悬臂板,其端部厚度一般为15~20cm。当布置横向预应力筋时,多用20cm,根部设置承托,尺寸由顶板钢束构造要求确定。
边跨梁端因设置伸缩缝,顶板厚度(含两侧悬臂板)要满足预埋锚固钢筋的要求。
5.2.2 底板厚度
跨中底板厚度一般取25~35cm。主梁根部底板厚度一般取根部梁高的1/8~1/10。0 号梁段底板应加厚,一般取根部梁高的1/6~1/7。边跨现浇段梁端的底板厚度应按端横隔板的构造要求确定。
从箱梁根部至跨中,底板厚度应采用渐变,其变化曲线多采用半立方抛物线或二次抛物线。
5.2.3 腹板厚度
腹板厚度主要取决于布置预应力筋和浇注砼必要的间隙等构造要求。从箱梁根部至跨中,根据跨径的大小,可分为不同厚度的二段或三段。一般在80~40cm之间取值。当腹板内设置下弯钢束和竖向预应力筋时,腹板厚度按构造要求确定。
沿纵向腹板厚度不宜突变,可安排在一个梁段内完成渐变。
0 号梁段的腹板要加厚,根据跨径的大小,一般在80cm~140cm 之间取值。边跨主梁端部附近应结合端横隔板设计,加大腹板厚度,并设置一渐变段与一般梁段的腹板厚度衔接。
5.3 箱梁横隔板
通常的做法是,在0 号梁段对应于主墩墩柱位置布置横隔板,其厚度与桥墩两壁的厚度一致;另外还在边跨支承处布置端横隔板,其厚度可根据边跨跨径的大小,在0.8~2m 之间取值。其余梁段不设横隔板。
近年有的连续刚构桥曾发生底板崩裂的事故。当箱梁较宽时,为了减小底板钢束径向力的不利影响,有的设计在主梁跨中布置横隔板。
当边跨跨径较大,箱梁较窄时,为了提高梁端支承的抗扭能力,必要时可将端横隔板延伸至箱外(至腹板的外侧),梁端支承相应移至腹板之外。
所有横隔板都应设孔洞,以保证箱内通道全桥贯通。孔洞大小,应方便管养人员及小型机具通过。
6 主墩构造与尺寸
6.1 设计原则
在满足抗弯、抗压强度和压杆稳定的前提下,桥墩应具有较小的抗推刚度,使温度、砼收缩、徐变和顺桥向地震的不利影响降至最低限度。
6.2 墩身结构型式及尺寸



6.3 墩身设计参数的优化
墩身设计参数为双柱的中距S=2e 和壁厚b(参阅图3),影响S 和b 的主要因素是主跨跨径L 和墩高H。三滩黄河大桥(78+140+78m 连续刚构)设计中,采用有限元计算和参数回归分析,得到以下初步结论:
⑴ 随着b 值的减小,桥墩整体稳定安全系数λ减小,桥墩所受弯矩、轴力显著减小;
⑵ 随着s 值的减小,桥墩整体稳定安全系数λ减小,桥墩所受弯矩减小,桥墩所受轴力增大;反之亦然。

6.4 部分连续刚构桥主墩S 值和b 值

6.5 桥墩防撞设计
位于通航河流或有漂流物的河流上的桥墩,设计时应考虑船舶或漂流物的撞击作用。撞击作用标准值及计算方法按《公路桥涵设计通用规范》(JTG D60-2004)第4.4.2 条执行。
6.6 桥墩抗渗设计
位于水中或变动水位区域的桥墩应进行抗渗设计。应按《公路钢筋砼及预应力砼桥涵设计规范》(JTG D62-2004)第1.0.10 条的规定,根据最大作用水头与墩身砼壁厚之比确定设计采用的抗渗等级。设计应对抗渗砼的配合比及主要技术措施提出要求。
7 其他方面
7.1 箱梁的管养、检修通道
箱梁内应设置贯通全桥的管养、检修通道。进出口尽可能布置在边跨梁端的桥台(或桥墩)上,一般情况下不宜布置在箱梁的底板上。箱内所有的横隔板要设置孔洞,其尺寸至少要满足人员通行。
7.2 箱内泄水孔
为了排除施工期箱内雨水,可在箱梁最低处(根部底板上)布置2~4 个直径为100mm~120mm 的泄水管,竖向贯穿底板。
7.3 箱内通气孔
为了降低箱内外的温差,应在每一梁段的底板或腹板上设置6~8 个直径为60mm~80mm 的通气孔。
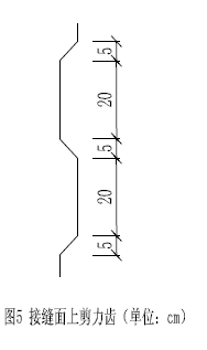
7.4 梁段结合面上设剪力齿
悬浇梁段之间的施工缝,为箱梁的薄弱断面,影响主梁的整体性,为了提高梁段接缝传递剪力的能力,应在已浇梁段的端面设置剪力齿。

7.5 预留更换支座的空间
支座使用寿命远小于箱梁,使用期更换支座是不可避免的。布置支座的墩台,设计时要预留更换支座操作的空间。
相关资料推荐:
https://ziliao.co188.com/d63531575.html
知识点:连续梁桥设计指标及预应力连续刚构桥主要尺寸
0人已收藏
0人已打赏
免费3人已点赞
分享
桥梁工程
返回版块19.44 万条内容 · 655 人订阅
阅读下一篇
预应力连续梁桥的设计尺寸拟定连续梁结构总体设计主要包括桥梁跨径分配、主梁截面形式的拟定以及梁高等方面的内容。 跨径布置 目前,设计工程师认为预应力混凝土连续梁桥的最大理论跨度为 250~300m,经济跨度为 100~240m。
回帖成功
经验值 +10
全部回复(0 )
只看楼主 我来说两句抢沙发