土木在线论坛 \ 道路桥梁 \ 桥梁工程 \ SiPESC桥梁结构钢混结合段节段局部分析

SiPESC桥梁结构钢混结合段节段局部分析

发布于:2022-09-05 17:21:05 来自:道路桥梁/桥梁工程 [复制转发]

有限元模型


§1 模型尺寸

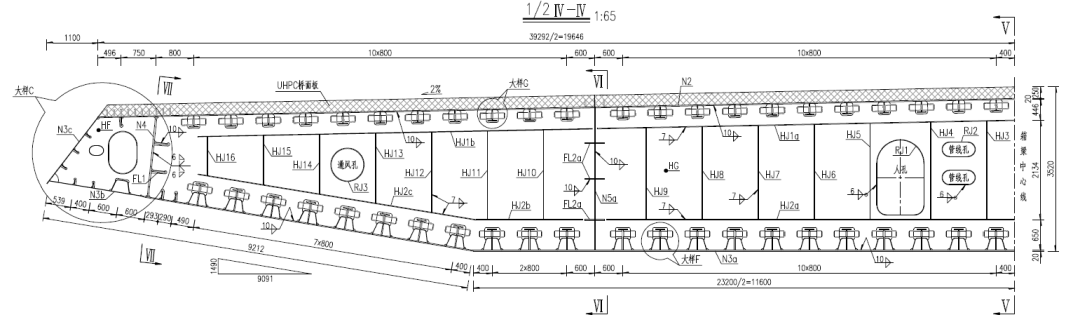
模型尺寸为某特大桥主桥钢混结合段一般构造图,部分主要尺寸如下图所示。

图片

钢混结合段横断面图

图片
图片

钢混结合段剖面图


§2 计算模型及边界

本模型计算软件为SiPESC和ANSYS平行计算。主梁节段有限元模型如下图所示。节段模型主体部分采用shell63单元模拟,梁端索梁锚箱通过rbe2连接锚箱周边节点来模拟连接关系。

节段模型总共包含274080个单元,249502个节点。节段有限元模型各个部分的细节如下图所示。

图片

节段整体有限元模型

图片

节段顶板及加劲肋有限元模型细节

图片

节段底板及加劲肋有限元模型细节

图片

节段有限元模型横截面载荷加载细节


§3 载荷

本次节段模型分析主要考虑以下工况荷载的作用:

工况载荷

图片



模型计算结果


§1 节段整体结果

(1)位移结果

图片

SiPESC整体位移云图

图片

ANSYS整体位移云图

可以看出SiPESC和ANSYS的位移结果云图基本一致,个别地方颜色不同是因为SiPESC平台用的彩条分段个数多于ANSYS,在较低的应力部位会出现该问题,节段模型的最大位移值为12.68mm,位于顶板靠近横截面加载处,属于局部变形。SiPESC和ANSYS计算的内部结果如下图所示

图片

SiPESC内部位移云图

图片

ANSYS内部位移云图


(2)应力结果

图片

SiPESC内部细节Mises应力云图

图片

ANSYS内部细节Mises应力云图

从上面应力云图结果可以看出,SiPESC与ANSYS计算的节段模型内部应力分布大致相同,高应力区域位于模型外力加载处,并不是真实应力。


§2 节段顶板及加劲肋

图片

SiPESC顶板及加劲肋整体位移云图

图片

ANSYS顶板及加劲肋整体位移云图

从上面的位移云图结果可以看出,两软件计算得到的最大位移基本一致。

图片

SiPESC顶板及加劲肋Mises应力云图

图片

ANSYS顶板及加劲肋Mises应力云图

从上面应力云图结果可以看出,两软件的节点应力分布基本一致,最值偏差较大,将计算结果列在表格中,应力最大的几个点是相同的,最值相差较大的原因是最值点为局部加载点且几何形状变化大,外力通过rbe2传递到节点,不同的处理方式会导致应力结果的不同。在较高应力区域取几个点,在几何上的位置如下图所示。

图片

关注点的几何位置

取两软件计算结果列在下表中,由表中结果可以看出应力计算结果基本一致。


关注点的应力结果

图片


§3 节段底板及加劲肋

图片

SiPESC节段底板及加劲肋位移云图

图片

ANSYS节段底板及加劲肋位移云图


从上面的位移云图结果可以看出,两软件计算得到的最大位移和位移分布基本一致。

图片

SiPESC节段底板及加劲肋Mises应力云图

图片

ANSYS节段底板及加劲肋Mises应力云图

SiPESC和ANSYS的应力结果如上图所示,最值差异较大,原因与顶板分析类似,选取几个较高应力的几个点,查看两软件的节点应力结果,选择的节点位置如下图所示。

图片

考察的节点所在位置

将计算结果列在下表中对比,可以看出应力结果基本相同,并且都在250MPa以下。

SiPESC与ANSYS节点计算结果列表

图片


§4 承压板、边腹板及加劲肋

图片

SiPESC承压板、边腹板位移云图

图片

ANSYS承压板、边腹板位移云图

从上面的位移云图结果可以看出,两软件计算得到的最大位移和位移分布基本一致。

图片

SiPESC承压板、边腹板Mises应力云图

图片

ANSYS承压板、边腹板Mises应力云图

从上面边腹板和承压板的应力云图可知,两软件计算得到的承压板、边腹板应力分布基本相同,高应力的地方为索梁锚箱模型加载部位,由节点应力列表可知,除去节点537580外,其他节点的应力水平较低,均在250MPa以下。


§5 横隔板

图片

SiPESC横隔板位移云图

图片

ANSYS横隔板位移云图

图片

SiPESC横隔板Mises应力云图

图片

ANSYS横隔板Mises应力云图

从上面横隔板的应力云图可以看出,两软件计算的应力分布基本相同,应力较大的地方在几何变化大的应力集中点,但即使算上这些点,最大应力也不过141Mpa,绝大部分区域的应力水平较低。



计算结果分析及结论


通过节段模型整体及各构件的详细计算结果分析,现将最大应力统计如下。顶板及底板在局部模型截断面角点处存在小范围的应力集中现象,这是由于局部模型施加边界约束导致,可不予以考虑。计算结果如下表所示。

危险截面应力统计表(应力单位:MPa)

图片

根据顶板、腹板、底板及支撑隔板等均为Q345D钢材,强度设计值为250MPa,应力均小于限值。

内容源于网络,旨在分享,如有侵权,请联系删除


相关资料推荐:

广州至高明高速公路(广州段)桥梁结构形式分析

https://ziliao.co188.com/p47113514.html




知识点:SiPESC桥梁结构钢混结合段节段局部分析


全部回复(0 )

只看楼主 我来说两句抢沙发
这个家伙什么也没有留下。。。

桥梁工程

返回版块

19.44 万条内容 · 655 人订阅

猜你喜欢

阅读下一篇

桥梁挠度限值验算方式及公路桥规挠度限值方式

为何限制桥梁的挠度?     首先应该明确,桥梁的挠度限制是指可变作用(活载)引起的挠度,因为永久作用的变形可以通过设置预变形(如预拱度)来消除。 对桥梁的挠度进行限制有以下几个目的:     (1)保证车辆行驶的安全性和平稳性,保证乘客的舒适性,其中的安全性主要指有轨交通的列车不脱轨,如铁路列车;

回帖成功

经验值 +10