PC连续刚构桥主跨跨径超过200m 后,不仅主梁因梁高较大导致恒载过大、受力不好,而且经济指标也不好。主跨超过200m 时,PC 部分斜拉桥(也称矮塔斜拉桥)优于连续刚构桥,因为其主梁根部高度约为连续刚构桥主梁根部高度的一半,桥梁景观也较好。主跨在200m~300m 之间,应首选部分斜拉桥。即使跨径在150m~200m 之间时,也应对这两种桥型进行比较,择优选用。以上系指按三跨对称布置的连续刚构桥或部分斜拉桥。当为两跨等跨布置时,则成为单T 刚构桥或独塔部分斜拉桥。单T刚构桥的跨径一般不宜大于130m;两跨部分斜拉桥适用跨径为100m~180m。
国内已建成的连续刚构桥的连续总长度已突破1000m。所以,连续刚构桥的连续长度可以达到1000m。但是,连续长度过大,靠两边的几个桥墩因远离温度变形0点,将产生较大的水平位移,桥墩受力很不利。国内外一些较长的大跨度梁桥,采用中间区段为连续刚构,两边区段为连续梁的混合体系,结构受
力合理,称为刚构—连续梁。
缺点是连续梁部分要设置大吨位支座,使用期需进行更换。

连续刚构桥为高次超静定结构,温度与砼收缩、徐变将产生次弯矩。当主墩较矮或抗推刚度较大时,对纵向地震影响不利,在墩顶还会出现较大的拉应力。
需要利用桥墩较小的抗推刚度(双壁墩bh3E/(2L3))来降低上述次弯矩。一般情况下,墩身高度宜大于主跨跨径的1/10,否则应采取措施降低次弯矩。
例如:
1.1 在满足抗弯和稳定的前提下,减小墩身顺桥向厚度;
1.2 采用群桩基础,计入桩基柔度对墩身的影响;
1.3 利用边跨合拢前后的刚度变化对主梁进行加卸载,以改善墩身的受力;
1.4 将中跨底板预应力长索分三段锚固。其中两段在中跨合拢前锚固,一段在合拢后锚固,以减小底板束产生的次弯矩和砼收缩、徐变内力;
1.5 对于个别很矮的桥墩,不用墩梁固结,采用墩上设置活动支座。

设中跨为L,边跨为L1 及L2。L1= L2 时为对称布置,L1≠L2 时为非对称布置。正常情况下,一般可取L1=/L(及L2 /L)=0.52~0.60 较为合适。边跨大或小各有利弊,分述如下。
⑴ 边跨现浇段长度较短,对施工有利。当边墩台较高时,可用导梁、托架或挂篮前推作为支架,现浇段可以不用落地支架。
⑵ 边跨主梁端附近主拉应力较小,对防止箱梁腹板出现斜裂缝有利。
⑴ 边跨过小时,如边支承出现负反力,需采用拉压式支座或在边跨主梁内加配重的措施,边墩台的受力不好。
⑵ 边跨较小时,主墩靠岸一侧的单柱轴力较小,另一单柱轴力较大。故外立柱的偏心距大,将产生较大拉应力。但可采取下述措施克服这个缺点:
①边跨合拢前,在边跨大悬臂端加压重,边跨合拢后卸载。结构分析表明,卸载后,外立柱仍可获得因加压增加压力的90%。
②中跨合拢前顶推主梁,使主墩向岸方向产生水平位移,然后锁定中跨合拢段,再浇边跨和中跨的合拢段砼。顶推力应根据计算确定。
③改变中跨底板纵向预应力钢束的张拉程序。一般是在中跨合拢后才张拉中跨跨中附近的底板钢束,这时将引起墩身弯矩,此弯矩与恒载墩身弯矩方向相同,对墩身受力不利。改为将部分底板钢束在中跨合拢前张拉,可减小墩身的弯矩。
两跨T 构多采用等跨布置,对结构受力有利,也方便进行对称施工。
有时受地形限制,也可以采用不等跨布置。小跨与大跨跨径之比,不宜过小,否则对桥墩受力不利。一般宜大于0.8。例如贵州省崇遵公路两岔河大桥,由于某种特殊原因,跨径为132m+126m。小跨与大跨之比0.955。0 号梁段长16m 在托架上现浇,2×105.5m 用挂篮悬浇施工,先合拢小跨端部12.5m 梁段,然后再将大跨悬浇一个4.5m 的梁段,最后浇筑大跨合拢段(亦为现浇段)长14m。
两跨T构,由于悬臂浇筑施工过程,悬臂长度大,主梁根部负弯矩大,导致主梁梁高较大。在三跨正常布孔其中跨跨径与两跨T 构跨径相同的情况下,后者主梁根部高度约为前者的1.6 倍。所以,如果桥长相等,后者往往造价较高。对于两跨T 构方案,要注意进行经济技术分析。
四跨或四跨以上,可以对称布置,也可以非对称布置。中间1跨或几跨为主跨,跨径相等。边跨跨径一般逐渐减小。相邻两跨如跨径不等时,小跨与大跨之比,正常情况下不宜小于0.52。上限则比较灵活,有的桥达到0.8。
以下是几座四跨或四跨以上连续刚构的孔跨情况,可供参考。
广东洛溪大桥:65m+125m+180m+110m,连续长度480m;
贵阳小关大桥:69m+125m+160m+160m+112m,连续长度626m;
福建石崆山高架桥:
60m+115m+155m+115m+115m+115m+65m,连续长度740m。
四跨或四跨以上连续刚构的一个重要特点就是:大跨与小跨对应的悬臂施工T 构的长度不相等,出现大T 和小T,设计和施工都更复杂一些。
有时受地形或其他条件限制,可能出现很小的边跨,其跨径与相邻较大跨径之比小于0.5。对桥墩和主梁受力不利,设计有下述两种处理措施:
4.4.1
当小边跨梁端的负反力较大,难以消除时,采用基础锚碇的方法平衡负反力。
例如:四川省泸州长江二桥,孔跨布置为145m+252m+54.75m,小边跨箱梁通过5.25m 长的合拢段与桥台刚性连接。按锚碇桥台设计,布置18 根方形锚桩,通过设在锚桩内的竖向预应力束将桥台可靠地锚于基岩中。桥台长26m,与箱梁结构一致,两端加隔板,箱内用浆砌石填心,小边跨的纵向预应力束锚于台尾。桥台为三向预应力结构。

4.4.2
当小边跨跨径不是很小时,采用大、小T 和调整边跨构造尺寸的方法协调恒载分布,以改善边主墩的受力。
连续刚构桥几乎都采用变高度箱型断面,故仅对箱型断面进行论述。
早期设计的连续刚构桥,主梁根部高度多为L/18~L/20(L 为中跨跨径,下同)。

近年连续刚构桥出现了一些病害,主要是箱梁腹板产生斜裂缝和跨中挠度过大,箱梁根部高度有增大的趋势,大约在L/16~L/17 之间。
主梁跨中高度大约在L/45~L/60 之间。当跨径较小时,从构造和方便施工考虑,跨中梁高一般不宜小于2m。
国内外已建成的两跨T 构桥很少。主要原因是主梁高度大,不经济。
大、小T 的根部梁高应按结构计算控制。作为初步拟定尺寸,下述两点可供参考:
⑴ 大T 的根部梁高约为大T 边跨跨径的1/10;
⑵ 小T 的根部梁高约为(2h-h1),式中h=L/16~L/17;L 为中跨跨径,h1为大T 根部梁高。
主梁高度的变化曲线,常用的有三种:按二次抛物线变化,按正弦曲线变化和按半立方抛物线变化。

图2 表示主梁从根部高度ha 变化到跨中高度hb。几种变化曲线主梁高度hj 的计算公式如下:

早期的设计多采用二次抛物线变化。近期由于多座连续刚构桥产生腹板斜裂缝,且常出现在L/4 附近,为了增大该区段的主梁高度,采用半立方抛物线变化有利于减小主拉应力。但有的论文则认为,从增大底板下缘曲率半径以减小预应力束径向力考虑,建议采用二次抛物线。
根据箱的宽度和是否布置横向预应力筋,顶板跨中厚度在25cm~35cm 之间变化。一般情况下不小于25cm。0 号梁段和边跨现浇段梁端的顶板应加厚,一般加厚至50~70cm。顶板两侧的根部要布置承托,其尺寸应根据顶板预应力钢束构造要求确定。
箱梁两侧的悬臂板,其端部厚度一般为15~20cm。当布置横向预应力筋时,多用20cm,根部设置承托,尺寸由顶板钢束构造要求确定。
边跨梁端因设置伸缩缝,顶板厚度(含两侧悬臂板)要满足预埋锚固钢筋的要求。
跨中底板厚度一般取25~35cm。主梁根部底板厚度一般取根部梁高的1/8~1/10。0 号梁段底板应加厚,一般取根部梁高的1/6~1/7。边跨现浇段梁端的底板厚度应按端横隔板的构造要求确定。
从箱梁根部至跨中,底板厚度应采用渐变,其变化曲线多采用半立方抛物线或二次抛物线。
腹板厚度主要取决于布置预应力筋和浇注砼必要的间隙等构造要求。从箱梁根部至跨中,根据跨径的大小,可分为不同厚度的二段或三段。一般在80~40cm之间取值。当腹板内设置下弯钢束和竖向预应力筋时,腹板厚度按构造要求确定。
沿纵向腹板厚度不宜突变,可安排在一个梁段内完成渐变。
0号梁段的腹板要加厚,根据跨径的大小,一般在80cm~140cm 之间取值。边跨主梁端部附近应结合端横隔板设计,加大腹板厚度,并设置一渐变段与一般梁段的腹板厚度衔接。
通常的做法是,在0 号梁段对应于主墩墩柱位置布置横隔板,其厚度与桥墩两壁的厚度一致;另外还在边跨支承处布置端横隔板,其厚度可根据边跨跨径的大小,在0.8~2m 之间取值。其余梁段不设横隔板。
近年有的连续刚构桥曾发生底板崩裂的事故。当箱梁较宽时,为了减小底板钢束径向力的不利影响,有的设计在主梁跨中布置横隔板。
当边跨跨径较大,箱梁较窄时,为了提高梁端支承的抗扭能力,必要时可将端横隔板延伸至箱外(至腹板的外侧),梁端支承相应移至腹板之外。
所有横隔板都应设孔洞,以保证箱内通道全桥贯通。孔洞大小,应方便管养人员及小型机具通过。
在满足抗弯、抗压强度和压杆稳定的前提下,桥墩应具有较小的抗推刚度,使温度、砼收缩、徐变和顺桥向地震的不利影响降至最低限度。



墩身设计参数为双柱的中距S=2e 和壁厚b(参阅图3),影响S 和b 的主要因素是主跨跨径L 和墩高H。三滩黄河大桥(78+140+78m 连续刚构)设计中,采用有限元计算和参数回归分析,得到以下初步结论:
⑴ 随着b 值的减小,桥墩整体稳定安全系数λ减小,桥墩所受弯矩、轴力显著减小;
⑵ 随着s 值的减小,桥墩整体稳定安全系数λ减小,桥墩所受弯矩减小,桥墩所受轴力增大;反之亦然。


位于通航河流或有漂流物的河流上的桥墩,设计时应考虑船舶或漂流物的撞击作用。撞击作用标准值及计算方法按《公路桥涵设计通用规范》(JTG D60-2004)第4.4.2 条执行。
位于水中或变动水位区域的桥墩应进行抗渗设计。应按《公路钢筋砼及预应力砼桥涵设计规范》(JTG D62-2004)第1.0.10 条的规定,根据最大作用水头与墩身砼壁厚之比确定设计采用的抗渗等级。设计应对抗渗砼的配合比及主要技术措施提出要求。
箱梁内应设置贯通全桥的管养、检修通道。进出口尽可能布置在边跨梁端的桥台(或桥墩)上,一般情况下不宜布置在箱梁的底板上。箱内所有的横隔板要设置孔洞,其尺寸至少要满足人员通行。
为了排除施工期箱内雨水,可在箱梁最低处(根部底板上)布置2~4 个直径为100mm~120mm 的泄水管,竖向贯穿底板。
为了降低箱内外的温差,应在每一梁段的底板或腹板上设置6~8 个直径为60mm~80mm 的通气孔。
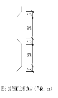
悬浇梁段之间的施工缝,为箱梁的薄弱断面,影响主梁的整体性,为了提高梁段接缝传递剪力的能力,应在已浇梁段的端面设置剪力齿。

支座使用寿命远小于箱梁,使用期更换支座是不可避免的。布置支座的墩台,设计时要预留更换支座操作的空间。
相关资料推荐:
https://ziliao.co188.com/d62762915.html
知识点: 预应力连续刚构桥总体设计
全部回复(2 )
只看楼主 我来说两句抢地板好资料!!!
回复 举报
好资料,学习了预应力连续刚构桥总体设计资料,多谢了。
回复 举报