土木在线论坛 \ 给排水工程 \ 市政给排水 \ 雨污混接改造采用哪些施工方法?一起来看看→

雨污混接改造采用哪些施工方法?一起来看看→

发布于:2025-03-07 16:22:07 来自:给排水工程/市政给排水 [复制转发]

作为城市运行的重要组成部分,城市地下排水系统的安全备受关注。近年来,在建设和维护城市管网过程中,非开挖修复技术逐渐受到青睐,避免了传统的“开膛破肚”式施工方式,有效减少了对城市交通和周边居民的干扰。


当前,国家和行业就管道的非开挖修复已出台相关技术标准,主要有:

连续穿插法


连续穿插法是一种将连续内衬管在直径保持不变的情况下置入原有管道内形成内衬的管道更新工法,它是一种用于管道结构性和非结构性非开挖修复的最简单的方法。



优点:作为一种修复技术,穿插法不需要投资购置新的设备;顶管、定向钻等各类能提供拉力的非开挖设备都可以应用于穿插法修复中;穿插法是修复压力或者重力管道最简单的方法;穿插法可用于结构或者非结构修复的目的;在管道工作状况下(不停输),可同时进行管道修复。

短管穿插法


短管穿插法属于非连续穿插法,是一种将非连续的小于更新管段长度的短管在插入原有管道的过程中连接形成内衬的管道更新工法。


紧密贴合内衬法


紧密贴合内衬法是一种将内衬管置入原有管道之前减小其截面以方便置入,置入后恢复截面,使其外表面与原有管道内壁紧密贴合的管道更新工法。



新的紧密贴合法即热塑成型内衬法,衬管现场预热软化后牵引置入待修管道内部,通过加热加压热塑成型,冷却后紧贴于原管道内壁。


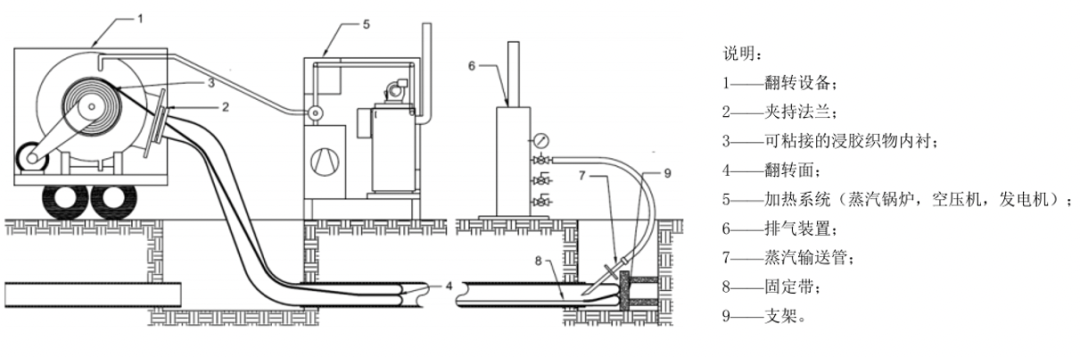
原位固化法

原位固化法是指采用翻转或牵拉方式将浸渍树脂的软管置入原有管道内,固化后形成管道内衬的修复方法。按照软管进入原有管道的方式不同,可将CIPP分为翻转式和拉入式两种工艺。



目前该技术已经在世界40多个国家和地区得到广泛应用,是现今所有非开挖管道修复工艺中使用最广泛的方法。软管的固化工艺目前包括:热水固化法、蒸汽固化法和紫外线固化法。原位固化法不需灌浆,施工速度快、工期短,修复后形成连续内衬管,表面光滑,有利于减小流量损失。


粘结软管内衬法

粘贴软管内衬法是一种将增强软管作为内衬管置入原有管道并与其粘结形成具有抵抗自身坍塌能力内衬的更新工法。


螺旋缠绕内衬法

过缠绕机将带状型材在旧管道内螺旋旋转缠绕成一条新管,带状型材两边的公母锁扣在螺旋旋转中互锁,使新管连续无缝。当螺旋管缠绕完毕后,通过拉动预埋的钢线,将次级锁扣拉断,让新管开始径向扩张,紧紧地贴在原有管道的内壁上。


管片内衬法

管片内衬法是一种将预制管片粘结在原有管道内壁形成内衬的管道更新工法。


垫衬法


垫衬法是一种将背部带有锚固键的塑料内层置入原有管道,并在环状空间注入水泥砂浆,使锚固键永久锚固在具有结构强度的水泥砂浆层中形成内衬的管道更新工法。



垫衬为修复内衬,它是一种高分子树脂材料,具有良好的耐酸碱性及耐化学腐蚀性。



采用的灌浆料为特制的材料,固化后强度高。与原管道结构形成一体,共同受力。且在修复同时,灌浆料可进入原管壁破损等缺陷部位,对原管道起到结构加固补强作用。


穿插软管内衬法

穿插软管内衬法使用圆织纤维增强的塑料软管,在安装后形成一个永久管道结构体或在流体压力下形成圆形,内衬软管与原有管道无粘结关系。



将能够承受内压的软管折叠成U型后,穿入待修复母管,最后通过充气或者充水撑开内衬管。内衬管可折叠,可卷绕,耐压力,耐化学性,外内压状况下可保持圆筒状。




资料来源于区建管委

编辑:徐梦露、程   前

责编:王   博

*转载自“上海长宁”


全部回复(5 )

只看楼主 我来说两句
  • chenfengpo2007

    真是不错的帖子,,值得好好学习!

    2025-03-28 10:10:28

    回复 举报
    赞同0
  • aceyu123456
    aceyu123456 板凳

    学习了,谢谢楼主分享的资料。

    2025-03-14 13:44:14

    回复 举报
    赞同0
加载更多
这个家伙什么也没有留下。。。

市政给排水

返回版块

23.68 万条内容 · 858 人订阅

猜你喜欢

阅读下一篇

深度总结:主题公园给排水设计工艺

来源:公众号海森文旅 给排水系统不仅关系到游客的游玩体验,更是保障公园安全运营的重要基石。合理的给排水设计,能够确保在炎炎夏日为游客提供清凉的水上娱乐体验,同时在雨季来临时,有效应对突发的天气变化,防止水患对公园造成损害。因此,对于主题公园而言,给排水设计不仅仅是技术层面的考量,更是对游客安全与舒适体验的细致关怀。今天,我们将深度总结主题公园给排水设计的工艺,以供大家学习交流。 给排水总平面设计

回帖成功

经验值 +10