三、坝下涵管的进出口建筑物

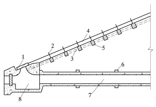
分级卧管式进口
1—工作桥;2—通气孔;3—控制塔
4—爬梯;5—主闸门槽;6—检修门槽
7—截水环;8—伸缩缝;9—渐变段
10—拦污栅;11—黏土心墙;12—消力池
13—岩基;14—坝顶;15—马道
16—干砌石;17—浆砌石;18—黏土

斜拉闸门式
1—斜拉闸门;2—支柱;3—通气孔
4—拉杆;5—混凝土块体;6—截水环
7—涵管;8—消能井
来源网络
0人已收藏
1人已打赏
免费9人已点赞
分享
水利工程设计
返回版块28.26 万条内容 · 391 人订阅
阅读下一篇
小湾水电站,你真的懂吗?小湾水电站(Xiaowan Dam.China)位于云南省西部澜沧江中游河段,系澜沧江中下游河段规划八个梯级电站中的第二级和“龙头水库”电站,为国家实施西部大开发、“西电东送”战略性的标志性工程之一。小湾水电站是以发电为主,兼有防洪、灌溉和库区水运等综合效益的水利水电枢纽。水库总库容151亿m3,有效库容99亿m3,库容系数0.26,属不完全多年调节水库。电站总装机容量4200MW,年发电量189亿kW.h。水库运行后,可使下游漫湾、大朝山和景洪三个梯级电站枯水期的保证出力增加约110万千瓦,总发电量增加约41亿千瓦时。
回帖成功
经验值 +10
全部回复(0 )
只看楼主 我来说两句抢沙发