给水系统组成

室内给水系统管道均采用PP-R管,中水管需有标记,户内管道通常在地坪面层内敷设。

给水系统与装修需配合的事项
确定卫生间及厨房洁具的位置,并定位用水点

隐蔽管道应带压隐蔽,一般应以工作压力为保压压力,待隐蔽层达到许可的强度后方可撤压。
隐蔽完成后一定要作好标识,以防其它工种施工破坏管道。
冬季低温期间,如没有良好的保温措施,应及时将管道内的水吹净,防止管道冻坏。
(同样适合采暖系统)
排水系统组成

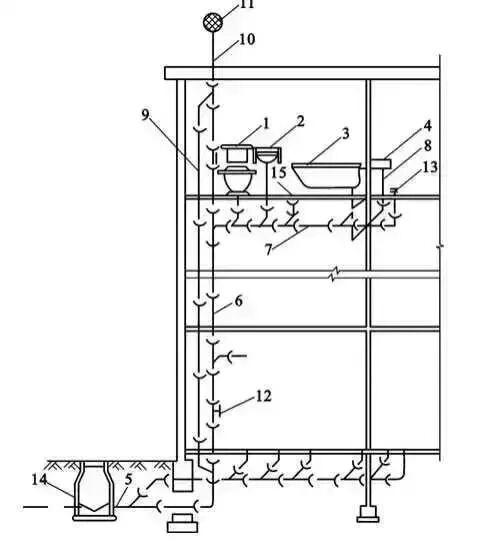
室内排水系统组成

排水系统附件
1. 存水弯:
存水弯的作用是在其内形成一定高度的水封,通常为50~100mm,阻止排水系统中的有毒有害气体或虫类进入室内,保证室内的环境卫生

2. 检查口
一般装于立管,供立管或立管与横支管连接处有异物堵塞时清掏用,多层或高层建筑的排水立管上每隔一层就应装一个,检查口间距不大于10m。检查口设置高度一般从地面至检查口中心1m为宜。
3. 清扫口
一般装于横管,尤其是各层横支管连接卫生器具较多时,横管长度超过一定长度时,横支管起点应装置清扫口。
4. 地漏
通常装在地面须经常清洗或地面有水需排泄处,地漏水封高度不能低于50mm。
所有洁(器)具排水支管与排水干管之间必须有水封保护,避免异味气体影响室内环境。
同层排水系统

假墙式同层排水系统
布置卫生间时,砌一堵假墙将管道和水箱都隐藏在其中

排水系统与装修之间需协调的关系
合理选择卫生洁具,确定排水方式
根据排水管井的大小,合理布局
管井检查口的位置应合理便于日后检修用
注意选用的地漏水封高度要满足50mm的要求
装修施工前需做闭水(通球)试验,地下埋设、吊顶内等暗装污水、雨水、冷凝水管等要达到确保不渗不漏(不堵)
热水系统类型及组成

热水系统与装修之间需协调的关系
装修设计将热水器、用水点位置确定后,需提供给土建设计单位,连接各用热水点间的管道在土建施工中预埋
当选择的电热水器水箱为承压式时,有泄水管需预埋
0人已收藏
0人已打赏
免费3人已点赞
分享
建筑给排水
返回版块47.29 万条内容 · 1370 人订阅
阅读下一篇
卧室卫生间没有排水功能,用污水提升器就能解决吗?卧室想要增加一个卫生间,但是远离下水管,卫生间污水无法排走,就是随便安装一个污水提升器就能解决吗? 最近有多的客户都在问,其实用污水提升器解决卧室卫生间排水是没什么太大问题,但是需要注意这几点非常重要,一定要认真看. 注意事项一 卧室想要加卫生间,一定要是清水房或老房二次改造 这类型的房子最大的特点就是需要重新改水电,毕竟你除了需要考虑下水之外,还需要考虑上水对吧,你连上水都没.卫生间等于是报废状态基本也没啥用/
回帖成功
经验值 +10
全部回复(1 )
只看楼主 我来说两句 抢板凳我滴个天哪!这也太棒了吧!
回复 举报