土木在线论坛 \ 电气工程 \ 电气工程原创版块 \ 应空急柴油机气分配器传动链连接件故障处理

应空急柴油机气分配器传动链连接件故障处理

发布于:2023-03-22 10:01:22 来自:电气工程/电气工程原创版块 [复制转发]

知识点:气分支器

导读

应急柴油发电机组作重要应急设施,其可靠性直接影响到核电机组的安全稳定运行。

某厂2 套 6 kV  3LHP 应急交流柴油发电机组,共计 4 台柴油机,均采用德国 MTU 生产的 20V956TB33、四冲程、高速、大功率柴油机。

其结构紧凑、性能优越、质量可靠。

图片

MTU 的 20V956TB33 柴油机与一般的四冲程柴油机工作原理基本一样,都包括进气、压缩、 燃烧膨胀 ( 做功 )、排气 4 个冲程。

一台柴油机主要包括:

启动空气系统、燃油系统、润滑油系统、 冷却水系统、进 / 排气系统等辅助系统。


启动空气系统工作原理

MTU 的20V956TB33柴油机采用压缩空气启动,启动能量大,启动迅速可靠。

图片

图1 启动空气系统

启动空气系统(见图1)将压缩空气 (压力一般为 34-39 bar ) 按柴油机的发火顺序控制进入气缸内,代替燃气推动活塞,使柴油机曲轴转动。

由于启动空气系统进气时的活塞位置和进 / 排气阀状态与做功冲程一致,因此启动空气系统进气时序与柴油机的发火顺序一致。

主启动阀过来的压缩空气在进入柴油机 A,B 侧气缸前分为 2 路: 

图片

图 2 空气分配器部件 (分配盘和分配孔 )

一路前往空气分配器,由空气分配盘 (见图 2 ) 控制进入各个气缸的顺序,最后到达某个气缸的启动阀驱动机构,进而打开启动阀,这一路压缩空气属于控制气源;

另外一路压缩空气则直接到达 A,B 侧各 10 个气缸的启动阀入口,在控制气源将某一启动阀打开时进入气缸,推动活塞往下 运动,从而驱动曲轴旋转,使柴油机运转。

随着曲轴的转速加快,最终达到发火转速,柴油机依靠燃油的燃烧加速至额定转速,而启动空气系统则在柴油机转速达到350 r/min 时随着主启动阀的关闭而切断。

为了保证柴油机迅速可靠地启动,必须保证 足够的空气压力 (34-39bar) 和足够的空气量。


故障事件描述

3LHP 应急交流柴油发电机组进行首次启动试验。

由于厂家调试人员误将超速保护定值设置为 175 r/min (正确应为1725 r/min),导致在启动信号发出后,柴油机开始运转短短几秒 后就出现超速停机保护,柴油机两侧的紧急停机风门关闭,柴油机停运。

经检查,发现该柴油机还存在B 侧启动空气分配器错位导致进气顺序错误的问题。

在重新设定了超速保护设定值,更换了备件,调整了进气顺序后,该柴油机正常启动。

在此次非正常超速保护停机事件之后,又先后出现2次因 A 侧空气分配器进气时序错误造成柴油机无法启动的故障。

经分析,这3次故障都是由空气分配器的制造缺陷导致的。

自更换了新生产的空气分配器后,又先后出现2次由于 A 侧空气分配 器传动链连接件 (见图3) 内部转动导致柴油机进气顺序错误而无法启动的故障。

图片

图 3 柴油机 A 侧空气分配器传动链结构

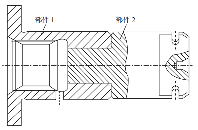
如图3中所示,柴油机凸轮轴通过花键及连接件驱动空气分配器旋转。

其中,连接件采用分体式设计,由2个部件过盈配合组成 (见图4),并通过过盈配合面的摩擦力传递扭矩。

连接件采用分体式设计原因如下:

该部件2部分的材质硬度不同,带花键键槽的部件1由于要承受凸轮轴传递过来的扭矩,所以材质较软;

部件2与支座形成一对滑动轴承,在柴油机运行时驱动空气分配器转动,故材质较硬。

图片

图 4 过盈配合的连接件剖面图

3LHP柴油发电机组在1年内分别发生2次在执行3PT3LHP001 柴油机低负荷运行试验时,当主控发出启动命令后,柴油机主启动阀开启,压缩空气进入汽缸,但柴油机不转动的故障。

根据传动部件错位的推测,以及柴油机厂家提供的检查方案,检修人员对进气时序错误的A侧空气分配器与凸轮轴的中间传动链连接部件进行检查,发现其摩擦传递转矩的过盈配合连接件发生了内部转动,导致A侧空气分配器进气顺序错误,从而造成柴油机无法启动。

更换了新的传动连接件部件,重新装配柴油机后,调整启动空气进气时序,连续启动柴油机均能成功启动。


连接件错位原因分析及处理方案

1. 错位的连接件部件分析

检查首次发生错位的A侧空气分配器传动链,发现该连接件(见图 5)外观无异常磨损。

图片

图 5 首次错位的连接件

将更换下来的连接件沿轴向进行切割,并对切割的2部分进行显微检查,发现带花键槽部件的过盈配合面有约40% 发生严重损坏 (见图 6 ),从右到左呈被挤压状;

图片

图 6 过盈配合面材料损坏

同时在与其配合的部件的过盈配合面上发现环状沟槽 (见图 7),显微放大检查发现 配合面有接触痕迹,且存在轻微的材料转移现象。

图片

图 7 过盈配合面环状沟槽

 过盈配合面出现环状沟槽和材料转移的2 种现象表明,2个过盈配合面之间发生了相对的转动错位。

2.连接件错位原因分析

为查找导致A侧空气分配器传动链连接件错位的原因,检修人员制定了检查方案,在 A侧空气分配器传动链上安装扭矩测量传感器。

测量在柴油发电机组运行时加载在该连接件上的实际扭矩。 

测试设备安装完成后,对柴油发电机组进行了试验,测量到的柴油机A侧空气分配器的最大一次传递扭矩约为 28 N·m。 

在完成了现场3LHP 柴油发电机组运行期间的扭矩测量试验之后,又对连接件进行了相关的扭矩测试。

随机抽取了15个新的连接件进行扭矩加载 测试,直至发生扭转滑动。其中 14 个连接件发生扭转滑动时的扭矩在40—80N·m,1个连接件发 生扭转滑动的扭矩只有24.4 N·m (见表1)。

图片

3.测试结果分析

分析测试结果发现,这种分体设计的连接件依靠过盈配合产生的摩擦力传递扭矩,可靠性不高。 

柴油机在各种不同运行工况下加载在连接件上的扭矩不同,当柴油机在运行过程中某一次的瞬时扭矩大于过盈配合面产生的摩擦力矩时,连接件就会发生内部扭转滑动,导致柴油机进气顺序错误,无法启动。


传动链连接件错位处理方案

为彻底解决由于分体式的连接件失效导致柴油机无法启动的故障,厂家改进了连接件的设计。

新的连接件采用一体化设计,能彻底避免依靠摩擦力传递力矩的过盈配合连接件的扭转滑动,确保该故障不再发生,保证了柴油机运行的可靠性。 

自更换为一体化设计的连接件至今,3LHP 柴油发电机组已进行了多次低负荷月度试验,柴油机均成功启动,未再发生故障。

相关推荐:

1、GB5226.1-2008 机械电气安全

2、GB19517-2009国家电气设备安全技术规范


全部回复(0 )

只看楼主 我来说两句抢沙发
这个家伙什么也没有留下。。。

电气工程原创版块

返回版块

2.2 万条内容 · 598 人订阅

猜你喜欢

阅读下一篇

采暖系统常见故障及处理办法

知识点:分集气器 1、地暖管或者暖气片“赌气” 在寒冷来临前,地暖管或者暖气片长期未使用以及水压过低进行了补水操作,其内部难免会产生“堵气”。如果不将这些气体及时排放出去,容易导致供热循环不畅,最终影响整个采暖系统的使用效果,造成供暖系统不热或者温度不够的现象。 解决办法:如果是暖气片“堵气”,通常会有“前几片热,后几片不热”的现象,甚至暖气片内部会有“哔啦”水流声。此时可将散热器一侧上端的放气阀螺丝拧松,听到有气体放出的声音即停止操作,待有水流呈柱状流出后再拧紧放气阀螺丝。一般需反复操作几次,暖气片中的空气就会被排干净。

回帖成功

经验值 +10