知识点:换流器
基于晶闸管的电流源型高压直流输电优点为换流器损耗小,发生直流线路故障时可通过移相来重启直流系统;缺点是逆变侧换流器工作在有源逆变,不能接入无源系统;逆变侧接入弱交流系统出现扰动后容易发生换相失败;无功消耗大,电压、电流谐波含量高,需要安装滤波装置提供无功功率和滤波。
基于电压源换流器的直流输电优点为可控性高,可接入无源系统,不需要无功补偿装置;缺点为换流器开关损耗大,采用半桥结构的模块化多电平换流器不能控制直流侧故障时的故障电流,在故障发生后只能通过断开交流侧断路器来切除故障。
对于直流侧故障,ABB公司采用增加直流线路的断路器来解决直流侧故障;西门子公司采用全桥电路结构来解决;阿尔斯通公司采用全桥电路并且桥臂串联电力电子开关器件的方式来解决;浙江大学采用在主回路串联二极管来解决。
上述方案在直流输电系统发生极端故障,如电压源换流器与变压器之间接地、交流系统三相短路,仍然会引起电压源换流器发生严重过压和过流。
问题拆分
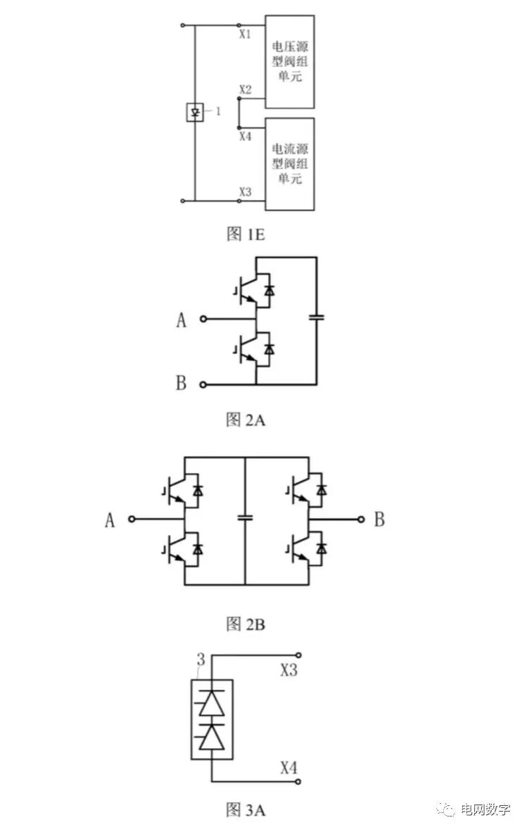
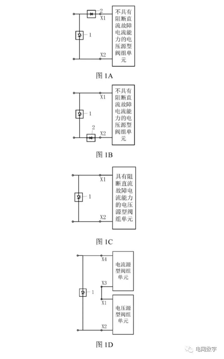
保护电路用于保护逆变站电压源型阀组单元中的电压源换流器,包括:至少一个旁通电力电子阀组,所述旁通电力电子阀组与具有直流故障穿越能力的换流器并联连接,所述旁通电力电子阀组的阳极与所述具有直流故障穿越能力的换流器的正极相连,所述旁通电力电子阀组的阴极与所述具有直流故障穿越能力的换流器的负极相连;所述具有直流故障穿越能力的换流器包括:串联连接的二极管阀组和不具有直流故障穿越能力的电压源型阀组单元;或者串联连接的电流源型阀组单元和不具有直流故障穿越能力的电压源型阀组单元;或者具有直流故障穿越能力的电压源型阀组单元。
问题解决
本 申请 一 实 施 例 提 供 了一 种 换 流 器 保 护 电路 ,用 于 保 护 逆 变 站 电压 源 型 阀组 单 元 中 的 电压 源 换 流 器 ,其 特 征 在 于 ,所 述 换 流 器 保 护 电路 包 括 : 至少一个旁通 电力 电子 阀组 ,所述旁通 电力 电子 阀组与具有直流故障穿越 能力 的换流器并联连接 ,所述旁通 电力 电子 阀组 的阳极与所述具有直流故 障穿越 能力 的换流器 的正极相连 ,所述旁通 电力 电子 阀组 的阴极与所述具 有直流故 障穿越 能力 的换流器 的负极相连 ;所述具有直流故障穿越 能力 的 换流器包括 :串联连接 的二极管阀组和不具有直流故障穿越能力 的电压源 型 阀组 单 元 ;或 者 串联 连 接 的 电流 源 型 阀组 单 元 和 不 具 有 直 流 故 障 穿 越 能 力 的 电 压 源 型 阀 组 单 元 ;或 者 具 有 直 流 故 障 穿 越 能 力 的 电 压 源 型 阀 组 单 元 。

进一步地,所述二极管阀组 的阴极与所述不具有直流故障穿越能力 的 电压 源 型 阀 组 单 元 的 正 极 相 连 ; 所 述 具 有 直 流 故 障 穿 越 能 力 的 换 流 器 的 正 极为所述二极管 阀组 的阳极 ,所述具有直流故障穿越 能力 的换流器 的负极 为所述 电压源型 阀组单元 的负极 ;或者所述二极管 阀组 的阳极与所述不具 有 直 流 故 障 穿越 能 力 的 电压 源 型 阀组 单 元 的 负 极 相 连 ;所 述 具 有 直 流 故 障 穿越能力的换流器 的正极为所述 电压源型阀组单元的正极,所述具有直流 故障穿越 能力 的换流器 的负极为所述二极管 阀组 的阴极 ;所述二极管 阀组
包括 多个 串联连接 的二极 管 。
进 一 步 地 ,所 述 电流 源 型 阀组 单 元 的 阴极 和 所 述 电压 源 型 阀组 单 元 的 正 极 相 连 ; 所 述 具 有 直 流 故 障 穿 越 能 力 的 换 流 器 的 正 极 为 所 述 电流 源 型 阀 组 单 元 的 阳 极 ; 所 述 具 有 直 流 故 障 穿 越 能 力 的 换 流 器 的 负 极 为 所 述 电压 源 型 阀组单元 的负极 ;或者所述 电流源 型 阀组单元 的阳极和所述 电压源 型 阀 组单元 的负极相连 ;所述具有直流故 障穿越 能力 的换流器 的正极为所述 电 压 源 型 阀组 单 元 的 正 极 ; 所 述 具 有 直 流 故 障 穿 越 能 力 的 换 流 器 的 负 极 为 所 述 电流源型 阀组单元 的阴极 。
进 一 步 地 , 所 述 电流 源 型 阀 组 单 元 包 括 : 电 网 换 相 换 流 器 ; 或 者 并 联 连接 的电网换相换流器与旁通开关 ;或者 电网换相换流器与旁通开关及刀 闸组件 ,所述 电网换相换流器与所述旁通开关并联连接后 ,两端分别和所述刀 闸组件 的一端相连 ,所述刀 闸组件 的另一端连接旁通刀 闸。
进 一 步 地 , 所 述 电 网 换 相 换 流 器 为 六 脉 动 桥 式 电路 或 十 二 脉 动 桥 式 电 路 ,由不可关断的半控型功率半导体组成 。
进一步地,所述不具有直流故障穿越能力的电压源型阀组单元包括两 电平换流器、二极管箝位型多电平换流器、半桥结构子模块组成的模块化 多电平换流器 MMC、两电平级联型换流器 CSL或堆叠式两电平换流器 CTL 的一种或一种以上。

进一步地,所述具有直流故障穿越能力的电压源型阀组单元包括全桥 结构子模块组成的模块化多电平换流器 MMC、两电平级联型换流器 CSL、堆 叠式两电平换流器 CTL,半桥和全桥结构子模块组成的混合模块化多电平换 流器 HMC,或二极管箝位型模块化多电平换流器的一种或一种以上。
进一步地,所述电压源型阀组单元包括:电压源换流器;或者电压源 换流器与旁通电路;或者电压源换流器与旁通电路及刀闸组件,所述电压 源换流器与所述旁通电路的两端分别和所述刀闸组件的一端相连,所述刀闸组件的另一端连接旁通刀闸。
进一步地,所述并联连接的电压源换流器与旁通电路包括:所述电压 源换流器与所述旁通开关并联电路;或者所述旁通开关与电感连接后再与 所述电压源换流器并联电路;或者所述电压源换流器与电感连接后再与所 述旁通开关并联电路。
进一步地,所述电压源换流器由可关断的全控型功率半导体组成;所 述可关断的全控型功率半导体是以下任一种或多种:绝缘栅双极型晶体管 IGBT、集成门极换流晶闸管 IGCT、可关断晶闸管 GT0、电力场效应管 Power M0SFET、电子注入增强栅晶体 IEGT、门极换流晶闸管 GCT或碳化硅增强型 结型场效应晶体管 SiC-JFET 。
进一步地,所述旁通电力电子阀组只包含一个桥臂,由多个电力电子 开关器件串联组成,所述电力电子开关器件包括晶闸管或 IGBT 或 IGCT 或 M0SFET,所述 IGBT 或 IGCT 或 M0SFET 为硅器件或碳化硅器件,并包含相应 的控制保护电路;所述电力电子开关器件为晶闸管时,旁通电力电子阀组 的阳极为晶闸管的阳极方向,旁通电力电子阀组的阴极为晶闸管的阴极方向;所述电力电子开关器件为 IGBT 时,旁通电力电子阀组的阳极为 IGBT 的集电极方向,旁通电力电子阀组的阴极为 IGBT 的发射极方向;或者所述 旁通电力电子阀组是并联的电网换相换流器的旁通对或通过所述并联的电 网换相换流器快速移相实现。
进 一 步 地 ,在 所 述 多 个 电力 电子 开 关 器 件 串联 后 的始 端 或 末 端 串联 直 流转换开关或者 隔离刀 闸。
本 申请 实 施 例 还 提 供 一 种 换 流 器 保 护 方 法 , 其 特 征 在 于 , 所 述 方 法 包 括 以下步骤:逆变站的电压源型阀组单元检测到故障,投入旁通 电力 电子 阀组 ;将故障信息传送到整流站 ,使得所述整流站和所述逆变站协调控制进 行 故 障 处 理 ;所 述 整 流 站 和 所 述 逆 变 站 协 调 控 制 进 行 故 障 处 理 ,包 括 ; 对 于 瞬 时 能 自恢 复 或 能 隔 离 的 故 障 , 控 制 所 述 旁 通 电 力 电 子 阀 组 电 流 到 零 关 断 ,所 述 整 流 站 降低 直 流 电压 、直 流 电流 ,故 障 消 失 后 ,将 故 障 消 失 信 息传送到所述整流站,所述整流站和所述逆变站协调控制,重启直流输 电 系 统 ; 对 于 瞬 时 不 能 自恢 复 或 不 能 隔 离 的 故 障 , 所 述 整 流 站 和 所 述 逆 变 站 协调控制,闭锁所述具有直流故障穿越能力的换流器或直流输 电系统。
进 一 步 地 ,所 述 逆 变 站 的 电压 源 型 阀组 单 元 检 测 到 故 障 ,包 括 :所 述 电压 源 型 阀组 单 元 检 测 到 总 直 流 电压 、直 流 电流 或 桥 臂 电流 超 过 阈值 ;或 者检测到子模块 电压或 电流超过 阈值 ;或者通过检测交流 电压或交流 电流 进行间接预测或辅助判断;或者所述 电压源型阀组单元停运信号出现、保 护 动 作 信 号 出现 、 闭锁 信 号 出现 或 运 行 信 号 消 失 ;所 述 故 障 包 括 控 制 系 统故障、阀区故障、主变压器 区故障和交流系统故障。
进 一 步 地 ,所 述 电压 源 型 阀组 单 元 还 控 制 所 述 旁 通 电力 电子 阀组 电流 到零关断,包括 :通过逆变站主导控制所述旁通 电力 电子 阀组 电流到零关 断,或者将故障信息传送到整流站,使得整流站主导控制所述旁通 电力 电 子 阀组 电流 到 零 关 断 ,或 者 逆 变 站 和 整 流 站 协 调 控 制 所 述 旁 通 电力 电子 阀 组 电流到零关断;所述控制所述旁通 电力 电子 阀组 电流到零关断是在所述 旁 通 电力 电子 阀组 施 加 零 压 或 反 压 直 至 流 过 旁 通 电力 电子 阀组 的 电流 为 零 , 或 者 断 开 直 流 输 电 系 统 电流 回 路 中 的 直 流 转 换 开 关 , 或 者 断 开 所 述 旁 通 电力 电子 阀组 ; 所 述 施 加 零 压 或 反 压 ,对 于 所 述 逆 变 站 主 导 控 制 则 是 所 述 逆 变 站 降低 自身 直 流 电压 到 零 压 或 反 压 ;对 于 所 述 整 流 站 主 导 控 制 则 是 所述整流站降低 自身直流电压到零压或反压;对于所述逆变站和所述整流 站协调控制,则是所述逆变站和所述整流站协调控制降低直流 电压到零压 或反压。
进一步地,所述将故障信息传送到整流站,包括 :在站间通讯正常情况 下,整流站接收逆变站送来的故障信息或整流站检测直流 电压和直流 电流识别故障信息;在站间通讯故障情况下,整流站检测直流 电压和直流 电流 来 识 别 故 障 信 息 ; 所 述 瞬 时 能 自恢 复 或 能 隔 离 的 故 障 为 能 够 瞬 时 熄 弧 或 能 够通过开关、刀闸实现快速隔离的故障;所述瞬时不能 自恢复或不能隔离 的 故 障 为 永 久 性 、 不 能 瞬 时 熄 弧 或 通 过 开 关 、 刀 闸不 能 实 现 隔 离 的 故 障 。
相关推荐:
0人已收藏
0人已打赏
免费2人已点赞
分享
电气工程原创版块
返回版块2.2 万条内容 · 597 人订阅
阅读下一篇
避雷器的作用及应该怎样安装?知识点:防雷器 避雷器的作用 避雷器一种能释放雷电或兼能释放电力系统操作过电压能量,保护电工设备免受瞬时过电压危害,又能截断续流,不致引起系统接地短路的电器装置。连接在导线和地之间的一种防止雷击的设备,通常与被保护设备并联。避雷器可以有效的保护电力设备,一旦出现不正常电压,避雷器产生作用,起到保护作用,当电压值正常后,避雷器又迅速恢复原状,以保证系统正常供电。避雷器不仅可用来防护大气高电压,也可用来防护操作高电压。
回帖成功
经验值 +10
全部回复(0 )
只看楼主 我来说两句抢沙发