知识点:电阻器

1.电阻的品类
目前市场上电阻器种类繁多,按照阻值特性可分为固定电阻、可调电阻和特种电阻(敏感电阻),其中固定电阻在电子产品中应用最为广泛;按安装方式可分为插件电阻和贴片电阻,按制造材料则可分为合金型、金属膜型和合成型等。
1.1固定电阻的分类
图2. 固定电阻分类图
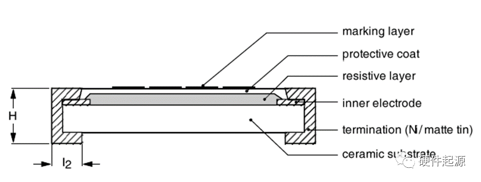
1.2固定电阻的工艺和功能介绍
厚膜电阻:采用厚膜工艺印刷而成,这种电阻有多种形状,包括带型、曲线形、长方形等。主要在功率电阻和精密电阻的制造中应用较多。这种电阻耐潮湿、高温、温度系数小、体积小,重量轻。

图3. 厚膜贴片电阻结构图
薄膜电阻:薄膜电阻器是高精度电阻器的一种,它采用类蒸发的方法将一定电阻率材料蒸镀于绝缘材料表面制成,一般这类电阻常用的绝缘材料是陶瓷基板。我们常说的高精度低温漂贴片电阻一般就指的是薄膜贴片电阻器,包括常见的千分之一电阻和万分之一电阻。

图4. 薄膜贴片电阻结构图

表1. 厚膜电阻与薄膜电阻区分
金属膜电阻:膜式电阻器中的一种。是以特种金属或合金作电阻材料,用真空蒸发或溅射的方法,在陶瓷或玻璃基本上形成电阻膜层的电阻器。

图5. 金属膜电阻结构图
抗硫化电阻:在高浓度硫磺气体区域,例如温泉区、采矿区的电子设备,硫磺气体暴露在高污染环境中的设备。包括工业控制系统、传感器、仪表设备、通信基地台等,硫从电阻的电极和保护层之间的间隙进入。与电阻的端电极银材料化合产生硫化银,然后电阻整体成为绝缘体,电子设备故障或危险。其主要作用在于,为了能够有效解决硫的污染严重环境中电阻失效的原因,通过改变贴片电阻的电极结构没在电阻的电极中添加耐硫化材质从而研发出抗硫化电阻系列产品,则可大大提高电阻的抗硫化能力从而延长产品使用寿命。


图6. 硫化现象及失效

图7. 抗硫化电阻结构图
图8. 抗浪涌电阻结构图

图9. VISHAY RSC series抗浪涌电阻曲线
2.电阻的市场情况及发展趋势
2.1全球电阻行业竞争格局

图10. 2021年片式电阻市场格局
2.2电阻的发展趋势
小型化,高功率

高可靠性


相关推荐:
0人已收藏
0人已打赏
免费2人已点赞
分享
电气工程原创版块
返回版块2.2 万条内容 · 596 人订阅
阅读下一篇
浅谈除雾器结垢堵塞的原因及预防对策知识点:除雾器 脱硫塔除雾器的结垢与堵塞是脱硫塔常见的故障之一。除雾器结垢,严重的会造成堵塞,使得烟气流通面积减少,烟气流速增加,降低除雾器去除雾滴的效率,进而带来一系列的问题。此外,除雾器的结垢和堵塞,会使得除雾器的阻力增加,进而增加引风机的压力,增加电耗,更严重的会引起风机的失速现象,影响机组的安全性和可靠性。 一
回帖成功
经验值 +10
全部回复(0 )
只看楼主 我来说两句抢沙发