知识点:接闪器
接闪器由独立避雷针、架空避雷线、架空中雷网以及直接装设在建筑物上的避雷针、避雷带或避雷网中的一种或多种组成。
接闪器安装流程
(1)暗敷在建筑物混凝土中的接闪导线,在主筋绑扎或认定主筋进行焊接,并做好标志后,应按设计要求施工,并应检查确认隐蔽匸程验收记录后再支模或浇捣混凝土。
(2)明敷在建筑物上的接闪器应在接地装置和引下线施工完成后再安装,并应与引下线电气连接。
暗装避雷带(网)
暗装避雷网是利用建筑物内的钢筋作避雷网,以达到建筑物防雷击的目的,已被广泛利用。
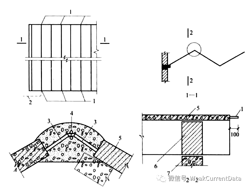
1.用建筑物V形折板内钢筋作避雷网
建筑物有防雷要求时,可利用V形折板内钢筋作避雷网。施工时,折板插筋与吊环和网筋绑扎,通长筋和插筋、吊环绑扎。折板接头部位的通长筋在端部预留钢筋头,长度不少于100mm,便于与引下线连接。引下线的位置由工程设计决定,V形折板钢筋作防雷装置,如图1所示。

图1 V形折板钢筋作防雷装置示意图
1—通长筋预留钢筋头;2—引下线;3—吊环(插筋);4—附加通长Φ6筋;5—折板;6—三脚架或三脚墙;7—支托构件
2.用女儿墙压顶钢筋作暗装避雷带
(1)女儿墙压顶为现浇混凝土的,可采用压顶板内的通长钢筋作为暗装防雷接闪器:
(2)女儿墙压顶为预制混凝土板的,应在顶板上预埋支架设接闪带。
(3)用女儿墙现浇混凝土压顶钢筋作暗装接闪器时,防雷引下线可釆用不小于Φ10mm的圆钢,引下线与接闪器(即压顶内钢筋)的焊接连接。
(4)在女儿墙预制混凝土板上预埋支架设接闪带时,或在女儿墙上有铁栏杆时,防雷引下线应由板缝引出顶板与接闪带连接。
(5)引下线在压顶处应同时与女儿墙顶设计通长钢筋之间用Φ10mm圆钢做连接线进行连接。
(6)女儿墙通常设有圈梁,圈梁与压顶之间有立筋时,防雷引下线可以利用在女儿墙中相距500mm的2根Φ8mm或1根Φ10mm立筋,把立筋与圈梁内通长钢筋全部绑扎为一体更好,女儿墙不需再另设引下线。
(7)采用这种做法时,女儿墙内引下线的下端需要焊到圈梁立筋上(圈梁立筋再与柱主筋连接)。
(8)引下线亦可以直接焊到女儿墙下的柱顶预埋件上(或钢屋架上)。圈梁主筋如果能够与柱主筋连接,建筑物则不必另设专用接地线。
三、明装避雷带(网)
1.支座、支架的制作与安装
明装避雷带(网)时,应根据敷设部位选择支持件的形式。敷设部位不同,其支持件的形式也不相同。明装避雷带(网)支架通常采用圆钢或扁钢制作而成,其形式有多种。
(1)明装避雷带(网)应采用镀锌圆钢或扁钢制成。镀锌圆钢直径应为Φ12mm,镀锌扁钢25mmx4mm或40mmx4mm。在使用前,应对圆钢或扁钢进行调直加工,对调直的圆钢或扁钢,顺直沿支座或支架的路径进行敷设。
(2)在避雷带(网)敷设的同时,应与支座或支架进行卡固或焊接使连成一体,并同防雷引下线焊接好,其引下线的上端与避雷带(网)的交接处,应弯曲成弧形。
(3)当避雷带沿女儿墙及电梯机房或水池顶部四周敷设时,不同平面的避雷带(网)至少应有两处互相连接,连接应采用焊接。
(4)避雷带在屋脊上安装,建筑物屋顶上的突出金属物体(如旗杆、透气管、铁栏杆、爬梯、冷却水塔以及电视天线杆等)都必须与避雷带(网)焊接成一体,如图2所示。

图2 避雷带及引下线在屋脊上安装
(a)用支座固定;(b)用支架固定
1—避雷带;2—支架;3—支座;4—引下线;5—1:3水泥砂浆
(5)避雷带(网)在转角处应随建筑造型弯曲,通常不宜小于90°,弯曲半径不宜小于圆钢直径的10倍,如图3所示。

图3 避雷带(网)在转弯处做法
(a)在平屋顶上安装;(b)在女儿墙上安装
1—避雷带;2—支架;3—支座;4—平屋面;5—女儿墙
(6)避雷带沿坡形屋面敷设时,应与屋面平行布置
(7)避雷带通过建筑物伸缩沉降缝处,可将避雷带向侧面弯成半径为100mm的弧形,且支持卡子中心距建筑物边缘减至400mm,此外,也可将避雷带向下部弯曲,或用裸铜绞线连接避雷带。
相关推荐:
0人已收藏
0人已打赏
免费2人已点赞
分享
电气工程原创版块
返回版块2.2 万条内容 · 598 人订阅
阅读下一篇
最详细的温控器讲解,只看这一篇就够了知识点:温控器 一.温控器概述 过程控制是工业制造中,温度控制是过程控制的一种。 我们看下温度控制的构成示例。 在下面这个控制系统中,我们使用温控器来控制电熔炉的温度。被控对象就是电熔炉,为了控制它的温度,我们首先在温控器上设定一个目标值(SV),这就是我们希望它最终达到的目标温度,接下来,我们采用测温体将电熔炉的实际温度采集到温控器,这个采集到的温度值和温控器上已经设定好的目标值进行比较,比较结果就是两者之间的偏差信号,温控器根据这个偏差信号进行处理,输出控制信号,来驱动外部的操作器对被控对象进行加热或者冷却,以达到控制的效果。
回帖成功
经验值 +10
全部回复(0 )
只看楼主 我来说两句抢沙发