9.1.1 施工前准备应符合下列规定:
1 施工图纸和其他技术文件齐全,并应经会审;
2 有批准的施工方案或施工工艺,应已进行技术交底;
3 施工人员应经过屋面雨水排水系统安装的技术培训;
4 施工人员应充分了解设计文件和施工方案;
5 材料、机具等应准备就绪。
9.1.2 材料进场验收应符合下列规定:
1 管材、管件、雨水斗等材料的规格、型号和性能应符合设计要求,并应有质量合格证明文件;
2 管材、管件等材料的表面应完好无损。钢管和管件表面应无裂纹、夹渣、重皮等缺陷;
3 排水铸铁管管材、管件应无裂缝、砂眼、飞刺和瘪陷等缺陷;
4 排水塑料管管材、管件应无裂缝、凹陷、分层和气泡等缺陷。
9.1.3 材料贮运应符合下列规定:
1 管材、管件、雨水斗等应分类堆放。管材应水平堆放在平整的地上,管件、雨水斗应逐层堆码,且不应超过国家现行有关标准规定的堆码高度;
2 管材装卸时,不得撞击和抛、摔、拖等;
3 塑料管道贮存堆放时,不得长时间暴晒,且应远离明火、热源。
9.1.4 管道敷设应符合下列规定:
1 雨水立管检查口设置应符合设计要求;
2 室内埋地管长度超过30m时,应设置检查口;
3 雨水管道位置应符合设计要求;
4 塑料管道穿过墙壁、楼板或有防火要求的部位时,应按设计要求设置防火措施;
5 当雨水管穿过墙壁和楼板时,应设置金属或塑料套管。公共卫生间和厨房内楼板的套管,顶部应高出装饰地面50mm;其他区域内楼板的套管,顶部应高出装饰地面20mm,底部与楼底面齐平。墙壁内的套管,两端应与饰面齐平。套管与管道之间的缝隙应采用阻燃密实材料填实;
6 管道和雨水斗的敞开口安装处,应采取临时封堵措施。
9.2.1 雨水斗、主要管材及管件应进行进场检验。
9.2.2 雨水斗外观应无损坏,组件应完整,说明书、合格证应齐全。雨水斗材质、规格应符合设计要求。
9.2.3 管材、管件检验应符合下列规定:
1 管道的材质、规格、管径应符合设计要求。各类管材、管件应符合国家现行有关标准的规定;
2 塑料管材应进行燃烧性能试验。
9.2.4 雨水潜水泵外观应无损坏,组件应完整,产品合格证和安装使用说明书应齐全。流量、扬程和电机功率应符合设计要求。
9.3.1 雨水斗的进水口应水平安装。
9.3.2 雨水斗应按产品说明书的要求和顺序进行安装。
9.3.3 屋面结构施工时应按设计要求预留雨水斗预留孔。
9.3.4 安装在钢板或不锈钢板天沟、檐沟内的雨水斗,可采用氩弧焊等与天沟、檐沟焊接,也可采用其他防水连接方式。
9.3.5 当屋面防水施工完成、雨水管道确认畅通、清除流入短管内的密封膏后,再安装整流装置、导流罩等部件。
9.3.6 雨水斗安装后,雨水斗边缘与屋面相连处不应漏水。
9.4.1 钢管安装应符合下列规定:
1 碳素钢管宜采用机械切割。当采用火焰切割时,应先清除表面的氧化物。不锈钢管应采用机械或等离子切割;
2 钢管切口表面应平整,并应与管道中心线垂直,不锈钢管焊接前应打坡口;
3 碳素钢管应采用法兰或沟槽式连接,内外表面应镀锌。不锈钢管应采用焊接、法兰或沟槽式连接;
4 当采用法兰连接时,法兰应垂直于管道中心线,两个法兰的表面应相互平行,紧固螺纹部分应做防腐处理;管径大于DN100的镀锌钢管应采用法兰或卡套式专用管件连接,镀锌钢管与法兰焊接处应二次镀锌;
5 不锈钢管焊接宜采用氩弧焊接、手工电焊或氩弧焊打底、手工电焊盖面,管内需充氩气保护的焊接工艺;
6 当不锈钢管采用氩弧焊时,环境温度不应低于-5℃;当温度过低时,应采取预热措施。不锈钢管焊接后,应根据设计要求及时对焊缝表面及周围进行酸洗钝化处理。
9.4.2 排水铸铁管安装应符合下列规定:
1 应采用机械切割,切口表面应平整无裂缝;
2 应采用机械接口或卡箍式连接;
3 当进行连接时,应先清除连接部位的沥青、砂、毛刺等杂物;
4 当采用机械接口时,在插口端应先套入法兰压盖,再套入橡胶密封圈,然后将插口端推入承口内,应对称交叉地紧固法兰压盖;
5 当采用卡箍式连接时,应将管道或管件的端口插入橡胶套筒和不锈钢节套内,然后拧紧节套上的螺栓。
9.4.3 高密度聚乙烯(HDPE)管安装应符合下列规定:
1 当采用切割机切割时,切口应垂直于管中心;
2 应采用热熔对焊或电熔连接;
3 预制管段不宜超过10m,预制管段之间的连接应采用电熔、热熔对焊或法兰连接;
4 悬吊水平管宜采用电熔连接,且与固定件配合安装;
5 当管道对焊连接时,焊接压力应根据壁厚确定,对焊压力宜为截面积乘以0.15MPa。
9.4.4 其他塑料管道安装应符合国家现行相关标准的要求。
9.4.5 排出管安装应符合下列规定:
1 管材选用及敷设应符合设计要求;
2 埋地管道不宜采用不锈钢管,当采用不锈钢管时,应采取防腐措施;
3 当埋地雨水管穿入检查井时,与井壁接触的管端部位应涂刷两道胶粘剂,并滚上粗砂,用水泥砂浆砌入,防止漏水。
9.5.1 雨水潜水泵的规格、型号应符合设计要求,并应有产品合格证和安装使用说明书。
9.5.2 雨水潜水泵的安装应符合现行国家标准《机械设备安装工程施工及验收通用规范》GB 50231、《压缩机、风机、泵安装工程施工及验收规范》GB 50275的有关规定。
9.5.3 每台雨水潜水泵出水管上应安装排水止回阀、控制阀、压力表和可曲挠接头,压力表量程应为工作压力的2倍~2.5倍。
9.6.1 排水管道固定件设置应符合下列规定:
1 排水管道固定件应能承受满流管道的重量和水流作用力及管道热胀冷缩产生的轴向应力;
2 排水管道金属固定件的内、外层应采取防腐处理措施;
3 管道支吊架应固定在承重结构上,位置应正确,埋设应牢固。
9.6.2 钢管的支、吊架间距,横管钢管管道支架最大间距应符合表9.6.2的规定;立管应每层设置1个。
表9.6.2 钢管管道支架最大间距
9.6.3 当采用不锈钢管时,不锈钢悬吊管支、吊架最大间距应符合表9.6.3的规定。
表9.6.3 不锈钢管悬吊管支、吊架最大间距

9.6.4 排水铸铁管支、吊架的横管间距不应大于2m,立管间距不应大于3m。当楼层高度不大于4m时,立管可安装1个支架。
9.6.5 钢管沟槽式接口、排水铸铁管机械和卡箍接口,其支、吊架位置应靠近接口,但不得妨碍接口的拆装。
9.6.6 卡箍接口排水铸铁管在弯管处应安装拉杆装置进行固定。
9.6.7 高密度聚乙烯(HDPE)悬吊管固定应符合下列规定:
1 应采用方形钢导管固定,方形钢导管尺寸应符合表9.6.7-1的规定;
2 方形钢导管应沿HDPE悬吊管悬挂在建筑承重结构上,HDPE悬吊管宜采用导向管卡和锚固管卡连接在方形钢导管上;
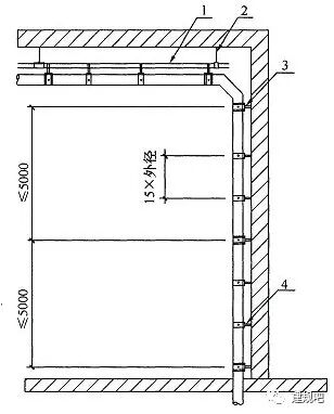
3 方形钢导管悬挂点间距和导向管卡、锚固管卡(图9.6.7-1、图9.6.7-2)的设置间距,HDPE横管固定件最大间距应符合表9.6.7-2的规定。
表9.6.7-1 方形钢导管尺寸(mm)

图9.6.7-1 DN40~DN200的HDPE管横管固定安装示意图
AA—悬挂点间距;FA—锚固管卡间距;RA—导向管卡间距;1—方形钢导管;2—悬挂点;3—锚固管卡;4—导向管卡
表9.6.7-2 HDPE横管固定件最大间距(mm)


图9.6.-2 DN250、DN315的HDPE管横管固定安装示意图
1—方形钢导管;2—悬挂点;3—锚固管卡;4—导向管卡
9.6.8 高密度聚乙烯(HDPE)悬吊管的锚固管卡设置应符合下列规定:
1 锚固管卡应安装在管道的起始端、末端以及Y形支管的三个分支上,锚固管卡的距离不应大于5m;
2 当雨水斗与立管之间的悬吊管长度大于1m时,应安装带有锚固管卡的固定件;
3 当HDPE悬吊管管径大于DN200时,每个固定点应使用2个锚固管卡;
4 当雨水斗下端与悬吊管的距离大于或等于750mm时,悬吊管或方形钢导管上应增加2个侧向锚固管卡。
9.6.9 HDPE立管的锚固管卡间距不应大于5m,HDPE导向管卡间距不应大于15倍管径(图9.6.9)。

图9.6.9 HDPE管垂直固定安装示意图
1—方形钢导管;2—悬挂点;3—锚固管卡;4—导向管卡
9.6.10 HDPE管道固定件应与管材配套。
9.6.11 雨水立管的底部弯管处应按设计要求设支墩或采取其他固定措施。
内容源于网络,旨在分享,如有侵权,请联系删除
相关资料推荐:
https://ziliao.co188.com/d62453587.html
知识点: 《建筑屋面雨水排水系统技术规程》-9 、施工安装
0人已收藏
0人已打赏
免费3人已点赞
分享
建筑给排水
返回版块47.29 万条内容 · 1372 人订阅
阅读下一篇
加压提升雨水系统设计8.1 一般规定 8.1.1 地下室车库出入口坡道、与建筑相通的室外下沉式广场、局部下沉式庭院、露天窗井等场所应设置雨水加压提升排放系统。当排水口及汇水面高于室外雨水检查井盖标高时,可直接重力排入雨水检查井。8.1.2 加压提升雨水系统应由雨水汇集设施、集水池、加压装置和排出管道构成。8.1.3 连接建筑出入口的下沉地面、下沉广场、下沉庭院及地下车库出入口等,应采取防止设计汇水面以外的雨水进入的措施。
回帖成功
经验值 +10
全部回复(0 )
只看楼主 我来说两句抢沙发