土木在线论坛 \ 建筑结构 \ 混凝土结构 \ 多梁交汇处柱帽做法

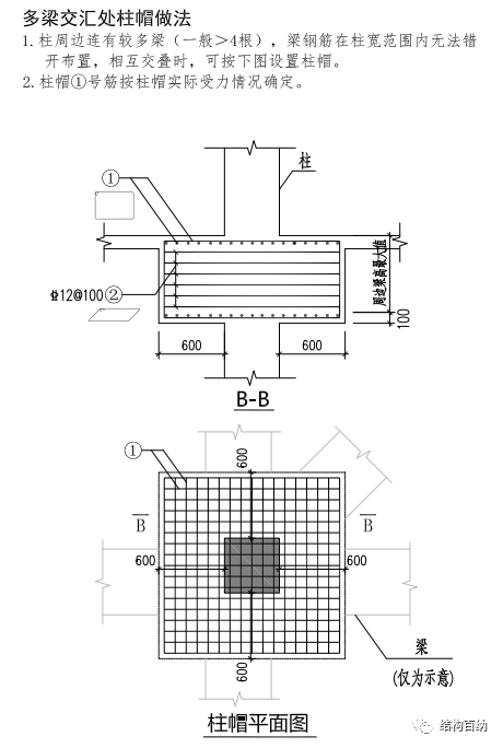
多梁交汇处柱帽做法

发布于:2023-01-20 13:31:20 来自:建筑结构/混凝土结构 [复制转发]

图片

图片

万达某项目

图片

华润

来源:结构百纳

知识点:多梁交汇处柱帽做法

柱子、柱头、柱帽


全部回复(0 )

只看楼主 我来说两句抢沙发
这个家伙什么也没有留下。。。

混凝土结构

返回版块

140.17 万条内容 · 2213 人订阅

猜你喜欢

阅读下一篇

大跨度楼梯设计要点分析

恒载9KN/m,活载4.5KN/m,平面投影23m,梯梁300X1200,梯柱400X400,C30 1.0D+1.0L 位移 从上图可以看出:(1)第2和第6位移最大,其边界均为两端铰接,77mm和65mm的差别主要是因为第2种梯梁倾斜自重更大。(2)第3、4、5位移比第1种都小,第3种梯柱距离下支座水平距离只有1.9m,其位移也比第1种的一端固结,一端铰接位移要小。

回帖成功

经验值 +10