土木在线论坛 \ 电气工程 \ 电气工程原创版块 \ 隔空传电——神奇的互感现象

隔空传电——神奇的互感现象

发布于:2023-01-11 17:09:11 来自:电气工程/电气工程原创版块 [复制转发]

知识点:互感现象

物理演示厅有一个神奇的设备,有三部分,一部分是电源连着的线圈,一部分是实心铁柱,还有一部分是连着线圈的音响。当你给电源通电,把音响连着的线圈靠近电源的线圈,竟然神奇的出现了音乐!明明音响是“断路”的,为什么还能有电来驱动音响发声呢?想要了解它就请继续往下看吧,隔空传电——神奇的互感现象!

物理背景

图片

       互感现象是磁感应中的一个重要现象,互感器在无线技术、电力工程中有着其广泛的应用。在实际应用中的各种规格的变压器,就是一种互感器件。通过互感线圈可以将一个电信号从初级线圈传递到次级线圈。

       互感现象是指二相邻线圈中,一个线圈的电流随时间变化时导致穿过另一线圈的磁通量发生变化,而在该线圈中出现感应电动势的现象。

        1838年亨利做了关于不同等级感应电流的实验,这些实验都属于互感实验。以电流感应电流是法拉第观察到的。引起感应电流的那个电流称为原电流,感应电流称为次级电流。由于法拉第的次级电流是瞬时的,所以它也可以在第三个线圈中引起感应电流。

        互感现象中的感应电动势称为互感电动势。当两个线圈的电流可以相互提供磁通时,就说他们之间存在互感耦合,或简单说成存在互感。设线圈1、2是存在互感耦合的两个线圈。令ψ12表示线圈1中电流I1产生的磁场对线圈2提供的磁通匝链数。ψ12=N2φ12,式中N2为线圈2的匝数,φ12为I1产生的磁场对线圈2中每一匝提供的磁通。同理,ψ21为线圈2中电流I2产生的磁场对线圈1提供的磁通匝链数。ψ21=N1φ21。理论表明ψ12与I1成正比,ψ21与I2成正比,其比例系数称为两个线圈间的互感系数。简称互感。其数学表述为M12=ψ12/I1,M21=ψ21/I2。可以证明M12=M21=M,所以一般互感系数用M表示。互感系数在数值上等于一个线圈中电流为1安培时对另一线圈所提供的磁通匝链数。在没有铁心的情况下,互感系数与电流无关,只由两个线圈的形状、匝数、相对位置决定。互感电动势可表示为

图片
图片

而加入铁芯将大大增加互感系数,从而使声音增大几倍。

图片

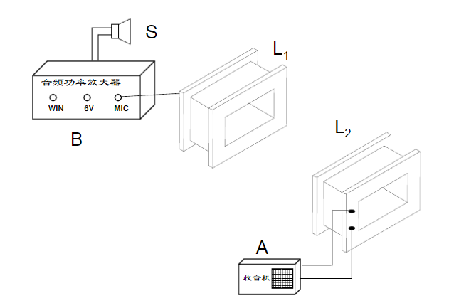
仪器介绍

图片


A:?收音机输出信号。?B:??音频功率放大器。?

L1:??互感的初级线圈。阻抗约几个欧姆。?L2:??互感的次级线圈。阻抗约数百欧姆。?M:??用硅钢片迭成的铁芯。??S:扬声器。

相关推荐:

1、GB5226.1-2008 机械电气安全

2、GB19517-2009国家电气设备安全技术规范


  • 土木小唐
    土木小唐 沙发

    收藏!!

    2023-03-28 14:23:28

    回复 举报
    赞同0
这个家伙什么也没有留下。。。

电气工程原创版块

返回版块

2.2 万条内容 · 598 人订阅

猜你喜欢

阅读下一篇

力率电费如何计算?力率电费的计算方法

知识点:力率 1、功率因数的计算: 凡实行功率因数调整电费的用户,应装设无功电度表。按每月实用有功电量和无功电量,计算月平均功率因数。 凡实行功率因数调整电费的用户,应装设带有防倒装置的无功电度表。按每月实用有功电量和无功电量,计算月平均功率因数。 cosδ=?再从cosδ对照表中查出cosδ的数值。 功率因素计算一律取小数后二位为止,二位以后四舍五入,然后通过功率因功调整电费表查上相应的功率因数调整电费比例。

回帖成功

经验值 +10