知识点:绝缘接地线夹
高压架空线路使用的线夹类型中,直线船型线夹、压接耐张管式的耐张线夹比较常见,同时也存在预绞式线夹与楔式线夹,楔式线夹以其简单的结构和安装方式受到不少安装、运行部门的推荐,预绞式线夹是OPGW的标配线夹,现在又称为“三跨”段常见的后备线夹型式,今天来看看这两种线夹的结构、注意事项。
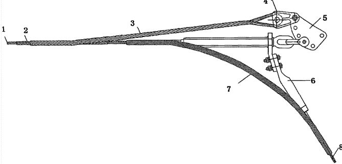
楔式线夹可代替常见的压缩性耐张线夹,也可作为后备线夹,可用于地线,也可用于导线。由于结构特点原因,楔式线夹仅用于耐张塔。
楔式线夹腔体内有楔块,导线与线夹发生相对位移时,导线、楔块、线夹腔体三者自动压紧确保线夹对导线的握力,其结构如图1。

图1 楔式线夹结构
图1中1为线夹腔体,3和4即为楔块,用以压紧导地线,同时下楔块3有尾巴引出,对于常规楔式线夹,此处可以安装跳线,对于楔式后备线夹,由于不需要接跳线,此处可能没有引出装置。某楔式线夹拆解如图2,现场安装图如图3。

图2 楔式线夹拆解

图3 楔式线夹(后备线夹)现场安装图
1)楔式后备线夹的安装预紧力
楔式线夹的楔块往拉紧方向无法移动,但反方向可以移动,如果楔式线夹与导地线之间没有拉紧,则在长期风振作用下会导致楔块慢慢送出,因此楔式后备线夹安装时必须施加预紧力,同时要有必要的防松措施。
2)安装楔式线夹后的防震锤位置
楔式线夹安装后其断口必然成为固定点,因此防震锤的安装距离应从楔式线夹腔体出口处开始计算。
OPGW内部是通信光纤,一般的压接式耐张线夹在压接过程中容易损坏内部光纤,预绞式线夹则没有这样的问题,因此预绞式线夹最早应用于OPGW,包括直线线夹与耐张线夹。随着技术发展,也逐步用于一般线路。近年来,运行部门对三跨的关注则开拓了预绞式线夹的新用途—作为三跨段的后备线夹(安全备份线夹)。
1)地线预绞式后备线夹
地线后备线夹的目的是当地线原有耐张线夹出口发生断线时(运行统计表明地线断线绝大部分发生在线夹出口),利用后备线夹给地线提供握力,使之与导线可靠连接,避免地线掉落事故。
预绞式后备线夹外形、结构如图4、图5,预绞丝形成空管,内表面含有砂粒,安装时将预绞丝缠于地线之上,利用预绞丝压紧力和内表面的砂粒提供握力。根据现场地线的尺寸,后备线夹的预绞丝有2层、1层之分,2层结构即地线外先装一层预绞丝,在预绞丝之外再装带环的预绞丝线夹,两层预绞丝内均有沙粒。

图4 预绞式线夹外形

图5 预绞式线夹安装简图
2)预绞式OPGW线夹
对于OPGW而言,预绞式线夹就是承担机械拉力的部件,可分为耐张、直线两类,耐张现场安装如图6,直线现场安装如图7。

图6 OPGW耐张预绞式线夹
OPGW耐张预绞式线夹主要结构与上文的地线预绞式后备线夹一致,通过预绞丝、内部沙粒与OPGW紧密接触提供握力,需注意的是OPGW耐张预绞式线夹均为2层预绞丝结构,内层预绞丝一方面对OPGW提供保护,另一方面使外层预绞丝形变更明显、保证足够的握力。此外对于需要接地的杆塔,部分预绞式耐张线夹配有带有专用引流线,以保证OPGW接地良好。

图7 OPGW直线预绞式线夹
OPGW直线预绞式线夹与耐张相比有2处不同,一是一般情况直线预绞式线夹内部没有沙粒,因为直线塔不需承受导线拉力;二是线夹与塔身相连处的结构不同,通过特殊的扩径保护与金具相连接于塔身。
3)导线预绞式后备线夹
导线在发生原有耐张线夹缺陷时,导线预绞式后备线夹可以作为一种临时处理措施,提供足够的握力和通流能力,结构如图8。

图8 导线预绞式后备线夹
1、导线;2、内层预绞丝;3、外层预绞丝;4、新型环
5、调整板;6、原有引流线夹;7、引流线
图8中利用预绞丝2和3与调整板连接提供机械支持,利用引流线7连接导线和原有引流跳线,实现通流,从而避免因耐张线夹引流板位置出现过热等缺陷时影响导线的通流。
1)预绞式后备线夹的接地方式及内部沙粒材质
预绞丝内部的砂粒有两种,一种是不导电的金刚砂,形成的预绞式线夹的导地线—预绞丝界面导电性能相对较差,一般不用于可能发生通流的区域。另一种沙粒是掺杂了金属的导电砂,具备一定的导电能力,用于可能发生通流的工况。
对于地线逐塔绝缘的线路,为了不改变原有接地方式,后备线夹采取绝缘化处理(如后备线夹金具串一片绝缘子),地线平时感应电流幅值极低,发生雷电反击时一般通过地线绝缘子间隙导通泄放雷电能量,此时后备线夹不会承担通流作用,因此线夹内部沙粒可以采用金刚砂。
对于地线逐塔接地的线路,一般后备线夹通过金具与塔身直接接地,平时线路感应电流较大、发生雷电反击时会有电流从后备线夹通过,此时后备线夹中应采用导电砂。
对于地线耐张段单端接地的线路,则预绞式后备线夹接地方式与所在塔位原地线接地方式相同,同时绝缘化处理的,可以用金刚砂,直接接地的后备线夹内部应采用导电砂。这也是预绞式后备线夹的接地方式、砂粒选取原则。
2)预绞式线夹与导地线的材质配合
预绞式线夹相当于在导地线外增加了一层金属护线条,两者之间如果材质配合不良,在雨水电导率较大时会带来电化学腐蚀问题。因此一般选择与导地线相同材料作为预绞式线夹材质。
3)预绞丝的尾端处理
预绞丝尾端应处理成圆形以避免电晕,同时应避免预绞丝隆起从而与导地线接触不良的情况。
相关推荐链接:
1、电磁铁设备说明
0人已收藏
0人已打赏
免费1人已点赞
分享
风力发电技术
返回版块8747 条内容 · 209 人订阅
阅读下一篇
配电线路平行集束电缆知识点:架空平行集束绝缘导线 4.1适用范围适用于1kV及以下集束型架空电缆线路施工。 4.2施工流程 施工流程图见图4-1。 4.3工艺流程说明及主要质量控制点 4.3.1施工准备 4.3.1.1 技术准备:熟悉设计施工图纸和平行集束电缆施工技术要求。4.3.1.2
回帖成功
经验值 +10
全部回复(0 )
只看楼主 我来说两句抢沙发