
1 简支板桥

R跨径:
RC板≤13m;PC板≤25m。
2 ?连续板桥
R 跨径:
RC板≤16m
PC板≤30m

超静定结构,支点负弯矩可减小跨中正弯矩,要求地基条件好。
3 ?悬臂板桥
R 跨径:
中跨介于连续板和简
支板之间,边跨为中
跨的0.3倍左右。

静定结构,悬臂根部负弯矩可减小跨中正弯矩。
1 整体式板桥
?特点:整体性好,横向刚度较大,施工较简便。
?适用:常用跨径4~8m、不规则桥梁
?横截面:等厚度板、矮肋式板,高跨比一般为1/16~1/23

R主钢筋直径:行车道板d ≮10mm ,人行道板d≮8mm;
主钢筋间距:简支板跨中和连续板支点处为200mm。
板中间2/3板宽范围:按正常计算配置主钢筋;
板两侧各1/6板宽范围:主钢筋数量比板中间增加15%;
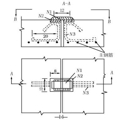
R弯起钢筋:
在(1/4~1/6)L0弯起,角度30?~45?。
通过支点的不弯起主钢筋,每米板宽内≮ 3根,且 ≮主钢筋截面面积的1/4。


2装配式空心板
?特点:
重量小,运输安装方便,建筑高度较T梁小。
?标准图:
R钢筋砼简支板桥标准图:
跨径:6.0、8.0、10.0、13.0m;
板厚:0.4~0.8m;
R预应力砼简支板桥标准图:
跨径:8.0、10.0、13.0、16.0m ;
板厚:0.4~0.9m;
?一般构造
R空心板桥顶板和底板厚度: ≮80mm;
R人行道板厚度:现浇砼板≮80mm;预制砼板≮60mm;




1 企口混凝土铰连接

2 钢板焊接联接

斜交角
斜交板桥的桥轴线与支承
线垂线的夹角;
左斜
斜交角位于桥轴线左边;
右斜
斜交角位于桥轴线右边;

R荷载有向两支承边之间最短距离方向传递的趋势;
斜板中部:最大主弯矩垂直于支承边;
斜板边缘:最大主弯矩平行于自由边;
斜板两侧主弯矩:接近平行于自由边,但有向两支承
边垂线方向偏转的趋势。

角点受力情况可用比拟连续梁的工作来描述;

均布荷载下,桥轴线方向跨长相等时.斜板桥最大跨内弯矩比正桥小;跨内纵向最大弯矩随斜交角的增大,自中央向钝角方向移动;

均布荷载下,斜交板桥的跨中横向弯矩比正交桥大,即横向弯矩增大的量,相当于跨径方向弯矩减少的量。
整体式斜板桥的配筋


底层钢筋:
位置:钝角两侧1.0m~1.5m边长的扇形面积内;
方向:与钝角二等分线平行;
钢筋要求:间距10~375px,Φ≮12mm;
顶层钢筋:
位置:钝角两侧1.0m~1.5m边长的扇形面积内;
方向:与钝角二等分线垂直;

加强钢筋平行于自由边的钢筋带
位置:自由边边缘上下层各设一条;
要求:直径为主钢筋直径,≮3根,并用箍筋箍牢;
作用:抵抗板内扭矩;

装配式斜板桥的配筋



?加强钢筋
斜交板桥的计算:





内容源于网络,旨在分享,如有侵权,请联系删除
相关资料推荐:
装配式钢筋混凝土斜空心板桥上部构造6、8、10米空心板结构设计施工图
https://ziliao.co188.com/d62764962.html
知识点:板桥的设计与构造图文详解
0人已收藏
0人已打赏
免费4人已点赞
分享
桥梁工程
返回版块19.44 万条内容 · 655 人订阅
阅读下一篇
桥梁主体工程施工要求Ⅰ.钻孔灌注桩 根据地质情况,本合同段钻孔桩采用CZ30型冲击钻管锥分次成孔法钻进成孔,施工方法如下: 测量定位 采用全站仪坐标法对钻孔桩桩位放样,埋好护筒后在护筒四周标记。 Ⅱ、钻孔前准备 (1)平整场地,围堰筑岛旱地岛面高于地面10~20cm,水中筑岛岛面标高应高于施工水位1.0~1.5m,筑岛顶面面积应满足钻机和吊机行走需要。 (2)埋设护筒护筒用6~10mm钢板卷制,护筒直径较钻孔直径大20~25cm,长度视地质条件不同而异,一般采用开挖埋设法,开挖直径应比护筒外径大80~100cm,吊装就位后,对中检查,平面中心位移不大于50cm,保持垂直,用粘土沿四周对称分层填压夯实,护筒的埋深旱地不少于1m,护筒顶面应高于岛面0.2~0.5m,并高于施工水位或地下水位1.5~2.0m,水中墩、护筒底应进入河床底不少于0.5m。
回帖成功
经验值 +10
全部回复(11 )
只看楼主 我来说两句-
把姓名忘了00
沙发
2024-04-25 10:50:25
赞同0
-
jzhdajia
板凳
2022-12-04 10:20:04
赞同0
加载更多真好,学习到了,谢谢楼主分享好资料给大家,我想问有没有图集,供大家下载,想要一份,先谢谢了,板桥最薄 的是那种构造,能让三轮车过的结构,桥面厚多少
回复 举报
板桥的设计与构造图文详解,原来板桥有这么多的弯弯道道!谢谢楼主分享好资料谢谢啦。
回复 举报