知识点:隔离变压器
传统的单相电源线由火线、零线和地线组成。当多个物理上分开的设备共用一条电源线时,由于设备的接地电位不同,有可能产生接地回路。这些接地回路在医疗设备中尤其成问题,并且在设备测试期间可能会造成麻烦。对于设计人员而言,很难用使用整流线路电压的设备来测量接地环路。接地的测试设备(如示波器)可能会在无意中导致这些设备的电源短路。而且,交流电源线上会产生高频噪声,从而导致敏感的传感器和仪器出现问题。
通过在电源输入端与设备之间正确使用隔离变压器,可以避免所有这些问题。
隔离变压器有助于隔离电源线接地连接,以消除接地回路和测试设备意外接地。此外,还能抑制电源上的高频噪声。
本文将使用来自Hammond Manufacturing、Bel/Signal Transformer和Triad Magnetics的示例器件,来讨论隔离变压器的特征、选择标准和应用。
隔离变压器工作原理
在图中,初级绕组绕铁磁芯NP匝,次级绕组绕NS匝。初级电压(VP) 和次级电压 (VS) 之间的关系如公式1所示:
公式1
如果初级绕组的匝数多于次级绕组,则次级绕组上的电压将低于初级绕组上的电压。这是一个降压配置。如果初级绕组的匝数少于次级绕组,则次级绕组上的电压将高于初级绕组上的电压,从而导致升压配置。大多数隔离变压器的初级和次级绕组匝数相同,因此初级和次级电压也相同。
变压器中的能量是守恒的,因此,如果我们忽略损耗,则VP与初级电流(IP) 的乘积将等于VS与次级电流(IS) 的乘积。变压器的额定功率由初级绕组的RMS电压乘以RMS初级电流的乘积来确定。这是“视在功率”,度量单位为伏安或VA。
原理图上的点是定相点,表示初级和次级电流方向。如图所示,流入绕组初级点侧的电流会导致次级电流从绕组次级点侧流出。如果绕组要串联或并联放置,这一点很重要。不遵循绕组的定相可能会导致错误。
法拉第屏蔽是一种静电屏蔽,可减小初级绕组与次级绕组之间的电容,并且通常接地。该屏蔽可降低通过变压器的共模噪声和瞬变的幅度。
隔离变压器中的初级和次级绕组高度绝缘,以最大程度地减少彼此之间的直接电导。绝缘效果的衡量标准是漏电电流。大多数隔离变压器也使用高电势或耐压测试仪进行测试。当检查漏电电流时,这些仪器会在绝缘两端施加高电压。
隔离变压器的物理结构可以有多种形式,包括壳式结构(图2)。其中,初级绕组和次级绕组以同心方式包裹着绝缘层,法拉第屏蔽插入这两层之间。

法拉第屏蔽可以为箔层或密绕绕组,如图所示。接地通常位于初级侧,与大地相连。由于初级绕组和次级绕组已经使用了漆包线,因此这种结构称为“双绝缘”。
或者,绕组可以并排放置在磁芯上,这称为“多槽线架”结构,也可以绕在环形磁芯上。
商业隔离变压器

图3:端盖上装有屏蔽罩的隔离变压器示例。(图片来源:Hammond Manufacturing)
图4:Bel/Signal Transformer的DU1/4是一款开放式隔离变压器,带有两组初级和次级抽头绕组。(图片来源:Bel/Signal Transformer)
图5:DU1/4的双绕组允许许多可能的接线配置,包括1:1、2:1、1:2电压比。(图片来源:Digi-Key Electronics)
医疗隔离

图6:MD-500-U是一款适用于医疗应用的500VA隔离变压器。漏电电流为10?A(典型值),并使用一个环形变压器来保持紧凑结构,最大程度上减少杂散磁场。(图片来源:Triad Magnetics)
MD-500-U采用环形变压器,在最大程度上减小尺寸的同时实现杂散磁场最小化和效率最大化。像大多数独立医用变压器一样,它牢牢封装在一个钢制外壳中,内置保险丝和热熔断开关。
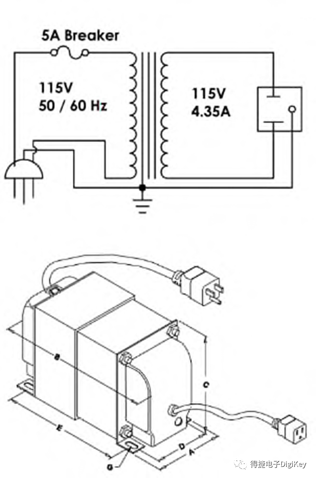
典型的隔离变压器应用
总结
相关推荐链接:
1、某市三级甲等医院五层急诊大楼电气工程设计CAD图(含网络通信和火灾报警系统)
0人已收藏
0人已打赏
免费10人已点赞
分享
电气工程原创版块
返回版块2.2 万条内容 · 598 人订阅
阅读下一篇
干式变压器的结构、冷却、安装与调试等知识详述知识点:干式变压器 干式变压器是指铁心和绕组不浸干式变压器是指铁心和绕组不浸将线圈和铁心浇铸在一起, 并采用自然冷却或风冷的一种电力变压器。作为后兴起的变配电设备, 已广泛使用于工厂车间、高层建筑、商业中心、机场、码头、地铁、石油平台等场所的输变电系统, 并可与开关柜一起组成结构紧凑的成套变电站。
回帖成功
经验值 +10
全部回复(3 )
只看楼主 我来说两句-
l2515848
沙发
2023-01-11 20:40:11
赞同0
-
土木小唐
板凳
2022-12-20 09:48:20
赞同0
加载更多谢谢无私奉献
回复 举报
很好的文章,值得学习!
回复 举报