

施工阶段临时结构的稳定和侧向承载力分析


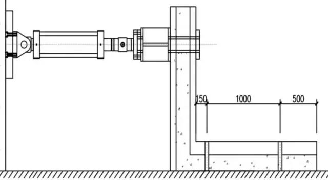
节点低周往复试验
通过系列力学试验研究,采用合理的构造措施,叠合装配式管廊构件和节点的承载力和延性均能等同现浇。
(内容来源于网络,如有侵权请联系删除)
相关推荐:
知识点:叠合装配式管廊力学性能如何?
0人已收藏
0人已打赏
免费0人已点赞
分享
装配式施工
返回版块9504 条内容 · 132 人订阅
阅读下一篇
什么是叠合装配综合管廊?地下综合管廊叠合装配式建造方式是将管廊本体结构中的墙板、顶板的部分进行预制,运抵现场后进行快速拼装,再二次浇筑混凝土形成整体结构的建造工艺,并采用BIM技术和物联网技术实现装配式管廊从深化设计、预制加工、现场吊装到后期运维的全过程管理。
回帖成功
经验值 +10
全部回复(0 )
只看楼主 我来说两句抢沙发