钢筋套筒灌浆连接是一种在预制混凝土构件内预埋成品套筒,从套筒两端插入钢筋并注入灌浆料而实现的钢筋连接方式

套筒灌浆作业原理图
灌浆套筒连接分为全灌浆套筒连接和半灌浆套筒连接。半灌浆套筒上部内侧车丝,连接钢筋套丝,钢筋与套筒通过丝扣连接。

全灌浆套筒连接
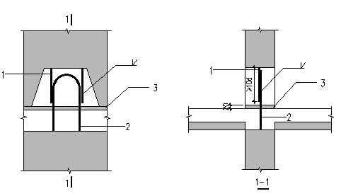
1—连接钢筋 2—出浆孔 3—套筒 4—注浆孔 5—灌浆料

半灌浆套筒连接
1—连接钢筋 2—出浆孔 3—套筒 4—注浆孔 5—灌浆料
(1)灌浆套筒连接可以用于框架柱与框架柱连接。

框架柱钢筋套筒灌浆连接示意
1—框架柱 2—半灌浆套筒 3—钢筋
(2)钢筋灌浆套筒连接可以用于剪力墙的竖向连接。


剪力墙钢筋套筒灌浆连接示意
1—框架柱 2—框架梁 3—全灌浆套筒
螺旋箍筋浆锚搭接是一种通过螺旋箍筋浆加强搭接钢筋预留孔道的预留孔钢筋灌浆连接方式。预留构件后插入钢筋部分增设预留孔道,钢筋插入后灌浆连接。两根搭接的钢筋外圈混凝土用螺旋钢筋加强,混凝土受到约束,从而使得钢筋可靠搭接。


螺旋箍筋浆锚搭接连接示意
1—钢筋 2—螺旋箍筋 3—插筋
波纹管浆锚搭接是一种用波纹管加强预留孔道的钢筋灌浆连接方式。波纹管对后插入管内的钢筋和灌入的灌浆料进行约束,实现钢筋的搭接连接。
钢筋波纹管浆锚搭接连接示意


后浇混凝土钢筋连接
钢筋的螺纹套筒连接可以用于装配式建筑,先将钢筋车丝,然后拧入螺纹套筒内即实现钢筋的连接。


钢筋螺纹套筒连接示意
1—螺纹套筒接头;2—钢筋
螺纹套筒连接要求连接钢筋定位精度要求高,在预制构件中应用难度大。 但是可以同转接的方式来降低精度要求。

一种转接钢筋螺纹套筒连接示意


冷挤压钢筋连接示意

冷挤压钢筋连接原理图
钢筋套筒冷挤压连接是把带肋钢筋从两端插入套筒内部后,挤压套筒使其筒变形,从而实现钢筋连接的一种钢筋连接方式。可用于框架梁柱钢筋连接。

注胶套筒连接示意



环形钢筋绑扎连接


搭接(一)工程实例

搭接(二)工程实例
钢筋绑扎搭接连接是指两根钢筋用绑线绑扎搭接到一起,然后浇混凝土形成钢筋的连接。根据结构的抗震等级及构造要求不同搭接形式也不同。一二级级抗震底部非加强部分、三四级抗震、和非抗震可以采用搭接(一),即单个截面内100%搭接。此种搭接多用于柱子、剪力墙的竖向钢筋搭接。
直筋无绑扎搭接连接是一种两根钢无需绑扎,直接搭接到一起,然后浇混凝土形成钢筋的连接的连接方式。根据结构的抗震等级及构造要求不同搭接形式也不同。此种搭接多用于叠合板剪力墙和圆孔剪力墙的竖向钢筋搭接。

钢筋搭接连接示意

叠合板密拼接缝

叠合板密拼接缝

叠合板板支座
单向板的密拼连和叠合板与支座的连接也属于无绑扎搭接连接。
钢筋焊接连接是一种采用对焊或搭接焊等把筋直接焊接到一起的连接方式。焊接连接多用于低多层剪力墙结构连接。

钢锚环连接
1— 预制墙板;2—钢筋;3—带螺纹的预埋件;4—连接环

钢筋焊接连接实例
(内容源于网络,如有侵权请联系删除)
知识点:灌浆连接技术
相关推荐:
0人已收藏
0人已打赏
免费0人已点赞
分享
装配式施工
返回版块9504 条内容 · 131 人订阅
回帖成功
经验值 +10
全部回复(0 )
只看楼主 我来说两句抢沙发