知识点:电磁先导阀
先导式电磁阀是一种电磁力只作用于先导阀,主阀依据先导阀的指令,完全依靠介质压差的作用而完成其动作功能的电磁阀。由于体积小、价格低,这类电磁阀在控制系统中应用最广泛。先导式电磁阀由两大组件组成,上部件为先导阀,下部件为主阀。先导阀和主阀间通过在阀盖上的管道相联系,并通过这种联系用先导阀的动作来控制主阀的开关。
先导电磁阀的特点是先导阀先动作,然后依靠管路压差(阀前与阀后的压差)完成主阀的开启或关闭。先导式电磁阀具有先导阀行程短、电磁力小、耗电量低(功率小)、结构简单紧凑、外形小、公称尺寸范围广泛(DN6~500)等特点。
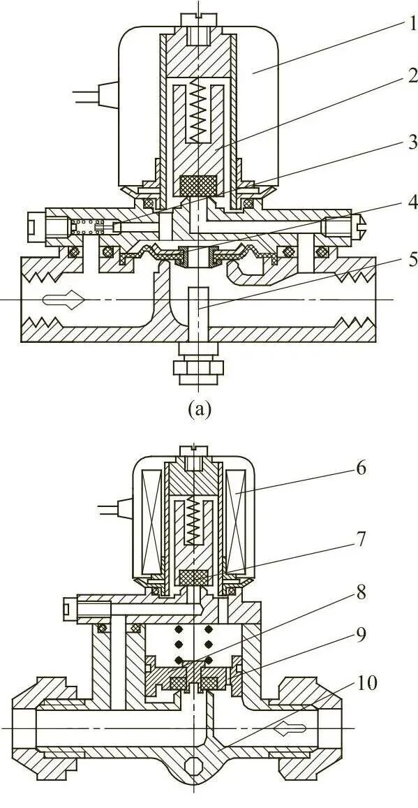
先导式二位二通电磁阀(图1)由两大部分组成,上部件为先导阀,下部件为主阀,先导阀和主阀间通过在阀盖上的管道相联系,并通过先导阀的动作由介质的压差控制主阀的开启或关闭。

图1 先导式二位二通电磁阀
1,6—电磁头;2,7—先导阀;3—节流孔;4—膜片;5—手动装置;8—活塞;9—平衡孔;10—阀体
先导式电磁阀的主阀有膜片式和活塞式两种结构,膜片结构较活塞结构价格低廉,不易磨损。但橡胶片易老化,有时性能不可靠,但膜片更换方便。
当线圈通电,先导阀开启,膜片或活塞(主阀)腔的工作介质由先导孔外泄到阀的出口端。一部分工作介质由平衡孔进入膜片或活塞腔,由于平衡孔进入的流量远小于先导孔排出的流量,使膜片或活塞腔的介质压力急剧下降。而膜片或阀塞下方的介质压力仍维持不变与进口介质压力相同。这样膜片或阀塞的内外便有了压力差。正是这种压差,促使膜片或活塞克服自重与弹簧力而上提(上浮),使工作介质在管路内流通。
当线圈断电时,先导阀关闭,主阀腔的工作介质不能外泄,而进口来的工作介质仍从平衡孔不断地涌入主阀腔内,导致活塞内外的压力逐渐消失而趋于平衡。于是主阀靠自重和弹簧力迅速关闭主阀口,使管路内的工作介质切断。
先导式二位三通电磁阀(图2)同样由先导阀组及主阀两大部分组成。主阀的进口端有工艺通道使介质与先导阀相通。通过电磁线圈的通电与断电,使先导阀控制主阀完成下面的功能:进口与工作口接通或关闭;工作口与排空口接通或关闭。

图2 二位三通截止式电磁阀
1—先导排空口;2—电磁头;3—动铁芯;
4—手动装置;5—先导口;6—阀盘组;7—阀体
当电磁阀通电时,线圈产生电磁力,拉动铁芯向上运动打开先导阀口,进气口P端气体进入阀盘组上腔,在压差作用下,阀盘组向下运动关闭阀体上阀座口,即排空口O,同时打开主阀下阀座口,进气口P与工作口A接通,工作介质由P口进入A口。
当电磁阀断电时,线圈电磁力消失,动铁芯在弹簧力作用下向下运动关闭先导阀口,阻断P口介质进入阀盘组上腔,在压差作用下,阀盘组向上运动关闭主阀下阀座口,即进气口P,同时打开阀体上阀座口,即排空口O,工作口A与排空口O接通,工作介质由A口进入O口。阀盘组上方的气体由先导排空口排入大气中。
先导式二位四(五)通电磁阀(图3)同样由先导阀组和主阀两大部分组成。

图3 二位四(五)通先导电磁阀
1—主阀;2—阀盘组;3—先导阀组
单电控二位四(五)通先导式电磁阀的工作原理:电磁阀有一个进气口P,有两个工作口A和B,有两个排空口S和R,P口有一工艺通道与先导阀相通。
当电磁阀在断电时进气口P与工作口B相通,工作口A端的气体由排气口R排出;当电磁阀在通电状态时进气口P与工作口A相通,工作口B端的气体由排气口S排出。二位四通电磁阀的排空口是共用一个排空口。
相关推荐链接:
0人已收藏
0人已打赏
免费2人已点赞
分享
电气资料库
返回版块70.18 万条内容 · 794 人订阅
阅读下一篇
电磁屏蔽机房建设方案知识点:电磁屏蔽室 一、基本概况 钢板直贴式电磁屏蔽机房是为适应用户不同需求而开发生产的电磁屏蔽室,它主要适用于屏蔽效能要求较高的电子产品测试、计量检修、信息保密系统、设备间防止电磁干扰以及防辐射等领域。它最明显的特点就是制作成本低,自身重量较轻。
回帖成功
经验值 +10
全部回复(0 )
只看楼主 我来说两句抢沙发