施工电梯通常称为施工升降机,但施工升降机定义更广,施工平台也属于施工升降机系列,单纯的施工电梯是由轿厢、驱动机构、标准节、附墙、底盘、围栏、电气系统等组成,是建筑中经常使用的载人、载货施工机械,由于其独特的箱体结构,乘坐起来既舒适又安全。
现有技术中的安全施工电梯在使用时,不可与楼层衔接卡紧,进而使轿厢在工作时容易意外坠落,同时施工人员在上下轿厢时安全性差,增大了意外事故的发生机率,进而降低实用性,且无法对施工人员与轿厢门之间进行阻挡分隔,导致轿厢内人员易倚靠轿厢门,进一步降低人员安全性,不方便使用。安全施工电梯以解决现有技术中的施工电梯在使用时的问题。
1 安全施工电梯组成
为实现上述目的,提供如下技术方案:1种安全施工电梯,包括轿厢,轿厢正面安装有轿厢门,轿厢底部设有托持组件。
托持组件包括竖杆、短杆、滑杆、滑槽、曲杆、支板、桥板、凸棱、凸块、圆杆、圆筒和支杆。
竖杆顶部与轿厢门底部内侧固定连接,竖杆底部固接有短杆,短杆底部固接有滑杆,滑杆外壁通过滑槽间隙配合有曲杆,曲杆正面通过支板固接有桥板,桥板顶部加工有凸棱,桥板底部固接有凸块,凸块后端固接有圆杆,圆杆外壁间隙配合有圆筒,曲筒外端通过支杆与轿厢的底部固定连接。
滑杆与滑槽构成滑动结构。滑杆、短杆和竖杆与轿厢门的位置对应设置。轿厢的内壁左右两侧均设有阻挡组件。阻挡组件包括竖板、转杆、挡杆、反光条、卡块、齿轮、齿条、凹槽和伸缩电机。
竖板外端分别与轿厢内壁左右两侧固定连接,竖板正面转动连接有转杆,转杆外壁固接有挡杆,挡杆外壁粘贴有反光条,挡杆底部抵紧有卡块,卡块后端与竖板正面下方固定连接,转杆外壁固接有齿轮,齿轮外端啮合连接有齿条,齿条外壁通过凹槽与轿厢内壁左右两侧间隙配合,齿条底部与伸缩电机输出端固定连接,伸缩电机外壁外侧与凹槽内壁固定连接。
挡板关于轿厢轴对称分布。齿轮与齿条呈紧密咬合状态。
2 安全施工电梯优点
与现有技术相比,该安全施工电梯通过轿厢、轿厢门和托持组件的配合,使得该装置在使用时,可通过滑杆与滑槽的间隙配合,以及圆杆与圆筒的间隙配合,使桥板可随着轿厢门的开合而滑动,在轿厢门张开时,可与楼层衔接卡紧,进而避免轿厢在工作时意外坠落,同时可提升施工人员在进出轿厢时的安全性,大大避免意外事故的发生,提升实用性。
该安全施工电梯,通过轿厢、轿厢门和阻挡组件的配合,使得该装置在使用时,可通过齿轮与齿条的啮合连接,以及转杆与竖板的转动连接,使得轿厢门开合时,伸缩电机可带动齿条上下滑动,进而带动挡杆在竖直位置向水平位置转动,进而对施工人员与轿厢门之间进行阻挡分隔,避免轿厢内人员倚靠轿厢门,进一步规范人员行为,保证人员安全,方便人们使用。
3 次安全施工电梯
结合安全施工电梯实例中的附图,对安全施工电梯实例中的技术方案进行清楚、完整的描述,显然,所描述的实例仅为安全施工电梯一部分实例,并非全部的实例。
次安全施工电梯提供1种技术方案:1种安全施工电梯,包括轿厢1,轿厢1的正面安装有轿厢门2,轿厢门2可在轿厢1的正面开口开合,轿厢1的底部设有托持组件3。
托持组件3包括竖杆301、短杆302、滑杆303、滑槽304、曲杆305、支板306、桥板307、凸棱308、凸块309、圆杆310、圆筒311和支杆312,竖杆301的顶部与轿厢门2的底部内侧固定连接,竖杆301的底部固接有短杆302,短杆302的底部固接有滑杆303,滑杆303、短杆302和竖杆301与轿厢门2的位置对应设置,这样设计使得滑杆303可随着轿厢门2运动,滑杆303的外壁通过滑槽304间隙配合有曲杆305,滑杆303与滑槽304构成滑动结构,这样设计使得轿厢门2张开时,曲杆305可向轿厢1的开口方向滑动,曲杆305的正面通过支板306固接有桥板307,桥板307的顶部加工有凸棱308,凸棱308用于增大桥板307的摩擦,桥板307的底部固接有凸块309,凸块309的后端固接有圆杆310,圆杆310的外壁间隙配合有圆筒311,圆筒311的圆杆310起到导向作用,曲筒311的外端通过支杆312与轿厢1的底部固定连接(图1、图2)。

图1 安全电梯结构示意
1—轿厢;2—轿厢门;3—托持组件;4—阻挡组件;301—竖杆;302—短杆;303—滑杆;304—滑槽;305—曲杆;306—支板;307—桥板;308—凸棱;309—凸块;312—支杆

图2??仰视结构示意
310—圆杆;311—圆筒
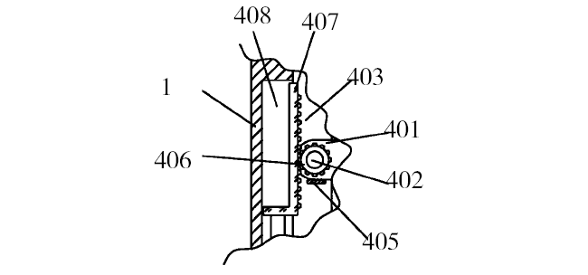
轿厢1的内壁左右两侧均设有阻挡组件4,阻挡组件4包括竖板401、转杆402、挡杆403、反光条404、卡块405、齿轮406、齿条407、凹槽408和伸缩电机409,竖板401的外端分别与轿厢1的内壁左右两侧固定连接,竖板401的正面转动连接有转杆402,竖板401使得转杆402受力时可转动,转杆402的外壁固接有挡杆403,挡板403关于轿厢1轴对称分布,这样设计使得档杆403水平时可对轿厢1的开口处进行阻挡,挡杆403的外壁粘贴有反光条404,反光条404可增加档杆403的可视度,挡杆403的底部抵紧有卡块405,卡块405的后端与竖板401的正面下方固定连接,转杆402的外壁固接有齿轮406,齿轮406的外端啮合连接有齿条407,齿轮406与齿条407呈紧密咬合状态,这样设计使得齿条407与齿轮406的传动更加顺畅,不易松动,齿条407的外壁通过凹槽408与轿厢1的内壁左右两侧间隙配合,齿条407的底部与伸缩电机409的输出端固定连接,伸缩电机409的型号为TG-700,伸缩电机409的外壁外侧与凹槽408的内壁固定连接(图3、图4)。

图3??局部剖视结构示意
401—竖板;402—转杆;403—挡杆;404—反光条;405—卡块;406—齿轮;407—齿条;408—凹槽;409—伸缩电机

图4??齿轮、挡杆和竖板结构示意
在本实例中,当使用该安全施工电梯时,首先将伸缩电机409连接外接电源,当轿厢1工作时,轿厢门2合并封锁,此时伸缩电机409带动齿条407向上滑动,通过齿条407与齿轮406的啮合连接,使得转杆402带动挡杆403向内转动,且与卡块405抵紧,进而对轿厢门2进行阻挡,避免施工人员倚靠轿厢门2造成意外,同时,当轿厢1停止时,轿厢门2分离张开,通过滑杆303与滑槽304的间隙配合,使得曲杆405带动向轿厢1的开口处进行滑动,通过圆杆310和圆筒311的间隙配合,使得桥板407随着曲杆405的滑动并延伸出去与楼层卡紧,进而避免轿厢1意外坠落,同时可提升施工人员上下轿厢1时的安全性,当轿厢门2合并封锁时,反向操作,桥板307复位,进而很大程度上提升实用性,方便人们使用。
此施工电梯的描述中,需要理解的是,术语“同轴”“底部”“一端”“顶部”“中部”“另一端”“上”“一侧”“顶部”“内”“前部”“中央”“两端”等指示的方位或位置关系为基于附图所示的方位或位置关系,仅是为了便于描述安全施工电梯和简化描述,而不是指示或暗示所指的装置或元件必须具有特定的方位、以特定的方位构造和操作。
转自:建筑技术杂志社
推荐资料(点击文字跳转):
知识点:安全施工电梯
0人已收藏
0人已打赏
免费0人已点赞
分享
建筑施工
返回版块66.02 万条内容 · 1639 人订阅
阅读下一篇
现场原位试验在CFG桩优化中的应用1 项目概况 石景山区政务服务中心和档案馆新建工程位于北京市石景山区京原路 7 号(区卫计委南侧),四至范围为:东至西引力小区,西至京原西街,南至京原西路,北至石景山区卫生局。 该工程主楼地上13层,建筑高度60?m,附属楼地上3层,建筑高度 17?m,主楼、附属楼地下3层,基础埋深13.6?m,基础主要位于粘土岩④层,局部位于粘土岩④2层,地基属不均匀地基, 地勘单位根据原位测试结果建议综合地基承载力标准值(
回帖成功
经验值 +10
全部回复(0 )
只看楼主 我来说两句抢沙发