转自:建筑技术杂志社
1??工程概况
X88幼儿园新建工程位于北京市经济技术开发区河西区,为北京地区第一个钢框架结构被动式建筑,具有绿色、节能、环保、抗震性好、隔音、洁净、舒适性好特点。工程占地面积 8?907?㎡,建筑规模为8?544.23?㎡。建筑面积8?544?㎡,地上3层,局部地下1层。
主体结构为钢结构、结构板为楼承板,填充结构为加气混凝土砌块;不同材质结构接触面比较多,气密性控制难度极大。因此,本工程气密性效果控制直接影响整体被动式建筑评定结果。
2??被动式钢结构钢构件间气密性处理措施
2.1??气密性处理的原则
对于易辨识的缝隙和孔洞全部进行气密性处理(包括楼承板与钢梁的缝隙、钢柱与钢梁连接节点的缝隙、钢构件的过焊孔位置的孔洞、高强螺栓位置的孔洞等),处理完成后用风速仪进行漏气量检验;对于不易辨识的、隐蔽的或者无法确定是否漏气的缝隙和孔洞,首先采用鼓风门与风速仪相结合的方式进行漏气点排查,然后视漏气情况再进行气密性处理。
2.2??气密性处理的思路
首先,针对钢构件的特点,对缝隙两侧和孔洞四周100?mm范围内进行基层清理、界面处理和抹灰加强,使钢构件表面形成连续、牢固且相容性更好的气密胶带的过渡层;其次,对缝隙和孔洞进行修缝后进行柔性封堵,采用有一定变形性能的弹塑性材料进行填充,确保不漏风;再次,在节点部位的钢构件内侧粘贴防水隔汽膜,在外侧粘贴防水透汽膜,从而形成保证气密性的最后一道屏障;最后,再利用风速测试仪进行气密性处理效果的验证和隐蔽漏气点的排查。
2.3??气密性处理的特点
(1)本工艺气密性处理上采取更适合钢结构材质特性上的措施。漏气部位孔缝内采用柔性材料进行处理,满足粘接强度并考虑界面相容性等要求;优化气密性胶带粘贴方式凸显了界面处理和柔性封堵的重点工艺;较常规钢结构增加孔洞堵漏、胶带包封、过程检测的环节能够降低后期修补隐患。
(2)本工艺考虑钢结构因结构板缝较多所带来的气密性不利条件,通过鼓风门与风速仪相结合的检测方法,准确地对围护结构漏气点进行核查,更有针对性的进行漏气点措施处理,以检测促进气密施工质量,确保一次合格率,保证经济性。
(3)通过严格的气密性处理、严谨的气密性检测,室内空间不漏风、不漏水、不结露、不落尘;较常规建筑舒适度更高,节能效果更好。
3??气密性处理工艺流程及操作要点
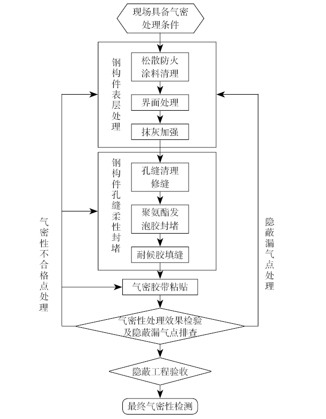
3.1??气密性处理流程
钢构件气密性处理流程如图1所示。

图1??气密性处理流程示意
3.2??气密性处理操作操作要点
3.2.1??气密胶带表面增强处理
(1)基面清糙处理:用钢刷进行清理钢梁上下翼缘板基层糙面松散材料和楼承板表层上的杂质,缝隙:再用钢铲将上翼缘板与楼承板缝隙的防火涂料以进行清理、使缝隙平直、干净。
(2)基层界面处理:为提高基层强度,增加层间附着力,对钢构件表层进行界面处理,界面处理材料可选用墙固或者其他能够与防火涂料相容的界面剂,界面处理采用涂刷工艺。
(3)抹灰加强:待界面剂实干,涂刷厚3~5?mm聚合物砂浆抹灰层,抹平压光,抹灰范围为孔洞和缝隙周围各100?mm范围内。如楼承板与钢梁翼缘板之间的缝隙,钢梁翼缘可全部进行抹灰包裹,钢楼承板因可直接粘贴胶带不需要进行界面处理和抹灰加强。
3.2.2??缝隙柔质材料封堵
外围护结构处的钢梁与钢柱连接处通过焊接和高强螺栓连接,这些部位如钢梁与钢柱节点、楼承板与钢梁间会有缝隙,有时也会因钢结构焊接施工需要预留梁柱节点的过焊孔,形成的孔洞。这些缝隙和孔洞时室内外直接联通,影响建筑的气密性。钢结构安装完成以后需要喷涂厚型防火涂料,防火涂料能弥补一部分梁柱连接节点处的缝隙和孔洞,但不能完全封堵,而且往往造成缝隙更加隐蔽不易查找,所以还需要进行以下处理。
(1) 孔缝清理及修缝:用灰铲及改锥清理孔缝内的松散材料,并对孔缝周围的抹灰层边缘进行修缝,为打胶创造条件。
(2) 聚氨酯发泡剂封堵:修缝完毕,用聚氨酯发泡剂封堵,待封堵材料固化稳定后,修3?mm深凹缝。
(3)耐候胶封堵:采用硅酮结构耐候密封胶进行封堵,根据缝宽确定打胶宽度。胶层应覆盖缝宽并饱满,同时粘贴美纹纸避免污染,将胶缝表面刮平。通过气密性细部封堵处理确保气密性。
(4) 特殊部位:对于浅或窄的缝隙或孔洞(比如过焊孔及螺栓侧边预留孔等)直接用耐候密封胶封堵,不需进行发泡剂嵌堵。
3.2.3??气密胶带粘贴
气密性胶带分为室外用和室内用两种,室外用气密性胶带为防水透汽膜,室内用气密性胶带为防水隔汽膜。气密性胶带在粘贴施工以前,其基层经过处理以后要平整、干燥,无浮尘、无油污。同一条气密性胶带一般有两幅,一幅较宽、一幅较窄。
气密性胶带粘贴时,首先将较窄一幅粘贴在待处理的缝隙一侧,待粘完后,再将较宽一幅上的塑料薄膜撕下,然后粘贴在缝隙的另一侧,要做到所粘贴的气密性胶带在缝隙两侧的宽度大致相当,粘贴完以后再用专用的刮板从气密性胶带的一端用力刮向另一端,使胶带与粘贴基层完全粘合,不得带有气泡。如果气密性胶带长度不够时,需要进行搭接,搭接宽度不小于50?mm(图2)。

图2??楼承板与钢梁外部胶带粘贴
3.2.4??气密效果检验和隐蔽漏气点排查
(1)划定测试方案:比如X88地块新建幼儿园工程,该工程对整个建筑有气密性要求,所以将靠近外立面的所有房间或者公共区域分区封堵形成独立空间,具备条件的房间或区域尽可能联合封闭,然后逐个区域进行气密效果测试和隐蔽漏气点排查。比如集成电路装备制造基地(一期)项目,为装修改造项目,该工程有万级及千级两个洁净区域,按照洁净区域分别封闭,然后进行测试和排查。
(2)封堵处理:对测试区域进行严密封堵,预留鼓风门的安装位置。对于外门窗和穿越测试区域的机电管线,安装完成后严格进行气密性处理;对于内门窗,尽量安装到位,并将门窗缝隙采用双层厚塑料布衬堵,并用气密胶带粘贴严密;对于公共区域,在合适位置,采用木框+双层厚塑料布进行衬堵,周围缝隙采用气密胶带粘贴严密。
(3)形成压差:采用鼓风门进行鼓风或抽气,此阶段为项目部自行检验,封闭区域宜采用正压,确保封闭区域内的空气供应,维持室内外压差为50?Pa左右。
(4)风速测试仪测试:以风速测试仪检测值不大于0.06?m/s为合格的判定标准,对气密性处理效果进行验证,对于不满足测试要求的位置重新进行气密性处理;同时,对于隐蔽漏气点进行排查,排查重点为钢楼承板的搭接缝位置,对于排查出的隐蔽漏气点,参照上述工艺进行气密性处理。
3.2.5??隐蔽工程验收
将气密性处理作为隐蔽工程验收,将漏气点检测作为一个验收指标,过程中气密性检测留取影像资料,气密性检测的内容体现在验收记录中,这也属于制度创新。从制度上保证工程质量的可追溯性。
3.2.6??最终气密性检验
过程中的检测是施工质量的把控措施和手段,最终气密性检测才是最终检测标准,邀请专门检测单位对本工程进行整体气密性检测,用鼓风门鼓风,保持室内外压差,然后用风速测试仪寻找漏气点,以风速仪检测值不大于0.06?m/s为合格的判定标准,对气密性节点处理效果进行最终验证。
4??气密性处理质量控制要求
(1)气密性胶带、密封胶、堵缝材料、界面剂产品合格证、认证产品和产品鉴定证书真实有效。
(2)钢构件表层松散材料或杂志应当清理。使基层平整、干燥为后续防火涂料喷涂工序做好前期 准备。
(3)粘接强度的质量控制:涂层与钢基材之间和各涂层之间,应粘结牢固,无空鼓、脱层和松散等情况。
(4)过程中漏点检测安排专人专岗,并经过专业公司培训并组织现场实操考评合格后上岗。
(5)漏气量的标准要求:过程漏风量检测合格指标为风速仪检测值不大于0.06?m/s,最终气密性检测指标为换气次数小于0.6次/h。
(6)气密性施工严格执行三检制。
5??气密性处理安全文明施工控制要求
(1)气密性检测前应做到室内整洁、无杂物。操作工人必须带好安全帽,严禁未接受安全教育人员进场作业。防止坠落或羁绊。
(2)气密性监测过程中需要密闭作业空间,且作业时间一般1?h以上,所以检测前应该清楚室内挥发及污染物质,减少检测人员呼吸不适感。
(3)气密性检测高处作业前应检查登高设备,过程中应系好安全带。
(4)本工法检测为密闭空间,若实施期为6—11月,检查空间内应准备足够矿泉水和毛巾。防止检测人员中暑。
(5)施工现场设置垃圾回收容器,分类回收剩余的各种材料,加强气密性胶带废纸的收集,防止飞散对环境造成污染。
(6)气密性胶带残料不准乱丢,做到日积日清,工完场清、防止胶带废料粘贴在地面、墙面上。
6??结束语
发展被动式低能耗建筑,节能降耗、利国利民,是未来建筑行业发展的方向,通过钢结构围护结构气密性施工为环境保护和节能减排起到了积极的推动作用。符合绿色节能降耗的理念,能取得良好的经济效益和社会效益。其推广和应用已经成为一种必然趋势。
推荐资料(点击文字跳转):
知识点:被动式钢结构钢构件间气密性处理施工技术
0人已收藏
0人已打赏
免费0人已点赞
分享
建筑施工
返回版块66.02 万条内容 · 1639 人订阅
回帖成功
经验值 +10
全部回复(0 )
只看楼主 我来说两句抢沙发