随着大跨度钢结构施工技术的迅速发展和设计形式的不断推陈出新,传统的单一结构形式已不能满足现代建筑的需要,建筑结构逐渐趋于多样化、复杂化。大跨度张弦结构是一种新型的大跨度自平衡空间结构体系,其利用高强索的强抗拉性,有效地改善了整体结构的受力性能,具有变形小、稳定性强、承载能力高、结构稳定性强等优点。从对建筑造型的适应性和运输方便性等方面考虑,该结构在多类建筑中也得到了较多应用,如国家会议中心二期工程、上海源深体育馆、迁安文化会展中心等。
1 研究背景
预应力钢结构是由刚性构件与柔性索组合而成的一种新型结构体系,其中索结构主要有张弦结构、悬索结构、斜拉结构和索穹顶等形式。近年张弦结构因其高效灵活的受力体系得到迅速发展,根据组成要素、受力机理及传力机制的不同,张弦结构可分为平面型张弦结构和空间型张弦结构。
平面型张弦结构体系最早由日本学者斋藤公男提出,其对张弦结构的力学特性和计算原理进行了研究。平面张弦结构通常利用撑杆连接抗弯受压构件和抗拉构件,并通过在抗拉构件上施加预拉力来减轻压弯构件的负担,形成了一种自平衡体系。一般抗弯构件又称刚性构件,通常为梁、拱或桁架;抗拉构件弦又称柔性构件,通常为索。由于抗弯构件利用施加在抗拉构件上的预应力使其产生反挠度,可减小结构在荷载作用下的最终挠度;撑杆还可对抗弯构件提供支撑,改善其受力性能;由于抗拉构件承受了抗弯构件的水平推力,减轻了支座的负担,减少了滑动支座的水平位移,因此这种构件受力简洁明确且能充分发挥材料受力特长的新型结构近年得到了广泛应用。
2 预应力施工设备
张弦结构是大跨度钢结构与大直径钢索张拉相结合的综合结构形式,而对钢索施加预应力是整个施工体系中的关键步骤之一。
预应力施工是指对主体钢结构施加预应力,使预应力分布到整个结构。根据预应力钢结构的结构类型,一般可通过采用改变刚性杆件或柔性索的长度等方法来完成预应力施工,目前预应力施工主要采用改变柔性索长度的形式。本文基于上述施工方案对预应力施工设备进行研究。
预应力施工设备的选用和设计是预应力施工必不可少的步骤,由于预应力钢结构形式复杂多样,市场上很难直接购买到成型的预应力施工产品。因此大部分情况下需由施工单位根据具体工程来设计专用的施工设备。
针对大跨度张弦结构,预应力施工设备一般由反力构件、承力架、千斤顶–油泵组件和工装索–锚具组件4部分组成,其中千斤顶及其配套油泵和工装索及其配套锚具可直接选用市场上的成型产品,而反力构件和承力架则需由施工单位自主设计。
根据反力构件的不同形式,常使用抱箍式和叉耳式两种施工设备,其结构形式如图1所示。

(a)

(b)
图1?? 施工设备结构示意
(a)抱箍式施工设备示意;(b)叉耳式施工设备示意
1—主体钢梁;2—拉索销轴;3—抱箍组件;4—拉索索头;5—调节螺杆;6—拉索锚杯;7—工装索–锚具组件;8—承力架;9—千斤顶;10—叉耳组件
2.1 抱箍式施工设备
抱箍式施工设备是将抱箍抱在拉索的索头,张拉时先通过抱箍将张拉力引到主体钢结构上,再通过调节拉索长度来施加预应力。具体操作过程为:拉索与主梁连接→安装施工设备→张拉并调节拉索长度→完成施工。
在操作过程中,使用抱箍式施工设备张拉并调节拉索长度是关键步骤,也是较难控制的一步。拉索通过调节螺杆来改变自身长度,完成预应力施加。在理想状态下,拉索索头、调节螺杆、锚杯和索体处于同一轴线上,索体的拉力F1通过锚杯传递给调节螺杆,再由调节螺杆传递给索头,最后通过销轴传递给主梁。
在初张拉阶段,可通过扳手人工旋动调节螺杆来改变索长,达到张紧拉索的目的,这一过程中调节螺杆处在受力状态,但当力值大到一定程度后仅靠人力无法通过扳手来旋动调节螺杆,此时张拉力值还远未达到设计力值,就需要使用张拉设备来再次进行张拉。如图2所示,承力架通过千斤顶和工装索对锚杯施加张拉力F2,此时锚杯同时受到拉索的拉力和张拉设备的张拉力,当二者差值极小时调节螺杆处于无应力或低应力状态,可用人工通过扳手旋动调节螺杆来改变索长,施加预应力,如此反复,当张拉力值F2逐渐增大到设计力值时,施工完成。

(a) (b)
图2??抱箍式设备施工过程中拉索螺纹受力状态
(a)初张拉阶段螺纹受力状态;(b)施加设计力值阶段螺纹受力状态
1—拉索索头螺纹;2—调节螺杆螺纹;3—拉索锚杯螺纹
由于抱箍式施工设备对施工空间要求小,有利于主体钢梁的美观,是比较常用的施工设备,但实际施工时受各种因素影响,施工难度较高。如受拉索自重、索体柔性、调节螺纹的配合间隙、施工设备自重及双千斤顶出缸不同步等因素的影响,会导致拉索各部件极难保持同轴,易出现螺纹卡死现象;同时千斤顶反复出缸、张拉力值过大、张拉力值较难控制等因素易破坏拉索可调端的螺纹,可见抱箍式施工设备施工难度极大,对施工设备及操作人员技术水平要求较高。
2.2 叉耳式施工设备
叉耳式施工设备是先通过叉耳组件将张拉力引到主体钢结构上,再通过调节拉索长度来完成预应力的施加。其施工流程为:拉索通过叉耳式施工设备与主梁连接→张拉并调节拉索长度→连接索头和主梁→完成施工(图3)。

图3 叉耳式设备施工过程中拉索螺纹受力状态
1—拉索索头螺纹;2—调节螺杆螺纹;3—拉索锚杯螺纹
叉耳式施工设备操作过程中,设备始终处于工作状态,承力架通过千斤顶和工装索对锚杯施加张拉力F1并传递给索体,由于索头处于无约束状态,因此调节螺杆和索头的螺纹均处于无应力状态,通过人工调节螺杆来改变自身长度,完成预应力施加,最后通过销轴连接拉索与主梁,完成施工。
使用叉耳式施工设备较易通过调节螺杆来改变拉索长度从而降低施工难度,但由于该设备中叉耳部件有尺寸要求,故在设计主梁的连接耳板时需留出足够的安装空间,须加大主梁耳板尺寸,不仅增加了用钢量,还大幅影响了结构的整体美观。
3 新型式设备设计
预应力施工设备的构造形式直接决定了施工方法的难易程度,但在设计过程中,施工设备不仅要考虑施工操作简单,还需综合考虑配套钢结构主体美观,增加了设计难度。
3.1 结构设计
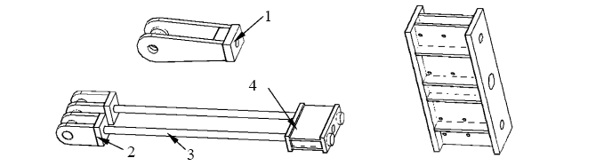
本文综合抱箍式施工设备需求施工空间小和叉耳式施工设备的易操作性的优点,设计一种新型的结构形式。该设备的施工方法虽与叉耳式施工设备原理相同,但通过组件形式来延长下叉耳结构,从而满足施工空间小的要求(图4)。

图4??新型叉耳式设备结构示意
1—主体钢梁;2—上叉耳组件;3—拉索;4—下叉耳组件;5—钢拉棒组件;6—承力架组焊件;7—千斤顶
对比图4和图1(b),可看出二者上部结构基本相似,但新型设备的下叉耳通过组件形式连接,使设备受施工空间限制的情况得到明显改善。同时,用钢拉杆组件代替工装索及其配套锚具,还可增加整个结构在施工前的刚度,减小施工难度。
3.2 主受力部件可靠性分析
在设计过程中,预应力施工设备除结构形式外,最重要的是保证设备的可靠性,而可靠性由自加工的主受力部件的强度和刚度决定,如图5中的设备其他组成部分是相对较成熟的产品,可直接选用规格购买成品,在一定程度上减少了新设备的加工成本及试验成本。

(a) (b)
图5 自加工的主受力部件结构图
(a)上、下叉耳结构;(b)承力架结构
1—上叉耳组焊件;2—下叉耳组焊件;3—螺纹钢;4—横担组焊件
使用目前较常使用的有限元法对自加工的主受力部件进行分析,设计荷载通常考虑两种情况,一种是根据加载千斤顶的吨位进行设计,另一种是根据施工过程中仿真计算得出的最大加载荷载进行设计。由于本工程的施工设备数量较少,故可根据施工过程中仿真计算得出的最大加载荷载来分析主受力部件的受力情况(图6)。

(a) (b)

(c) (d)
图6 主受力部件有限元分析图(计算机截图)
(a)上、下叉耳应力分析(MPa);(b)上、下叉耳变形分析(mm);(c)承力架应力分析(MPa);(d)承力架变形分析(mm)
通过分析上、下叉耳和承力架的应力可知下叉耳组焊件、横担组焊件及承力架组焊件的应力区域均在270?MPa以下,而连接下叉耳组焊件和横担组焊件的高强螺纹钢由于受自身截面积的限制,应力较大。该应力分析可作为选择各组焊件材料和高强螺纹钢强度等级的重要参考依据。
通过图6变形分析可看出上、下叉耳组焊件和横担组焊件及承力架组焊件的变形极小,刚度较大。而下叉耳组件由于长度远大于上叉耳组件,变形区域较明显,下叉耳组件的整体刚度在一定程度上受到的削弱,主要体现在高强螺纹钢上,因此合理选用高强螺纹钢是保证整套设备安全性的重要一环;同时考虑到受加工尺寸误差、安装误差和焊接误差等因素影响会导致整个组件受力不均衡,因此选用螺纹钢时适当增大了高强螺纹钢的规格,以提高安全系数。
4 结束语
张弦结构索结构是大跨度预应力钢结构的一种主要形式,其中预应力施工是整体施工的关键步骤。由于预应力施工通过施工设备来完成,故施工设备设计时需综合考虑施工操作的难易程度和施工过程中的空间需求。本文综合对比抱箍式和叉耳式2种施工设备的优缺点,在叉耳式施工设备的基础上进行改善性设计,该设备可在一定程度上减小对施工空间的需求,满足配套钢结构主体的美观需求。本文从强度和刚度两方面对施工设备进行理论分析和研究,可在一定程度上保障设备使用安全,通过实际工程应用该设备达到了使用要求。
转自:建筑技术杂志社
推荐资料(点击文字跳转):
知识点:基于张弦结构的预应力施工设备设计
0人已收藏
0人已打赏
免费1人已点赞
分享
建筑施工
返回版块66.02 万条内容 · 1639 人订阅
阅读下一篇
装配式建筑钢梁管柱连接件办法目前装配式钢结构建筑钢梁与管柱之间是通过法兰板连接,这种连接结构钢梁的载荷由法兰之间的螺栓承载,螺栓承受大量的剪力、弯矩和扭矩,而螺栓的螺纹承载能力有限,容易滑丝导致滑脱,螺栓承受剪力也容易断裂,长期使用安全性差。 针对上述现实情况,为克服现有技术之缺陷,本连接件办法提供了一种装配式建筑钢梁管柱连接件,有效地解决了目前钢梁与管柱连接安全性差的问题。 本办法的装配式建筑钢梁管柱连接件,包括一个套管和2个U形槽板,套管可套在管柱外,套管的右侧外壁上方开有前后方向贯通的T形槽,每个U形槽板的左端均设有T形块,T形块可滑动的安装在T形槽内。两个U形槽板安装在套管右侧外壁上且可前后滑动,两个U形槽板的槽口前后相对且槽长沿左右反向布置,2个U形槽板的上下两侧均设有竖直的沿板,每个沿板上均开有对多个通孔,两个U形槽板可经穿过通孔的螺栓对拉在一起;还包括多个水平贯穿管柱的承重杆,多个承重杆处于同一水平面内。连接件方法如图1所示。
回帖成功
经验值 +10
全部回复(0 )
只看楼主 我来说两句抢沙发