目前装配式钢结构建筑钢梁与管柱之间是通过法兰板连接,这种连接结构钢梁的载荷由法兰之间的螺栓承载,螺栓承受大量的剪力、弯矩和扭矩,而螺栓的螺纹承载能力有限,容易滑丝导致滑脱,螺栓承受剪力也容易断裂,长期使用安全性差。
针对上述现实情况,为克服现有技术之缺陷,本连接件办法提供了一种装配式建筑钢梁管柱连接件,有效地解决了目前钢梁与管柱连接安全性差的问题。
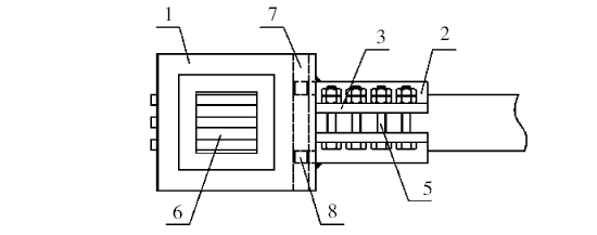
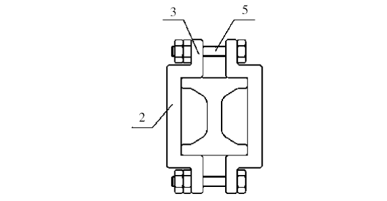
本办法的装配式建筑钢梁管柱连接件,包括一个套管和2个U形槽板,套管可套在管柱外,套管的右侧外壁上方开有前后方向贯通的T形槽,每个U形槽板的左端均设有T形块,T形块可滑动的安装在T形槽内。两个U形槽板安装在套管右侧外壁上且可前后滑动,两个U形槽板的槽口前后相对且槽长沿左右反向布置,2个U形槽板的上下两侧均设有竖直的沿板,每个沿板上均开有对多个通孔,两个U形槽板可经穿过通孔的螺栓对拉在一起;还包括多个水平贯穿管柱的承重杆,多个承重杆处于同一水平面内。连接件方法如图1所示。

(a)

(b)

(c)
图1??连接件示意
(a)正视图;(b)俯视图;(c)侧视图
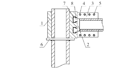
1—套管;2—U形槽板;3—竖直的沿板;4—通孔;5—螺栓;6—承重杆;7—T形槽;8—T形块
本连接件办法在安装时,首先在管柱上水平钻孔,当然也可在安装前在管柱上预先钻孔,然后将多个承重杆水平穿入钻好的孔内,并在承重杆的两端进行点焊防止承重杆滑落;承重杆安装好后,将套管上管柱上端套在管柱上,套管的下端支撑在多个承重杆上,然后将钢梁吊装到安装位置,将2个U形槽板分别从T形槽的前后两端安装在套管外壁上并向内滑动,使2个U形槽板分别扣在工字型钢梁的前后两侧,然后在每组通孔内穿入螺栓并用螺母拧紧,将2个U形槽板拉紧使其仅仅扣合在钢梁的前后两侧,最后将每个U形槽板均与套管外壁进行点焊防止其滑动,至此,钢梁与管柱连接完毕。
本办法钢梁的重量由U形槽板承载,并通过套管和承重杆转移至管柱上,螺栓不承受钢梁的载荷,因此不承受剪力、弯矩和扭矩,且承受的轴向力很小,因此不会断裂滑丝,不易松动,有效地解决了目前钢梁与管柱连接安全性差的问题,保证了钢梁与管柱连接的长久、安全、可靠。
推荐资料(点击文字跳转):
知识点:装配式建筑钢梁管柱连接件办法
0人已收藏
0人已打赏
免费0人已点赞
分享
建筑施工
返回版块66.02 万条内容 · 1639 人订阅
阅读下一篇
后浇带与变形缝止水措施对比GB 50108—2008《地下工程防水技术规范》中变形缝止水做法和后浇带止水做法。 在地下水位高时,需进行超前止水时,采用超前止水作法,如图1,图2所示。超前止水使用外贴式止水带施工比较方便简单,所以使用外贴式止水带更常见。在变形缝处,结构断开,靠止水带与混凝土紧密结合形成防水。后浇带处钢筋不断开,止水依靠后浇混凝土,与先浇混凝土形成完整的结构自防水。变形缝处因为安装止水带,端部模板分成二段,给模板固定造成困难。
回帖成功
经验值 +10
全部回复(0 )
只看楼主 我来说两句抢沙发