任何工程在竣工完成之后都会经过严密的检查,判定是否合格然后再投入使用,那么在公路桥梁交工验收的时候我们都需要检查哪些重点项目,都会使用什么样的方法来检测?施工人员应该尤其注意哪些施工步骤?今天和大家一起学习一下在公路桥梁交工验收中常见的质量问题以及现场检测方法吧!
1.1 交工验收相关规定
1)公路工程交工验收工作一般按合同段进行,并应具备以下条件:
(一)合同约定的各项内容已全部完成。各方就合同变更的内容达成书面一致意见。
(二)施工单位按《公路工程质量检验评定标准》及相关规定对工程质量自检合格。
(三)监理单位对工程质量评定合格。
(四)质量监督机构按“公路工程质量鉴定办法”对工程质量进行检测,并出具检测意见。检测意见中需整改的问题已经处理完毕。
(五)竣工文件按公路工程档案管理的有关要求,完成收集、整理及归档工作。
(六)施工单位、监理单位完成本合同段的工作总结报告。
2)组织:交工验收工作由项目法人负责组织。
3)评分:合同段工程质量评分采用所含各单位工程质量评分的加权平均值。
4)合格:工程质量评分大于或等于75分为合格。
5)不合格、缺陷:交工验收不合格的工程应返工整改,直至合格。交工验收提出的工程质量缺陷等遗留问题,由项目法人责成施工单位限期完成整改。
1.2 公路桥梁交工检测
根据《细则》,公路桥梁工程的交工验收需要同时满足以下条件:
1)总体要求:结构安全稳定,混凝土强度、桩基检测、预应力构件 的张拉应力、桥梁承载力等均符合设计要求;
2)质量鉴定:工程实体检测、外观检查和内业资料审查。
在现场需要开展的公路桥梁交工检测项目:工程实体检测、外观检查、荷载试验(承载力)。
其他项目主要通过资料审查进行评定。
2.1 抽检频率
1)小桥抽查不少于总数的20%且每种类型抽查不少于1座。
2)特大桥、大桥逐座检查;中桥抽查不少于总数的30%且每种桥型抽查不少于1座。
3)桥梁下部工程抽查不少于墩台总数的20%且不少于5个,墩台数量少于5个时全部检测。每种结构型式抽查不少于1个。
4)桥梁上部工程抽查不少于总孔数的20%且不少于5个,孔数少于5个时全部检测。每种结构型式抽查不少于1个。
2.2 抽检项目


2.3 抽查要求
1)以上抽查项目均应在合同段交工验收前完成检测。竣工验收前,应对带“*”的抽查项目进行复测,复测结果和其它抽查项目在交工验收时的检测结果,作为竣工验收质量评定的依据。
2)未列出的检查项目、竣工验收复测项目以及技术复杂的悬索桥、斜拉桥等工程,质量监督机构均可根据工程实际情况增加检测、复测项目。
3)未明确规定抽查项目的规定值或允许偏差的,按照《公路工程质量检验评定标准》执行。
2.4 某桥实体检测案例
2.4.1 工程概况
某特大桥主桥为(103+190+103)m预应力混凝土连续刚构桥,桥上部总宽12m,桥面行车道宽9m,每边人行道及栏杆。主桥断面为变截面单箱单室断面,箱梁根部梁高12m,跨中梁高3.8m;一岸设4×30m连续T梁引桥,另一岸设2×(4×29m)连续T梁引桥。主桥桥墩为双薄壁空心墩,钻孔灌注桩群桩基础;引桥下部构造为等截面和变截面实心墩,钻孔桩基础。两岸为重力式桥台。



2.4.3 实体检测结果






2.4.4 实体检测结果的分析及对策
混凝土强度必须满足要求,当不满足要求时可采取以下措施:
1)回弹法:清除混凝土表面浮浆、构件厚度、高强混凝土、龄期;
2)采用超声回弹综合法;
3)采用钻心取样法;
4)验算当前强度下的结构性能;
5)加固处治或废弃。
钢筋保护层厚度的合格率一般较低,需特别重视;
1)保护层厚度太薄会影响构件耐久性,可采用增加聚合物砂浆、涂刷专业涂料等方式修补;
2)太厚会影响构件承载能力,可通过理论计算的方法来评估构件的承载力;
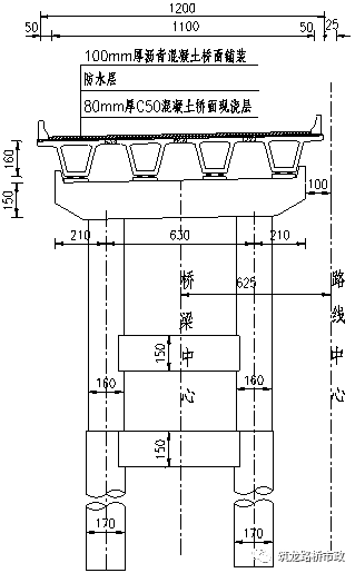
板:±3mm;梁、柱、拱:±5mm;基础:±10mm
墩台垂直度:0.3%H或20mm,要求较高。
1)测量方法有讲究,可能会影响测量结果,特别是矮墩;
2)超过允许值后,一般只是通过合格率进行扣分;
3)偏差较大(如大于50mm或更大)时,应通过计算,分析其原因和影响,并采取相应的处治措施。
几何尺寸:
梁高:梁、板±5mm;箱梁:-5mm,0;
板厚:顶板、底板、腹板、梁肋+5mm,0;
如果普遍偏厚或偏薄,需分析对构件的影响,并采取相应处治措施;
伸缩缝与桥面高差:2mm
直接影响行车舒适性、耐久性;
如果高差超过允许值太多时,需调整;
3.1 基本要求
1)由该项目工程质量鉴定的质量监督机构或其委托的有资质的检测单位负责在交工验收前和竣工验收前对工程外观进行全面检查。
2)工程外观存在严重缺陷、安全隐患或已降低服务水平的建设项目不予验收,经整修达到设计要求后方可组织验收。
3)项目交工验收前应对桥梁、隧道、重点支挡工程、高边坡等涉及安全运营的重要工程部位进行详细检查。
3.2 检查内容及扣分标准.



3.3 外观检查缺陷案例
3.3.1 混凝土外观缺陷
1)蜂窝; 2)麻面; 3)空洞; 4)离析;5)漏浆;
混凝土外观缺陷分析与处治:
表面缺陷除影响美观外,还影响结构的耐久性,当蜂窝较深、空洞较大时,可能会影响结构的承载能力,必须及时进行修补;
大面积的蜂窝、空洞的修复,需先全面清除不满足要求的混凝土,对接合面进行凿毛和清洁,涂刷粘接剂,用聚合物砂浆或聚合物混凝土进行修补。
宜采用专业修补材料、专业施工队伍、专业设计。
即使这样修复,也不能完全达到原设计要求,因为修补部分在恒载下无应力。
3.3.2 钢筋保护层厚度不足
1)钢筋混凝土防撞护栏;2)T梁马蹄、翼板底面;3)空心板底面、侧面;
4)桥墩、盖梁;
护栏钢筋保护层厚度太薄
钢筋位置及保护层厚度测定仪(手提式雷达探测仪):通过对高频电磁波时域波形的采集、处理和分析,可确定混凝土内空洞或钢筋体的空间位置。

钢筋保护层厚度不足分析与处治
钢筋保护层厚度太薄,采用防锈蚀涂料或者聚合物砂浆修补;
如果钢筋已经锈蚀,需要先凿出表面混凝土,钢筋除锈(必要时补充钢筋),采用聚合物砂浆进行修补。
3.3.3 混凝土非结构性开裂
1)混凝土表面网裂;2)T梁腹板竖向开裂;3)T梁翼板底面横向开裂;
4)空心板腹板竖向开裂;
混凝土非结构性开裂
1)首先要判断是非结构性裂缝,即不影响结构受力;
2)混凝土表面网裂可以不进行处理,也可以表面简单封闭;
3)T梁腹板竖向开裂、T梁翼板底面横向开裂、空心板腹板竖向开裂,一般根据裂缝宽度采取表面封闭或注浆封闭(≥0.15mm)、个别裂缝也可以不做处理;
3.3.4 T梁缺陷
1)纵向开裂(马蹄纵向、腹板纵向);
T 梁纵向开裂(马蹄纵向、腹板纵向):
(1)此类裂缝一般是对应于波纹管的位置及走向,原因多是由于波纹管对截面的削弱、混凝土浇筑质量、纵向预应力的横向泊松比效应等,在活载作用下不会发展,对受力的影响较小,但可能会影响耐久性;
(2)一般根据裂缝宽度采取表面封闭或注浆封闭(≥0.15mm)、个别裂缝也可以不做处理;
2)横向开裂(马蹄底面横向、腹板和马蹄竖向、翼板横向);
注意跨中附近的结构性裂缝。
T梁横向开裂(马蹄底面横向、腹板和马蹄竖向、翼板横向):
(1)注意区分是否为结构性裂缝,预应力T梁跨中附近的马蹄底面横向裂缝、马蹄底面与侧面的U形裂缝多为抗弯强度不足或预应力不足导致的结构性裂缝,翼板横向裂缝一般不是结构性裂缝。
(2)结构性裂缝的处理需要:先专项论证(特殊检查),专项设计,采用加固措施,如体外预应力、粘贴钢板等,专项施工,专门验收;
(3)非结构性裂缝一般采用封闭的方法。
3)腹板斜向开裂(注意梁端附近的结构性裂缝)
T梁腹板斜向开裂(注意梁端附近的结构性裂缝):
(1)T梁端部腹板斜向开裂,很可能是抗剪强度不足导致的结构性裂缝;
(2)处治措施:专项论证、专门设计、专项施工、专项验收;
(3)加固方法多采先封闭,再粘贴钢板。
4)波纹管外露、灌浆不密实;
T梁波纹管外露、灌浆不密实;
(1)波纹管外露、灌浆不密实属于较大的质量缺陷,宜进行专项检测评估、专项设计、专项施工、专项验收;
(2)波纹管外露,采用聚合物砂浆或聚合物混凝土修补,保证修补的质量满足要求;
(3)灌浆不密实,需进行灌浆,灌浆后的检测难度较大。
5)T梁湿接缝缺陷
6)横隔板缺陷
错位、开裂、露筋、混凝土外观缺陷
3.3.5 空心板缺陷
(1)底板横向开裂(注意区分正常开裂和结构性裂缝)
空心板底板横向开裂(注意区分正常开裂和结构性裂缝)
1)对于钢筋混凝土空心板,在跨中底面出现一些横向不贯通性、且宽度较小(0.15mm以下)裂缝是正常的,可以不做处理,也可以简单封闭;
2)但跨中底面出现横向贯通、宽度较大、数量较多的裂缝时,为结构性裂缝,需进行专项论证后进行相应处理。
(2)纵向开裂(底面和侧面)
空心板底板纵向开裂
1)该类裂缝一般与波纹管位置和走向基本一致,原因与T梁基本相同;
2)一般采用封闭措施,宽度较小、数量较少时也可不做处理。
3.3.6 支座缺陷
(1)开裂、变形;
支座开裂、变形
1)在交工检测时发现支座开裂,说明支座质量不好,最好更换。如果是个别现象,且不严重,也可暂不更换;更换过程中应避免对梁的不利影响;
2)支座变形需区分是否为正常变形(因为支座在温度作用下会产生正常的剪切变形),并评估对使用的影响程度,必要时需修复。
(2)脱空、偏压;
由于此桥为双向纵坡2%,但设计时梁端未调平,导致全部支座均脱空严重、剪切变形严重。
支座脱空、偏压
1)支座脱空需明确是局部脱空还是整体脱空,局部脱空一般采用垫薄钢板等方法修复;整体脱空对主梁的受力很不利,必须进行修复,一般需对主梁进行顶升后,才能修复或更换;
2)支座偏压会使桥墩产生水平推力,严重是可能导致桥墩偏移。一般需对梁进行顶升、对梁底垫板进行调平,才能彻底解决问题。
3.3.7 桥面系
(1)横坡、纵坡不满足设计要求、不顺适;
(2)泄水管顶面高于铺装层、高于防水层
桥面横坡、纵坡、泄水管不满足要求
1)横坡、纵坡不满足要求导致桥面排水不畅,可适当增加排水管来解决排水的问题;
2)泄水管高度问题也会直接影响桥面排水,需采取降低管口高度的措施,加以解决。
(3)伸缩缝缺陷
1)缝宽不满足要求;
2)混凝土质量差;
3.3.8 盖梁缺陷
开裂、渗水、垃圾未清理;

盖梁开裂、垃圾
1)盖梁开裂需分析是否为结构性裂缝,结构性裂缝需进行专项论证和相应处理;
2)盖梁上的垃圾应及时进行清理,否则可能会影响盖梁和支座的耐久性。
4.1、试验依据
4.1.1 技术标准
《大跨径混凝土桥梁的试验方法》(1982)--非正式标准
《公路桥梁承载能力检测评定规程》(JTG/T J21-2011)--适用于旧桥,规定不细
相关的设计规范--用于控制值计算
4.2、试验桥梁、桥跨
4.2.1 《公路工程质量检验评定标准》(JTG F80/1-2004)8.2.1条规定:
1)特大跨径桥梁或结构复杂的桥梁,必要时应进行荷载试验。
4.2.2 各省对高速公路桥梁荷载试验桥梁和桥跨的规定不相同,且相差很大:
1)特大桥(特大跨径桥)应全部进行荷载试验,桥跨不一定全部;
2)大桥桥梁抽检比例从30%—100%,桥跨抽检比例从20%—50%;
3)中桥桥梁抽检比例从30%—50%,桥跨抽检比例从20%—50%。
4.2.3 《公路桥梁荷载试验规程》征求意见稿规定
1)新建桥梁交(竣)工验收时,抽检比例以联为划分单元。
联单孔最大跨径大于100m(含100m)的桥梁,应逐联进行验收荷载试验。
?联单孔最大跨径大于50m(含50m)且小于100m的桥梁,抽检桥孔不少于其桥孔总数的30%。
联单孔最大跨径小于50m的桥梁,抽检桥孔不少于其桥孔总数的10%。
4.3、静载试验
4.3.1 工程概况
某桥上部结构为一联4×20 m预应力混凝土先简支后结构连续T梁,20 m跨连续T梁高1.47 m,横桥向布置5片梁,梁间距2.40 m,主梁间设横隔梁。设计荷载标准:公路-I级。

4.3.2 横向分配系数

4.3.3 试验截面、检测项目
1、1#~3#截面附近桥梁外观检查及试验过程相应工况下的裂缝观测;
2、1#~3#截面在相应加载工况下的应变测试,包括正弯矩满载工况时控制截面1#梁沿高度方向的应变;
3、1#、3#截面在相应加载工况下的挠度测试。

4.3.4 试验荷载效率
所用试验荷载根据设计标准活荷载产生的该试验工况内力的最不利效应值进行等效换算而得,等效换算的原则为使所用的静力试验荷载效率ηq应满足:


关于荷载效率:
对于T梁和空心板,静载试验荷载效率应分别计算横向各块板(梁),不宜对整个截面计算统一的荷载效率。因为在该类桥梁的实际时,计算和验算都是按每一块板(梁)进行的。

4.3.5 测点布置


沿梁高布置应变测点:
对于T梁是否需要沿梁高布置应变测点,这个问题有不同的做法。这样做的目的主要是验证平截面假定,找出实际中性轴。
T梁可以不必沿梁高布置应变测点,因为平截面假定是不需要验证的,中性轴也是很明确的,另外由于应变测试数据的精度不够高,测试数据的分析可能比较困难。
4.3.5 加载车辆布置


4.3.6 挠度测试结果

挠度测试结果分析
1)对于荷载效率系数较小(小于0.80)的梁,不宜进行挠度校验系数分析和统计;
2)与计算结果符号相反的残余变形,由于不符合参与变形的物理意义,建议不进行残余变形和相对残余计算。

4.3.7 应变测试结果

应变测试结果分析
1)对于荷载效率系数较小(小于0.80)的梁,不宜进行应变校验系数分析和统计;2)与计算结果符号相反的残余应变,由于不符合参与应变的物理意义,建议不进行残余应变和相对残余计算。

4.3.8 静载试验结论
1、在试验荷载作用下,各测试截面主要测点的实测挠度值均小于相应的理论计算值,挠度校验系数为0.38~0.71,相对残余变形小于20%,试验桥跨刚度满足设计活载要求。
2、在试验荷载作用下,各测试截面主要测点的实测应变值均小于相应的理论计算值,应变校验系数为0.37~0.78,相对残余应变20%,试验桥跨强度满足设计活载要求。
3、测试截面附近梁体在试验过程中未见新增裂缝。
综上所述,该桥试验桥跨满足设计活载标准(公路-Ⅰ级)的正常使用要求。
静载试验结果分析
1)应变测试结果如果有少量测点的校验系数明显偏大或明显偏小,需仔细分析其原因,查看加载过程中混凝土是否开裂,是否有加载效率较小的测点;
2)挠度测试的结果稳定性更好,如果出现校验系数异常,需引起足够重视,并查明原因。
3)相对残余也应进行量化分析,不宜只评价“小于20%”;
4)试验过程中桥梁是否开裂,需认真观察,不能只是试验前和试验后观察,加载最大时应进行观察。
5)综合结论中是评价“承载能力”还是“正常使用”?荷载试验结果是否一定保证满足正常使用?因为在计算中并没有考虑温度的不利影响。
4.4、动载试验
4.4.1 工程概况
某桥主桥上部结构为(106+2×200+106) m四跨预应力混凝土连续刚构箱梁,桥面全宽12.00 m。设计荷载标准:公路-I级。


4.4.2 试验内容及控制截面
测试内容包括脉动试验、跑车试验、跳车试验、刹车试验。根据何在试验前桥梁外观检查结果综合分析,确定本次动载试验选择右幅桥主跨l/4截面 及l/2截面为控制截面。
动载试验内容
1)跳车试验是否有必要进行?跳车试验目的是激起桥梁的振动,用于测试自振频率,现在的拾振器灵敏度足够高,不需要跳车激振,跳车下的冲击系数是不能用于评价的,跳车对车辆和桥梁局部均不利。
2)刹车试验是否有必要进行?刹车试验测试的动力响应也难以进行定量评价,一般是以跑车试验的动力响应进行评价。,因此刹车试验也可不做。



跑车试验的车辆数量、车速
1)跑车试验的车辆数量,在保证安全的前提下,宜采用与车道数相同的车辆数量,以提高荷载效率,减小冲击系数。
2)跑车试验的车速,最车速宜采用设计时速,因为冲击系数一般与车速有关,如果车速太小,就不能得到最大的冲击系数。
4.4.3 计算模态

4.4.4 结构动力特性分析

动力特性分析
1)各阶频率需明确其对应的振型,如主梁竖向(面内)弯曲振动,主梁横向(面外)弯曲振动、主梁扭转等。
2)阻尼比目前还没有明确的判断标准。

4.4.5 动力响应分析


4.4.6 动力系数分析


动力系数分析
1)“动力系数”、“动力放大系数”、“冲击系数”三种叫法,但如果要与规范值进行比较,宜采用“冲击系数”。
2)实测“冲击系数”是否需要乘以荷载效率,在“试验方法”中规定需乘以荷载效率,有些学者认为不应乘荷载效率,我个人认为,两种观点均有缺陷,但目前还没有更好的办法。实践表明,不乘荷载效率在很多情况下会超过规范值。
4.4.7 动载试验结论
1、桥梁实测前4阶自振频率分别为0.732 Hz、0.977 Hz、1.514 Hz、1.880 Hz,前四阶竖向固有频率与理论频率比值介于1.07--1.24之间;表明桥跨结构实际整体刚度大于理论刚度;前四阶竖向模态阻尼比介于0.0090--0.0310之间,属于小阻尼振动,处于正常范围。
2、中跨跨中截面动力系数介于1.040--1.089之间,平均值为1.062;中跨l/4截面动力系数介于1.029--1.064之间,平均值为1.043;各工况动力系数最大实测值为1.089,动力系数较小,说明桥跨结构冲击效应较小。
3、刹车工况实测动应变值及动挠度幅值均较小,刹车后振动持续时间较短。
综上所述,该桥试验桥跨结构动力特性及动力响应正常。
动载试验结论
1)阻尼比的评价缺乏统一标准。
2)冲击系数不宜采用平均值,宜与设计规范值进行比较。
3)动力效应(应变、变形、加速度等)的评价,缺乏标准,其他规范中有用加速度进行舒适性评价的标准;
4)综合结论可用“动力特性和动力响应正常”进行评价。
5.1 某二级公路
某二级公路桥梁交工验收质量检测中发现桥梁工程存在较多施工质量缺陷,导致该项目建成2年多没能通过交工验收,施工单位一直在进行处治,缺陷整治费用高,相关参加单位存在安全风险。
桥梁工程主要质量缺陷问题如下:
(1)少数预应力混凝土T梁或空心板存在竖向或斜向裂缝。
(2)少数桥梁存在负弯矩钢筋未张拉或未布束现象。
(3) 少数桥墩未按原设计设置垫石、支座,与原设计不符。
(5)部分桥梁部分支座存在轻微脱空以及剪切变形或偏压破坏现象。
(6)部分T梁局部位置空洞露筋、波纹管外露。
(7)部分混凝土表面存在漏浆、麻面或蜂窝以及表面破损,离析现象;局部位置存在空洞、露筋现象;部分横隔板现浇部分现浇混凝土质量较差,空洞露筋。
(8)少数墩柱冲刷严重,桩头外露。
5.2 预应力混凝土T梁
某高速公路上一座大桥,上部结构为4×30m+5×30m+4×30m连续箱梁,外观检查发现部分箱梁梁存在纵向裂缝,裂缝位置与梁底波纹管位置基本重合,距离梁体边缘在0.23m~0.35m之间,裂缝宽度在0.04~0.20mm之间。抽检的梁混凝土强度满足设计要求。

在进行交工检测静载试验中发现,部分梁的应变测试数据异常,部分测点校验系数超过2.0,部分测点校验系数小于0.2。报告中称“试验过程中未发现箱梁开裂”,静载试验的挠度测试结果正常,动载试验测试结果正常。荷载试验综合结论是不合格。
经过另外检测单位的再次进行荷载试验,仍然存在该问题。
几家检测单位对该问题的原因都没能分析清楚。导致交工验收陷入困难。
经过试验,发现应变测试数据异常的原因是,梁底在试验过程中出现混凝土开裂,导致跨缝的应变测点测试数据明显偏大,裂缝附近的应变测点明显偏小。

由于该桥是预应力混凝土桥梁,在静载试验中,梁底混凝土不应该出现开裂。出现开裂的原因主要是预应力没有达到设计要求。需要采用体外预应力的方法进行加固。该桥经过加固处治,通过了交工验收。
5.3 连续刚构桥梁
某高速公路特大桥,上部结构为98+180+98m三跨预应力混凝土连续刚构,桥梁分左右幅,单幅桥宽12.5m。
质监机构交工检查发现中跨第16号节段5根波纹管外露,经破坏性检查,有2根波纹管注浆不饱满,外侧1根波纹管内有3束钢绞线松弛(1#),约有4.7米波纹管注浆不饱满;内侧1根波纹管内有5束钢绞线松弛(2#),约有5.5米波纹管注浆不饱满,钢绞线表面局部锈蚀。
(1)经某知名检测单位检查,结果如下:
1)发现该两座特大桥施工中存在不同程度的质量缺陷,主要表现为梁段连接较差、混凝土破损、露筋、局部底板混凝土存在空洞、波纹管外露、混凝土开裂等。
2)部分梁段的混凝土强度不满足设计要求。箱梁顶板、底板、腹板裂缝较多,最宽0.5mm,超过规范限值。
3)专项检测和结构验算表明,“专项检测结果表明,该桥施工质量存在局部的质量缺陷,建议进行相应的处治。”
4)荷载试验结论:
静载试验结论:桥跨结构能满足设计的汽车-超20级、挂车-120的荷载等级使用要求。
动载试验结论:桥跨结构具有较好的动力性能。
5)评估结论:
该桥桥跨结构正常使用极限状态应力结果满足设计要求。
6)建议
鉴于桥梁结构承载能力满足设计荷载等级的要求,并具有较好的动力特性,但仍存在局部的混凝土表观缺陷等质量问题,故应对桥梁的病害进行整治及修补。
(2)我中心应质监机构邀请进行全面检测和评估,结果如下:
1)外观检查结论
大桥左右幅受检区(加固时已粘贴了碳纤维布和钢板的区域无法检查)顶板底面、底板底面存在较多纵向裂缝,裂缝总数为87条,总长132.7m,15%左右的裂缝宽度超限。抽检的4处中跨跨中纵向预应力波纹管均压浆不饱满,但预应力筋未见松动。混凝土离析、麻面处较多,部分节段混凝土存在空洞,抽检的1处竖向预应力波纹管压浆不饱满。
2)桥面线形测量结论
两次检测期间,左右幅中跨的普遍下挠,跨中最大,左幅为52.6mm。右幅为87.8mm。若考虑扣除测量时的温差影响、二期恒载影响(右幅桥10cm沥青铺装)和按规范计算的收缩徐变的影响,则实际的结构性下沉量为左幅3.9cm,右幅4.2cm。

3)混凝土强度测试结论
超声回弹综合法检测混凝土强度,得出测试的左幅桥25个梁段中,最高强度为57.4 MPa,最低强度41.0MPa。其中9个梁段的强度在50.0 MPa以下。经过钻芯取样,检测结果基本一致。
4)预应力损失推算结果
根据两次测得的主梁下挠量进行反推分析(扣除按规范计算的正常收缩徐变引起的下挠),则K46+448.9特大桥左幅预应力损失约为7.8%,右幅约为8.3%。
现场应力释放法的检测结果表明本桥的实际预应力损失可能比预计的7.8%和8.3%更大。
5)极限承载能力计算结果:
混凝土取C40和C46时,计算结果表明,考虑普通钢筋作用时,在现状下,上部结构主梁部分截面承载能力极限状态不满足规范要求。抗力/内力最小值分别为0.84、0.93。
6)正常使用极限状态计算结果:
主梁混凝土为40号,纵向预应力按发生7.8%的损失取用时,左幅桥主梁在正常使用极限状态组合Ⅰ作用下部分主梁截面正应力不满足规范要求(部分截面下缘压应力超过允许值)。
7)荷载试验结果
静动载试验结果表明,该桥的受力性能正常。
8)综合结论
大桥存在较多缺陷。在9个月的时间内,左、右幅桥主跨跨中结构性下挠分别为3.9cm和4.2cm,反映出主梁预应力有比较明显的下降。虽然荷载试验结果表明目前在设计活载作用下桥梁的受力性能正常,但计算结果表明大桥部分梁段的极限承载能力不满足设计要求,部分工况下其正常使用极限状态不满足设计要求。
现状下,大桥左右幅在设计汽车荷载单车道居中行驶时,主梁截面极限承载能力计算结果满足规范要求,正常使用极限状态下的截面应力满足规范要求。
9)建议
1、短期内可以设计荷载单车道开放交通,车辆居中行驶,严格限载、限速。
2、尽快完成对桥梁的维修和加固,使其满足设计和规范要求。
3、加强实时监测,发现异常情况应立即采取相应措施。
4、加强桥梁的长期监测、定期检查和养护。
10)处治
1、先采用粘贴钢板等加固,运行中继续出现问题。
2、建立长期监测系统,进行状态检测。
桥梁交工质量鉴定的总体要求:结构安全稳定,混凝土强度、桩基检测、预应力构件的张拉应力、桥梁承载力等均符合设计要求
--实体检测:混凝土强度、钢筋保护层
--外观检查:混凝土开裂、波纹管空洞
--静载试验:结构计算、数据分析
--动载试验:车辆数量及速度、冲击系数
内容源于网络,仅作分享使用,如有侵权,请联系删除
相关资料推荐:
知识点:公路桥梁交工验收的常见质量问题与检测方法
0人已收藏
0人已打赏
免费4人已点赞
分享
混凝土结构
返回版块140.17 万条内容 · 2213 人订阅
阅读下一篇
桥梁结构典型病害成因分析一、常见的桥梁病害 简支梁桥梁常见病害;支座容易脱空。(空心板、小箱梁);保护层厚度不均,容易引起露筋。(空心板、小箱梁);容易导致梁下缘纵缝(PC T梁、小箱梁);腹板、肋板容易产生竖向及斜向裂缝;底板、马蹄(肋板)底面容易产生横向裂缝;预应力封锚端混凝土容易脱落;梁体支撑处局部混凝土容易劈裂;露筋及混凝土常见病害;连续梁桥梁常见病害。
回帖成功
经验值 +10
全部回复(0 )
只看楼主 我来说两句抢沙发