1、本人对于节点设计的看法
1、本人对于节点设计的看法
2.国标与美标计算参数的区别
2.1 参照规范
《钢结构设计规范》(GB50017-2003)
GB-T1591-2008(低合金高强度结构钢)
Specificationfor Structural Steel Buildings ANSI/AISC 360-10
2.2 强度设计值
【用又土又木APP,可以直接搜条文,看条文说明】



b.板件的抗拉净截面撕裂强度计算,公式用的是Fu。
2.3 常见板件验算公式
2.3.1 国标中7.5章连接板验算(均为抗剪拉计算)





2.3.2 美标中连接板的验算:
2.3.2.1 板件毛截面受拉屈服和净截面受拉撕裂
2.3.2.2 板件毛截面受剪屈服和净截面受剪撕裂

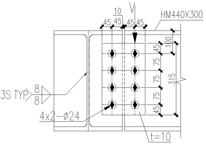
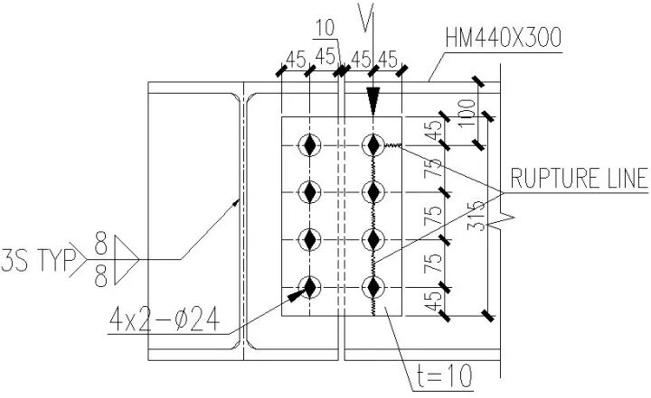
假设主次梁铰接的连接板受到剪力作用。

需要验算板件毛截面剪切屈服强度:
0.6Fy*Agv(毛截面面积,等于315*10)>V;
还需验算板件净截面撕裂强度:
0.6Fu*Anv[净截面面积,等于(315-24*4)*10]>V
2.3.2.3板件受剪发生Block Shear(块剪切)


2.3.2.4板件受压屈曲强度


3.节点示例





刚接柱脚节点
内容源于网络,仅作分享使用,如有侵权,请联系删除
相关资料推荐:
知识点:连接板设计
0人已收藏
0人已打赏
免费4人已点赞
分享
结构资料库
返回版块41.29 万条内容 · 424 人订阅
阅读下一篇
学了这么多年结构力学,它的基本任务你了解多少?精彩内容 结构力学的任务是什么呢?简单说就是要设计的结构既安全又经济。就这么一句话,却是很费理解的,而且人类经过了几百年的努力,又需要方方面面的合作才能够完满地达到。 首先,一个结构要承担它的使用功能,例如建筑在南方沿海的一座楼房,它不仅要承受日常的载荷,如在楼内生活的人群、各种家具和附属物对楼产生的载荷,楼还要经受台风的考验。建在地震区的结构又要经受地震的考验。结构设计者就要借助结构力学,使设计的结构在以上各种使用的条件下,结构不会丧失它的功能,即使在极端不利的条件下,结构可以开裂或受损,楼房中的人也应当是安全的。一句话,所谓安全,就是要保证结构有足够的强度、刚度和稳定性。从另一方面说,如果为了安全,把结构做得特别结实,多用材料用好材料,楼房多配钢筋做成一个铁疙瘩行不行呢?那样又太浪费了。结构力学就是要帮助设计者掌握一个度,既要安全又要经济。所以结构力学,实在是现代结构设计最重要的手段。
回帖成功
经验值 +10
全部回复(0 )
只看楼主 我来说两句抢沙发