引言
从设计师的角度对室外埋地消防管材做个梳理,同时兼顾施工、安装、成本对比方面,对施工方及甲方也有参考意义。
由于设计师在深化设计时,首先考虑的是此管材是否满足国家现行规范,规范的效应相当于法律条文,不得违背。故本文的逻辑是基于规范依据而展开。
设计规范依据
1. GB 50974-2014《消防给水及消火栓系统技术规范》要求
8.2.4条要求,埋地管道宜采用球墨铸铁管、钢丝网骨架塑料复合管和加强防腐的钢管等管材。
8.2.5条要求,埋地管道当系统工作压力P≤1.20MPa时,宜采用球墨铸铁管或钢丝网骨架塑料复合管给水管道;当1.20MPa<P≤1.60MPa时,宜采用钢丝网骨架塑料复合管、加厚钢管和无缝钢管;当P>1.60MPa时,宜采用无缝钢管。
8.2.6条要求,埋地金属管道的管顶覆土应符合下列规定:管道最小管顶覆土不应小于0.70m,机动车道下不宜小于0.90m,并且至少在冰冻线以下0.30MPa。
8.2.7条要求,埋地管道采用钢丝网骨架塑料复合管时,最小管顶覆土深度,在人行道下不宜小于0.80m,在轻型车行道下不应小于1.0m,且应在冰冻线下 0.30m;在重型汽车道路或铁路、高速公路下应设置保护套管,套管与钢丝网骨架塑料复合管的净距不应小于100mm。
2.钢丝网骨架塑料复合管的类型
1)钢丝网骨架塑料复合管(以下简称1号管材),本管材的主要设计标准遵循CJ/T 189。
2)胶圈电熔双密封聚乙烯金属增强型复合管材(以下简称2号管材),本管材主要设计标准遵循CECS 395。
市场上充斥着不同的管材,那么2号管材与1号管材是否为同一类型,弄清这个问题非常重要。
根据CECS 395-2015,第3.2.1条的规定,2号管材带有胶圈电熔双密封承口,管材本体增强形式与1号管材一致,故2号管材与1号管材属于同类管材。只是为了突出区别,特采用了“胶圈电熔双密封聚乙烯金属增强型复合管材”的名字。
管材详细对比
1.球墨铸铁管
球墨铸铁管属刚性管材,采用承插式橡胶圈封密方式连接,接口属柔性连接。采用橡胶圈密封连接,管道需直线安装,接口转角只充许在1°-3°范围,超过范围应力集中易致管口变形漏水。

图1 球墨铸铁管接头防脱措施示意图

图2 接口连接后剖面
2.钢丝网骨架聚乙烯复合管
钢丝网骨架塑料复合管属于建立PE管基础上进行优化升级产品,用于增强的钢丝采用一定角度左、右螺旋至芯管后,再次加温后用改性树脂进行钢丝与芯管复合,并同步用塑料剂出机剂出外层定型,此种工艺保留了PE管全部优点。增强钢丝承担了60%耐压强度,钢丝网骨架塑料复合管最高达3.5MPa耐压强度,明显比PE管提升。同等压力成本并未增加,压力越高价格更具优势。采用电熔管件连接,接口质量比PE管对接焊质量大幅提升。
采用电熔管件连接,接口质量比PE管对接焊质量大幅提升。电熔管件连接施工时的高要求受管件型式、施工工序、人为因素等影响较大,易形成接口虚熔接。

图3 电熔管件连接示意图
3.胶圈电熔双密封聚乙烯金属增强型复合管
胶圈电熔双密封聚乙烯金属增强型复合管,每根管材一端具有胶圈电熔双密封承口。由于管道一端自带承口,在实际施工中接口数量减少50%,有利于快速的安装。

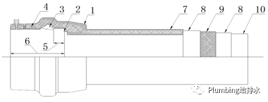
图4 胶圈电熔双密封接口剖面图

图5 胶圈电熔双密封接口结构图
1-管材承口;2-承入止口;3-橡胶密封圈;4-电热熔区;5-防位移安全区长度;
6-承入深度;7-外层聚乙烯;8-复合层树脂;9-高强度增强钢丝;10-内层聚乙烯
4. 施工成本对比
表1 几种管材成本对比情况

展述并延伸
1.埋地消防管道属于隐蔽工程,管网漏水、维修均较困难。据相关部门报导管网水损仍高达20%-30%,约90%跑、滴、漏现象大多集中在管道接口处。故选择接口安装技术成熟简单可靠的管材非常重要。
2.GB 50974-2014第12.3.17条明确说明,地震烈度在7度及7度以上时宜采用柔性连接的金属管道或钢丝网骨架塑料复合管等。从汶川地震的一些资料表明有一定可伸缩性的塑料管抗震性能良好,因此建议采用钢丝网塑料管。从施工的便利性和管材的可靠性角度考虑,建议选用胶圈电熔双密封聚乙烯金属增强型复合管。
相关资料推荐:
https://ziliao.co188.com/d63508833.html
知识点:关于“室外消防管材”在工程设计中的选用
0人已收藏
0人已打赏
免费6人已点赞
分享
建筑消防给水
返回版块28.41 万条内容 · 744 人订阅
回帖成功
经验值 +10
全部回复(3 )
只看楼主 我来说两句-
胖阿蒙
沙发
2022-12-08 13:46:08
赞同0
-
刘雄辉
板凳
2022-12-06 12:28:06
赞同0
加载更多讲的很好
回复 举报
谢谢分享
回复 举报