优缺点
优点:
(a)墙体刚度大、整体性好;
(b)适用各种地质条件;
(c)可减少工程施工时对环境的影响;
(d)可进行逆筑法施工,有利于加快施工速度,降低工程造价。
缺点:
(a)对泥浆废液的处理,不但会增加工程费用,而且如果泥水分 离技术不完善或处理不当,会造成新的环境污染;
(b)槽壁坍塌问题。
(c)地下连续墙如果仅用作施工时的临时挡土结构,则造价可能 较高,不够经济。
施工顺序



支护基坑的连续墙,按其受力特性,又可分为四种型式:
临时墙:

单层墙

叠合墙

复合墙

(1)现浇钢筋混凝土壁板式连续墙
壁式连续墙厚度视地质条件、基坑深度、挖槽设备而定,有1000px、1500px、2000px、3000px等多种。
墙体配筋按强度和抗裂性计算而定。
钢筋间距不小于80mm。
保护层:临时墙大于60mm;永久墙大于100mm。
(2)预制钢筋混凝土连续墙
预应力钢筋混凝土。受吊装能力限制。

(1)泥浆槽壁稳定性分析

泥浆槽壁稳定性的影响因素:
地层性质
槽内泥浆液位高度
泥浆比重
地下水位
槽边荷载
一次成槽长度
槽的深度
泥浆槽壁稳定性分析方法:
二维楔形分析法
考虑拱效应的三维分析法
目前使用的成槽机,按成槽机理可分为抓斗式、回转式和冲击式三种。




1-多头钻;2-机架;3-吸泥泵;4-振动筛;5-水力旋流器;6-泥浆搅拌机;7-螺旋输送机;8-泥浆池;9-泥浆沉淀池;10-补浆用输浆管;11-接头管;12-接头管顶升架;13-混凝土灌注机;14-混凝土吊斗;15-混凝土导管上的料斗;16-膨润土;17-轨道



施工工艺
导墙施工、泥浆护壁、成槽、钢筋混凝土施工、接头处理。
导墙施工
①导墙的作用
a.控制地下连续墙施工精度;
b.成槽时起挡土作用;
c.重物支承台;
d.维持稳定泥浆液面的作用。
②导墙的形式
a.现浇钢筋混凝土结构;
b.钢制装配式结构;
c.预制钢筋混凝土结构。

适用于表层土质良好(如密实的粘性土等)和导墙上荷载较小的情况。

适用于表层土为杂填土、软粘土等承载能力较弱的土层。 
适用于作用在导墙上的荷载很大的情况,可根据荷载大小计算确定其伸出部分长度。

适用于临近建筑物的情况,有相邻建筑物的一侧应适当加强。

适用于当地下水位很到而又不采用井点降水时,为确保导墙内泥浆液面高于地下水位1m以上,需将导墙上提而高出地面。

Γ型导墙适用于地表土较好,具有足够的地基承载力,在导墙施工期间能保持侧壁垂直自立情况。
L型导墙适用于地表土开挖后侧壁不能垂直自立情况。

在确定导墙形式时,应考虑如下因素:
i)表层土的特性;
ii)荷载情况;
iii)地下连续墙施工时对邻近建筑物可能产生的影响;
iv)地下水位的高低及地下水位的变化情况 。
③导墙的施工
导墙一般采用C20混凝土浇筑,配筋通常为φ12~14@200。
两侧导墙净距应比地下连续墙厚度略宽40mm左右。导墙顶面应高于地面100mm左右。
导墙拆模后,应沿其纵向每隔1m左右设两道木支撑。
导墙施工顺序:平整场地→测量放样→挖槽→浇筑导墙垫层混凝土→钢筋绑扎→ 立模板浇筑混凝土→养护→设置横向支撑

导墙测量定位

导墙开挖

钢筋绑扎

导墙模板支撑

导墙混凝土浇筑

架设木支撑或者砖支撑
泥浆护壁
①泥浆的作用
护壁--静水压力,液体支撑,形成泥皮,维护土壁稳定
携砂--较高黏性,将土渣悬浮
冷却机具--降低钻头温度,减小钻具磨损
切土润滑--减小土体开挖难度
②泥浆的组成
护壁泥浆主要是膨润土泥浆,其成分为膨润土、水和一些掺合物。

表6-2-5 膨润土泥浆的通常配合比
③泥浆的性能指标
表6-2-6 泥浆性能指标表
④泥浆的制备和处理
i)泥浆的需要量
![]()
式中 Q ——泥浆总需要量(m3);
V ——设计总挖土量(m3);
n ——单元槽段数量;
K1——浇筑砼时的泥浆回收率(%),一般为60%~80%;
K2 ——泥浆消耗率(%),一般为10%~20%,包括泥浆循环、排土、形成泥皮、漏浆等泥浆损失。
ii)泥浆的制备
采用高速回转式搅拌机的高速回转,把泥浆搅拌均匀。


泥浆制备工厂

泥浆工厂内部

iii)泥浆的再生处理
处理方法主要有机械处理和重力沉淀处理,最好是两种方法组合使用。
重力沉降处理是利用泥浆和土渣的密度差使土渣沉淀的方法。
机械处理方法通常是使用振动筛和旋流器。
废弃泥浆需采用化学及机械方法进行泥水分离,水排走,泥可用填土。

泥浆处理系统
成槽
成槽是地下连续墙施工中的关键工序,挖槽精度是保证地下连续墙施工质量的关键之一,特别是垂直度,必须保证设计要求。
我国地铁设计规范中规定,连续墙墙面倾斜度不宜大于1/150,局部突出也不宜大于100mm,且墙体不得侵入主体结构隧道净空。同时成槽约占地下连续墙施工工期的一半,因此提高其成槽效率也能加快施工进度。
①槽段长度的确定
影响因素:
地质条件;
地面荷载;
起重机械的起重能力;
单位时间内供应砼的能力;
泥浆池(罐)的容积;
工地所占用场地面积以及能够连续作业的时间。
一般槽段长度3~8m,也有10m甚至更长情况。

②槽壁的稳定
泥浆护壁仍是目前保持连续墙槽壁稳定的主要方法。
选用适当的材料和配合比。
控制槽内放置时间。
i)泥浆密度
泥浆密度宜每两小时测定一次。一般新制备的泥浆的密度应小于1.05;在成槽结束后,槽内泥浆的密度不大于1.15,槽底部泥浆的密度不大于1.25。
ii)泥浆的粘度
粘度可用漏斗形粘度计进行测定。
表6-2-7 泥浆漏斗粘度

表6-2-8 泥浆漏斗粘度(泥浆循环状态)
③成槽要领
确保场地的平整以及地表层的地基承载力
确保作业场内的各种施工机械能够正常运转
随时调整并确保成槽机的垂直度
及时供应质量可靠的护壁泥浆
预先钻孔导向
加强槽底清淤工作。为了给下道工序(如安装接头管、钢筋笼、浇筑混凝土)提供良好条件,确保墙体质量,应对残留在槽底的土碴、杂物进行清除。
清淤方法一般采用吸水泵、空气压缩机和潜水泥浆泵等排碴方法;当下钢筋笼后清槽则可用混凝土导管压清水或稀泥浆清淤。

钢筋混凝土施工要点
①钢筋笼的加工和吊放
钢筋笼纵向应预留导管位置,并上下贯通;
钢筋笼底端应在0.5m范围内的厚度方向上做收口处理;
吊点焊接应牢固,并应保证钢筋笼起吊刚度;
钢筋笼应设定位垫块,其深度方向间距为3~5m,每层设2~3块;
预埋件应与主筋连接牢固,外露面包扎严密;
分节制作钢筋笼应试拼装,其主筋接头搭接长度应符合设计要求,如采用焊接或机械连接时,应按相应技术规定执行。
制作精度应符合规定。
钢筋笼应在槽段接头清刷、清槽、换浆合格后及时吊放入槽,并应对准槽段中心线缓慢沉入,不得强行入槽。
钢筋笼分段沉放入槽时,下节钢筋笼平面位置应正确并临时固定于导墙上,上下节主筋对正连接牢固,并经检查合格后,方可继续下沉。

②砼浇筑要点
材料:采用掺外加剂的防水混凝土。
砼强度级别不低于C20。
方法:直升导管浇注水下混凝土
导管数量:槽段小于4m,可1根;大于4m,应2根以上。
导管直径及间距:采用150mm管径时,间距2m;采用200mm管径时,间距3m。

钢筋笼沉放就位后应及时灌注混凝土,并不应超过4h;
各导管储料斗内砼储量应保证开始灌注砼时埋管深度不小于500mm;
各导管剪断隔水栓吊挂线后应同时均匀连续灌注砼,因故中断灌注时间不得超过30min;
导管随混凝上灌注应逐步提升,其埋入混凝土深度应为 1. 5~3.0m,相邻两导管内砼高差不应大于0. 5m;
砼不得溢出导管落入槽内;
砼灌注速度不应低于2m/h;
置换出的泥浆应及时处理不得溢出地面;
砼灌注宜高出设计高程300~500mm

连续墙水下混凝土灌注用管

注浆管安装

混凝土浇注架
接头处理
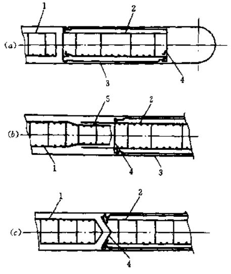
划分单元槽段应十分注意槽段之间的接头位置的合理设置,一般情况下应避免接头设在转角处及地下连续墙与内部结构的连接处,以保证地下连续墙有较好的整体性。


a)接头部分设在柱与柱之间;b)接头设在与内部结构连接以外;c)、d)接头设在拐角以外,拐角使用整体钢筋笼;e)、f)接头设在丁字和十字连接以外,连接处用整体钢筋笼;g)圆形、多边形结构连接
①接头管(连锁管)接头
接头管一般是钢制的,且大多采用圆形,其施工顺序: 
施工顺序有两种情况:一种可依次施作,一种可分一期和二期跳挖(为平衡两端水土压力)

接头管的直径一般要比墙厚小50mm。管身壁厚一般为19~20mm。每节长度一般为5~10m,在施工现场的高度受到限制的情况下,管长可适当缩短。
接头管大多为圆形的,此外还有缺口圆形的、带翼的、带凸榫的等。
大多用圆形,其外径不小于墙厚的93%。
为便于起拔,要在管身上涂抹黄油以保证光滑。浇筑砼2h后旋转半周。


②接头箱接头




接头箱起拔
③隔板式接头
隔板式接头按隔板 的形状分为平隔板、 榫形隔板和V形隔板。
④结构接头
地下连续墙与内部结构的楼板、柱、梁连续的结构接头。
a.直接连接接头
在连续墙浇筑前预埋连接钢筋。

b. 间接连接接头
预埋连接钢板方式

预埋剪力块方式

内容源于网络,仅作分享使用,如有侵权,请联系删除
相关资料推荐:
知识点:地下连续墙施工工艺
0人已收藏
0人已打赏
免费4人已点赞
分享
结构施工图
返回版块57.56 万条内容 · 1092 人订阅
阅读下一篇
中风化泥质粉砂岩层江底联络通道施工技术摘要:为了解决江底盾构区间联络通道矿山法施工涌砂涌水风险技术难题,以南昌地铁 1号线秋水广场站至中山西路站盾构区间赣江江底 3#联络通道施工为例,通过现场施工经验总结及注浆方案改进,成功完成了 3#联络通道的开挖与支护。 施工证明,该施工技术在处于江底的中风化泥质粉砂岩层中是适用的。 0 引言 近年来,随着城市轨道交通的迅速发展及盾构施工的日益普及,盾构区间联络通道的施工技术也日益成熟。
回帖成功
经验值 +10
全部回复(1 )
只看楼主 我来说两句 抢板凳好,非常全面实用
回复 举报