知识点:住宅排气系统
来源:网络,如有侵权,请联系删除

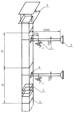
1-屋顶风帽;2-吸油烟机;3-排气道管;4-防火止回阀;
5-烟道内部辅助结构;6-烟道(主排气道);H-建筑层高
推荐资料:
13BJZ8 建筑住宅厨卫排气道系统
https://ziliao.co188.com/p62890250.html
新14JT903住宅排气道系统
0人已收藏
0人已打赏
免费0人已点赞
分享
通风排烟
返回版块13.92 万条内容 · 628 人订阅
阅读下一篇
供回水总管上的旁通阀与压差旁通阀的选择知识点:供回水总管 来源:网络,如有侵权,请联系删除 在变水量水系统中,为了保证流经冷水机组中蒸发器的冷冻水流量恒定,在多台冷水机组的供回水总管上设一条旁通管。旁通管上安有压差控制的旁通调节阀。旁通管的最大设计流量按一台冷水机组的冷冻水水量确定,旁通管管径直接按冷冻水管最大允许流速选择,不应未经计算就选择与旁通阀相同规格的管径。 当空调水系统采用国产ZAPB、ZAPC 型电动调节阀作为旁通阀,末端设备管段的阻力为0.2MPa 时,对应不同冷量冷水机组旁通阀的通径,可按下表选用:
回帖成功
经验值 +10
全部回复(0 )
只看楼主 我来说两句抢沙发