土木在线论坛 \ 暖通空调 \ 采暖供热 \ 膨胀阀和感温包位置

膨胀阀和感温包位置

发布于:2022-10-12 15:41:12 来自:暖通空调/采暖供热 [复制转发]

知识点:膨胀阀和感温包位置

来源:网络,如有侵权,请联系删除


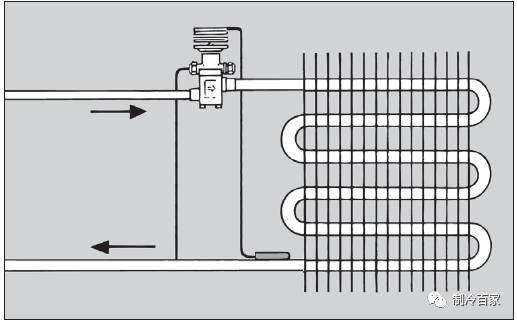
1、膨胀阀必须安装在位于蒸发器之前的液体管路;


2、温包应固定在尽可能靠近蒸发器的吸气管路上。


如果存在外部压力平衡,平衡管必须在出温包后立即连到吸气管路。


图片

推荐资料: 

空调膨胀阀的维修与故障判断

https://ziliao.co188.com/p62311179.html  

膨胀阀选型

https://ziliao.co188.com/s50576853.html 

全部回复(0 )

只看楼主 我来说两句抢沙发
这个家伙什么也没有留下。。。

采暖供热

返回版块

20.38 万条内容 · 611 人订阅

猜你喜欢

阅读下一篇

如何检修电子膨胀阀

知识点:电子膨胀阀检修 来源:网络,如有侵权,请联系删除 电子膨胀阀故障一般有脉冲电动机损坏,转子卡住、针阀密封性差等故障。 在正常情况 下,当空调器加电启动后,电子膨胀阀应有“咯嗒”的响声,且空调器运行一段时间后用手 摸电子膨胀阀的两端,进口处是温热的,出口处是冰凉的; 若没有响声,或在空调器制冷模式下,压缩机工作一段时间后电子膨胀阀结霜,则需要检测其供电(直流12V)、线圈等是否正常。

回帖成功

经验值 +10