引 言
锚杆是隧道支护中一种重要的组成部分,作为深入围岩内部的受拉构件,它一端与初期支护结构进行连接,另一端通过锚固段与围岩进行固结。锚杆可将隧道周边围岩连接固定在一起,从而提升围岩的自支护能力。
为适应不同的工程支护需求,锚杆已发展有多种类型。本次将针对自进式中空锚杆和大变形锚杆施工技术进行分享。
自进式中空锚杆
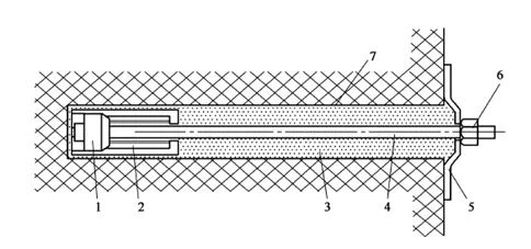
自进式中空锚杆由中空螺纹钢管、连接套(可选)、钻头、垫板、螺母等组成。自进式中空锚杆结构如图1所示。
图1 自进式中空锚杆结构图
1-钻头;2-中空螺纹钢管;3-连接套(可选);4-垫板;5-螺母
图2 边钻边注浆工艺示意图
图3 边钻边注浆现场施工图
图4 自进式中空锚杆施工工艺流程图(边钻边注浆)
2)先钻后注浆工艺
当采用先钻后注浆工艺时,锚杆杆体钻进至设计深度后,应采用水或空气洗孔,直至孔口返水或返气,方可卸下钎尾,及时安装止浆塞并注浆。
采用先钻后注浆工艺的自进式中空锚杆施工工艺流程如图5所示。
图5 自进式中空锚杆施工工艺流程图(先钻后注浆)
大变形锚杆(索)
1)概念及特点
所谓的“让压锚杆”,即在保持锚杆恒定支护阻力的条件下,允许围岩及支护结构产生一定的位移量以释放部分围岩压力及动荷载作用时积累的能量,当这种可控的变形—让压量释放完毕后,让压锚杆随变形的进一步加大而持续承载直至破坏。基于上述思想,研发的让压锚杆结构特征为在锚杆中安装一种特定的让压装置,当支护结构发生大变形时,通过让压装置使锚杆体产生与岩土体相适应的变形,避免锚杆体拉断失效,保持支护作用,它是一种能够有效控制复杂多变而又难以支护的围岩大变形的特定锚杆(图6)。
图6 让压锚杆示意图
让压支护是一种集洞室径向让压与环向让压于一体的技术,且因让压支护体系是一个包含初喷混凝土、锚杆及钢支撑的综合体系,所以在让压过程中就需要该系统协同工作,形成径向和环向的协调同步变形。因此,现场的让压支护体系应由让压锚杆、混凝土衬砌让压控制器、钢支撑让压控制器或可缩性钢支撑等共同组成。让压支护结构如图7所示。
图7 让压支护结构现场图
2)分类及作用机理
按让压方式进行划分,让压锚杆通常可分为套筒式让压锚杆和挤压套式让压锚杆。
(1)套筒式让压锚杆
套筒式让压锚杆分为内锚让压式(图8)和外锚让压式(图9),让压装置为含圆锥面的套筒,挤压头在套筒内,在锚杆受拉到一定阈值时滑移,形成恒阻变形,变形值长度与锚杆体长度、让压阈值、套筒长度有关。
图8 套筒式恒阻让压注浆锚杆(内锚让压)
1-挤压头; 2-让压套筒;3-注浆体;4-锚杆体(非黏结);5-垫板;6-锁定螺母; 7-锚杆孔
图9 套筒式恒阻让压注浆锚杆(外锚让压)
1-锚杆孔;2-让压套筒;3-锁定螺母;4-垫板; 5-挤压头;6-锚杆体(非黏结); 7-注浆
让压的作用机制:在外部拉力的作用下,锚筋必然受到一定的拉力作用。当拉力值超过套筒内壁锥面或凸棱强度时,内壁锥面或凸棱变形屈服,带动挤压头相对于套筒做恒定力的滑移,通过挤压头与让压套筒的相对位移实现让压要求,为保证让压锚杆的力学特性,对锚筋可不作任何处理;当低于此拉力值时,挤压头与套筒对锚筋起锚固作用,锚筋不滑移。此让压锚具采用内部让压,不影响孔外部空间,让压量可通过让压套筒长度调节,在围岩锚固中实现锚杆(索)能适应围岩所产生的较大变形,实现让压效果,使变形地质体在锚固中将有害变形适度释放,维护锚固效果,保证锚固的可靠,为工程的安全提供保障。
(2)挤压套式让压锚杆
利用一个特殊钢材制成的圆柱管,以特定压力挤压在锚杆体上的让压装置。根据不同需要,挤压套让压装置还可安装在杆体内锚段和孔口外段上。如图10所示,让压装置安装在锚底内锚段时,让压装置与阻挡件之间的距离为最大滑移距离。
图10 恒阻挤压套式中空注浆让压锚杆(锚底内锚式)示意图
图11为孔口外锚式锚杆及让压过程示意图。让压装置安装垫板外侧的外锚段上,让压套与锁定螺母之间的距离为最大滑移距离。
让压的工作机制:恒阻挤压滑移让压锚杆在杆体上穿套一段钢管,通过纵向挤压机具挤压钢管,使钢管轴向伸长,形成挤压套,为锚杆提供握裹力;杆体由于径向挤压受力,内腔收缩,局部形成缩颈段,依靠杆体自身性能实现锚杆让压功能。图11给出了恒阻挤压滑移让压锚杆的让压工作原理。
图11 孔口外部让压锚杆让压过程示意图
恒阻挤压滑移让压锚杆的力学特性概化曲线如图12所示。
图12 让压锚杆的变形特征曲线
由图12 可以看出,恒阻挤压滑移让压锚杆受力过程主要分为3 个阶段:
①弹性变形阶段。当围岩变形较小,锚杆杆体所受轴力小于其与挤压套之间的握裹阻力时,挤压套不发生滑移,锚杆依靠材料自身性能抵抗围岩变形,提供支护力。
②让压变形阶段。围岩变形逐渐加大时,锚杆杆体所受拉力超过其与挤压套之间的握裹阻力时,挤压套发生滑移,逐步使杆体径向收缩,恒阻让压滑移,适应围岩大变形。当围岩稳定或杆体所受拉力小于它与挤压套之间的阻力时,挤压套停止滑移,让压结束。
③弹塑性阶段。围岩变形进一步加大时,让压行程耗尽,杆体依靠自身材料性能抵抗围岩变形,提供支护力,直到锚杆发生脆性破坏。
与一般锚杆适应大变形有所不同,恒阻挤压滑移让压锚杆通过挤压并拉伸锚杆杆体来消耗高地应力引起的围岩形变能量,实现让压,有效支护大变形围岩,其中涉及的两个重要参数指标阐述如下:
①最大让压力确定。恒阻挤压滑移让压锚杆挤压套滑移时,逐步使杆体径向收缩,不会造成杆体材料纤维损伤,让压荷载稳定;恒阻挤压滑移锚杆通过调节钢管与锚杆杆体的握裹阻力,可以依据具体大变形隧道工程的围岩特性,调节让压锚杆的让压荷载。
②最大让压量确定。通过计算确定围岩最大可能产生的变形量,调整挤压套在恒阻挤压滑移让压锚杆的位置,调节让压行程,满足变形程度不同的隧道要求。让压系列锚杆(索)可以及时地施加预应力,很好地满足锚杆、锚索的让压要求,适应隧道大变形,保证持续的支护作用。将型钢支撑与千斤顶或让压装置结合,可以实现型钢支撑的让压。
1)定义、分类及适用范围
恒阻大变形锚索是一种新型锚索,主要由恒阻器、钢绞线、方形托盘、锚具等组成,能够在隧道围岩发生大变形时产生滑移变形,并保持恒定的工作阻力。具有负泊松比效应(Negative Poisson′s Ratio,NPR)的恒阻大变形锚索,也称为NPR 锚索,NPR 锚索在受到单轴拉伸时会发生侧向膨胀。NPR锚索结构如图13 所示。
图13 NPR 锚索结构
在高地应力环境下,隧道软岩常常出现大变形问题,由于传统预应力锚索延伸率低,不能适应地下工程围岩大变形的破坏特点,当围岩出现较大变形时,由于变形初期能量较大,围岩的变形能超出锚索所能承受的范围,造成预应力锚索支护体系失效,进而造成工程冒顶、塌方等事故。
恒阻大变形锚索和传统预应力锚索的一个主要差别是其具有“让中有抗,抗中有让,防断恒阻”的特性,具有这个特性的核心部件是一种新型恒阻器,将该恒阻器加到传统预应力锚索上,就可以实现恒阻大变形的功能。
隧道开挖后,破坏了原岩的力学平衡,一方面由于围岩应力重新调整,使围岩自身的力学属性承受不了应力集中,从而产生塑性区或拉力区;另一方面是由于施工引起围岩松弛,加上地质构造的影响,降低了围岩的稳定程度。因此,在隧道围岩尚未发生大变形破坏前,必须采取一定的支护措施,改变围岩本身的力学状态,提高围岩强度,从而在围岩体内形成一个完整稳定的承载圈,达到维护围岩稳定的目的。NPR 锚索的工作原理主要分为3个阶段。
(1)弹性变形阶段
由于施加了高预应力,NPR锚索处于主动支护的工作状态[图14a)]。隧道围岩变形能通过托盘和内部锚固段施加到锚索上。围岩变形能较小时,作用于锚索体的轴力小于NPR锚索的设计恒阻力,恒阻装置不发挥作用,依靠锚索的弹性变形来抵抗隧道围岩的变形。
(2)结构变形阶段
随着隧道围岩变形能不断释放,作用于锚索的轴力大于设定恒阻力,恒阻体沿着恒阻套管内壁发生滑移,并在滑移过程中保持恒阻特性[图14b)]。依靠NPR 锚索的结构变形来防止隧道围岩发生变形破坏。
(3)极限变形阶段
通过NPR 锚索材料变形和结构变形后,围岩体能量得到充分释放,内部应力状态趋于平衡稳定,恒阻体停止滑移,隧道围岩处于相对稳定的状态[图14c)]。
图14 恒阻大变形锚索工作原理

(2)力学特性
恒阻大变形锚索具有负泊松比效应、高恒阻大变形、吸收能量及抗冲击性等显著的力学性能。
负泊松比效应是指材料在受到拉伸时,垂直于拉应力方向会发生膨胀;在受到压缩时,在垂直于应力方向发生收缩;在受到弯曲时,由于内部结构为球形腔,在张力的作用下,球形腔大多为等规圆筒状结构,使应力集中效应大为减弱。恒阻大变形锚索支护材料采用负泊松比效应材料,具有更强的力学与物理特性。NPR 锚索负泊松比效应如图15所示。
图15 NPR 锚索负泊松比效应
通过力学测试,不同恒阻值条件下,NPR 锚索都表现出了良好的恒阻特性和大变形特性,如图16所示。
图16 高恒阻、大变形特性
通过对两组新型锚索进行动力冲击试验,结果显示,受冲击过程中锚索受力均在设定恒阻值200kN 和350kN 附近,近似恒定,表现出较好的恒阻性能,如图17 所示。单次冲击时锚索滑移变形量均在50mm 左右,表明在受到冲击时锚索近似均匀吸收冲击能量,抗冲击性能良好。
3)施工工艺
NPR恒阻锚索施工工艺如下:
(1)锚索孔施工作业(锚索钻机、风动凿岩机)。
(2)清孔(孔内岩石碎屑)、扩孔(安装恒阻器)。
(3)装药(树脂药卷)。
(4)安装锚索(搅拌树脂药卷后待5min药卷凝固)。
(5)上钢带、网片、恒阻器、托盘、锁具。
(6)锚索张拉(350kN)。
锚索安装工艺流程如图18所示。
图18 锚索安装工艺流程图
NPR锚索施工流程较为复杂,操作人员应严格遵循施工工艺,保质保量完成整个锚索作业循环。
4)施工质量控制
目前针对埋深小于1000m的软岩隧道,选用NPR锚索恒阻值在330kN±20kN 的恒阻器。对于不同型号的NPR 锚索,锚固力须大于恒阻值的20%,预紧力不小于恒阻值。对于HZS35-300-0.5型恒阻锚索,质量控制标准如下:
(1)恒阻器长460mm±10mm,外径79mm,恒阻值为330kN±2kN,预紧力不小于350kN。
(2)恒阻锚索的位置要准确,眼位误差不得超过±100mm,眼向误差不得大于2°。
(3)施工恒阻锚索应尽量使用液压锚索钻机。若使用风动锚索钻机,打眼前先开风再送水后开钻,推力要适当,严禁猛升造成钻杆折断。
(4)风、水管路连接时,先使用U 形销进行连接,再用14号铁丝二次连接进行加固。
(5)施工锚索时眼深达到设计标准时,每根锚索使用3 卷树脂锚固剂锚固,搅拌充分,严禁少用树脂锚固剂或截短钢绞线,锚固长度不少于1.2m。
(6)锚索锚固力不低于450kN,张拉预紧力不低于350kN。
(7)锚索必须沿隧道围岩轮廓线垂直布置,外露长度为锁具外150 ~300mm。
(8)打眼前要对围岩进行喷射混凝土,仔细检查顶帮围岩情况,凿掉活矸、危岩,确认安全后,方可开始工作。
内容源于网络,旨在分享,如有侵权,请联系删除
相关资料推荐:
https://ziliao.co188.com/p63329994.html
知识点:自进式中空锚杆和大变形锚杆施工技术
0人已收藏
0人已打赏
免费5人已点赞
分享
隧道工程
返回版块2.96 万条内容 · 280 人订阅
回帖成功
经验值 +10
全部回复(0 )
只看楼主 我来说两句抢沙发