随着我国经济发展,道路“技术、经济、合理、舒适”要求桥梁的跨越能力更强。在西南及偏远地区,跨越河流、峡谷等复杂地形的桥梁较为常见,高墩成为该类桥梁建设中一种常见的下部结构形式。高墩高度为10m~180m,适应力强,提高桥梁跨越度,且能与周边环境协调,是一种技术可行、经济、可靠、合理的下部结构。桥墩支撑桥梁上部荷载,并将它传给地基基础,是桥梁重要承载结构。高墩结构形式、受力较复杂,一般要进行强度、位移、稳定性等检算。稳定性验算是保证桥墩受力时不会发生纵、横向屈曲失稳,是高墩设计重要依据。

实例:
该桥位于西南地区某高速公路上,为跨越两个山岭的高墩桥,山岭底为一条30m宽的河流,两山山顶标高约为780m,河岸标高约为660m,间距约为300m, 桥梁桥墩设计为高墩, 墩身高52m~59.8m。桥梁标准横断面为24.5m,双向四车道,桥梁配跨为90m+160m+90m,具体情况见图l。

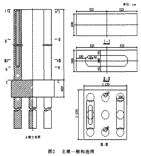
主墩采用空心式钢筋混凝土双肢薄壁墩,尺寸为6.5mx2mxH(长x宽×高),间距为6m,内空心尺寸为4.5mx1mx(H一3), 四周倒角为0.3mx0.3m,承台尺寸为11.5mxl1.5mX4m,具体详见图2。主要材料采用:墩身混凝_-EC40,承台混凝土C30,钢筋R235和HRB335。根据现场实际的地形条件,H计算值取59.8m(最不利情况下)。

高墩设计参数:
材料设计值见表1。薄壁墩主筋采用~b28HRB335,间距为lOom,荷载为
公路一I级。

高墩几何性质:
根据《公路桥涵设计通用规范》进行桥梁构件的承载力极限状态计算。截面荷载组合见表2。符号法则:压为正,拉为负。



高墩偏心受压计算:




轴力验算:

抗压承载力计算:

高墩为小偏压构件.按上述配筋方式及配筋率进行桥墩设计,墩身强度满足要求。
以设计规范为依据,通过上述的简化计算,可以充分得出高墩尺寸、配筋、材料设计合理,从而达到设计“技术先进、安全可靠、耐久适用、经济合理”的要求。随着公路建设快速发展,空心高墩有受力性能好、刚度大、经济等优点,越来越多地应用于工程实践中。
相关资料推荐:
https://ziliao.co188.com/d62842450.html
知识点:60米高墩设计的尺寸及参数、设计计算
0人已收藏
0人已打赏
免费4人已点赞
分享
桥梁工程
返回版块19.44 万条内容 · 657 人订阅
阅读下一篇
什么是桥梁冲击系数?冲击系数如何计算?公路桥梁车辆引起的振动问题一直是工程界一个十分感兴趣的课题。它的研究自1849年WilliS开始,理论成果日益丰富。20世纪50年代BiggS假设车辆为弹簧支承的单质量刚体分析了桥梁车辆振动问题,并得到实验验证。 1969~1971年加拿大在Ontario进行了第二次桥梁车辆振动的实测研究,实测结果最大冲击系数在 0.3~0.85之间,Page和 Leonard(1976)报告了英国交通与道路研究室对 30座公路桥梁的实测结果,冲击系数在0.1~0.75之间,他们还报道,
回帖成功
经验值 +10
全部回复(0 )
只看楼主 我来说两句抢沙发