土木在线论坛 \ 工程造价 \ 土建工程造价 \ 闸阀有什么特点?分为哪几类?

闸阀有什么特点?分为哪几类?

发布于:2022-09-30 10:29:30 来自:工程造价/土建工程造价 [复制转发]

知识点:闸阀

闸阀又称为闸板阀,启闭件为闸板,由阀杆带动闸板做升降运动的阀门称为闸阀。

闸阀的特点
1)闸阀的优点:
流体流动阻力小;启闭所需力矩小;介质流向不受限制;启闭无水击现象;形体结构比较简单,制造工艺性较好。
2)闸阀的缺点:
外形尺寸和安装高度较大,所需的安装空间也较大;在启闭过程中,密封面有相对摩擦,磨损较大,甚至在高温时容易引起擦伤现象;闸阀一般都有两个密封面给加工、研磨和维修增加了一些困难。
闸阀应用范围广泛。通常用于大于或等于公称直径DN50的给水管路。
闸阀的分类
闸阀按连接方式可分螺纹闸阀、法兰闸阀和焊接闸阀,按结构特征可分平行式闸板和楔式闸板,按阀门阀杆结构分明杆(升降杆)闸阀和暗杆(旋转杆)闸阀。
1)明杆平行式双闸板闸阀:
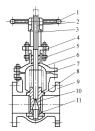
明杆平行式双闸板闸阀如图1所示,它的闸板由两块对称平行放置的两圆盘组成,当闸板下降时,靠置于闸板下部的顶楔使两闸板向外扩张紧压在阀座上,使阀门关严。当闸板上升时,楔块脱离圆盘,待圆盘上升到一定高度时,楔块就被圆盘上的凸块托起,并随闸板一起上升。
该阀门结构简单,密封面的加工、研磨、检修都比楔式闸阀简便,但密封性较差,适用于压力不超过1.0MPa,温度不超过200℃的介质。
图片
图1  明杆平行式双闸板闸阀
1一手轮 2-阀杆螺母 3-阀杆 4一填料压盖 5一填料 6一阀盖 
7一垫片 8一密封圈 9-阀体 10-闸板 11一顶楔
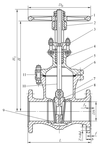
2)暗杆楔式闸板闸阀:
图2所示为暗杆楔式闸板闸阀,该阀门的密封面是倾斜的,并形成一个夹角,介质温度越高,夹角越大。楔式闸板分单闸板、双闸板和弹性闸板,分别如图2a,b、c所示。楔式闸板的加工、研磨、检修较平行式闸板繁琐,但密封性较好。
图片
图2  暗杆楔式闸板闸阀
a)楔式单闸板  b)楔式双闸板  c)楔式弹性闸板
1一手轮 2一指示器 3一压盖 4一填料箱 5一填料 6一阀盖
7-阀杆 8一阀杆螺母 9、12一密封圈10一阀体 11一闸板 13一垫片
3) 弹性闸板闸阀
弹性闸板闸阀如图3所示,它具有结构简单、使用可靠等优点,又能产生微小的弹性变形,增加了关闭的严密性。
图片
图3  弹性闸板闸阀
1一手轮 2—阀杆螺母 3一填料压盖 4一填料 5一阀盖 6一垫片
7—阀体 8—闸板 9一密封圈 10一阀杆 11一连接螺栓
闸阀比较:
明杆闸阀中,阀杆的螺纹与附有手轮的套筒螺母相配合,阀杆的下端有方头,嵌于闸板中,旋转手轮时,阀杆和闸板做上下的升降运动。开启时,阀杆伸出手轮,优点是从阀杆的外伸长度能判断出阀门的开启程度,阀杆不直接与输送介质接触;缺点是阀门开启高度大,安装场所必须有阀杆外伸的足够空间。现场安装时,一定要注意这一点。
暗杆闸阀的阀杆外螺纹与嵌在阀门内的内螺纹相配合,故旋转手轮时,阀杆做旋转运动,使得阀门内的闸板做升降运动,而阀杆不能上下升降。暗杆闸阀安装占据空间小,输送介质与阀杆直接接触,不能通过阀杆来判断阀门的开启程度。不管是明杆闸阀还是暗杆闸阀,闸阀安装均需水平安装。阀杆垂直向上,不应倾斜,严禁阀杆朝下安装。



相关推荐链接:

1、格栅闸阀检查井工艺图

2、普通闸阀标准大样图


全部回复(0 )

只看楼主 我来说两句抢沙发
这个家伙什么也没有留下。。。

土建工程造价

返回版块

21.84 万条内容 · 643 人订阅

猜你喜欢

阅读下一篇

截止阀的低进高出和高进低出

知识点:截止阀 截止阀属于强制密封式阀门,是截断类阀门的一种。按连接方式分为三种:法兰连接、丝扣连接、焊接连接。 我国阀门“三化给”曾规定,截止阀的流向,一律采用自上而下,所以安装时有方向性。 这种类型的截流截止阀阀门非常适合作为切断或调节以及节流用。由于该类阀门的阀杆开启或关闭行程相对较短,而且具有非常可靠的切断功能,又由于阀座通口的变化与阀瓣的行程成正比例关系,非常适合于对流量的调节。

回帖成功

经验值 +10