知识点:分部分项工程
一、编制依据:
1.《中华人民共和国建筑法》;
2.《中华人民共和国安全生产法》;
3.《建设工程安全生产管理条例》;
4.《建设工程质量管理条例》;
5.《危险性较大的分部分项工程安全管理办法》建质【2009】87号文;
6.国家及省市有关质量、安全管理的法律、法规及规程。
二、细则编制的目的:
为了加强对危险性较大的分部分项工程安全管理,明确安全专项施工方案编制内容,规范专家论证程序,确保安全专项施工方案实施,积极防范和遏制建筑施工生产安全事故的发生。
三、本细则实施的范围:
危险性较大的分部分项工程是指建筑工程在施工过程中存在的、可能导致作业人员群死群伤或造成重大不良社会影响的分部分项工程。
针对本工程的特点、周边环境和施工工艺等,其危险性较大的分部分项工程是:
1.基坑支护工程:开挖深度有超过3m(含3m)或开挖深度未超过3m,但地质条件和周边环境复杂的基坑(槽)支护、降水工程;
2.土方开挖工程:开挖深度超过3m(含3m)的基坑(槽)的土方开挖工程;
3.模板工程及支撑体系:搭设高度5m及以上;搭设跨度10m及以上;施工总荷载10kn/m2及以上;集中线荷载15kn/m2及以上;高度大于支撑水平投影宽度且相对独立无联系构件的混凝土模板支撑工程;
4.起重吊装及安装拆卸工程:采用非常规起重设备方法,且单体起吊重量在10kn及以上的起重吊装工程;采用起重机械进行安装的工程;起重机械设备自身的安装、拆卸;
5.脚手架工程:搭设高度24m及以上的落地式钢管脚手架工程;
6.人工挖孔桩工程;
7.预应力工程。
必须经专家论证的危险性较大的分部分项工程是:
1.脚手架及模板工程(施工一、二标段):搭设高度8m及以上;搭设跨度18m及以上;施工总荷载15kn/m2及以上;集中线荷载20;kn/m2及以上
2.人工挖孔桩工程(施工二标段):开挖深度超过16m的人工挖孔桩工程;
3.热力管线迁移或保护(施工二标段):特种作业工程。
四、危险性较大的分部分项工程监理管理制度:
1.监理部严格按照建质【2009】87号文《危险性较大的分部分项工程安全管理办法》实施监理;
2.危险性较大的分部分项工程监理实行总监负责制,总监全权负责危险性较大的分部分项工程的监督管理工作;
3.针对危险性较大的分部分项工程,施工单位必须编制专项方案,企业技术负责人审批后,上报监理单位审核;超过一定规模的危险性较大的分部分项工程,必须按程序由企业相关部门审核、专家进行论证,企业技术负责人审批后、上报监理单位审核,建设单位负责人签字后,方可组织实施;
4.超过一定规模的危险性较大的分部分项工程,需要进行监测监控的,建议委托第三方实施;
5.项目监理部应编制危险性较大的分部分项工程监理实施细则,现场配备专职安全监理工程师;
6.施工单位在专项方案实施前,由编制人员或项目的技术负责人向现场管理人员和作业人员进行安全技术交底,监理实施见证;
7.施工单位应上报应急预案,监理单位进行见证,并督促施工单位对应急演习预案进行完善和改进;
8.监理单位应当对专项方案的实施情况进行现场监理和旁站,对不按专项方案实施的应责令整改;施工单位拒不整改的,应及时向建设单位报告,责令施工单位停工整改;施工单位仍不停工整改的,由建设单位向相关建设主管部门报告;
9.监理单位和施工单位技术负责人对危险性较大的的分部分项工程建立定期巡查制度,对关键工序、关键环节进行巡查,签发整改通知书,直至下发停工令。
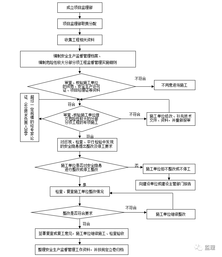
五、监理工作流程:

危险性较大的分部分项工程监督管理
六、监理工作控制要点及目标值
(一)前期阶段
1. 按照“安全第一,预防为主”的安全生产方针,建立健全安全生产责任制;建立健全质量管理和安全生产的组织网络和管理体系,制定完善的工程质量安全管理制度,为质量管理和安全生产提供组织保障;
2. 资料收集和现场踏勘。向建设单位和相关单位收集现场相邻建(构)筑物,道路,地下管线资料和大样图,对业主提供的地下管线资料,向施工单位提出管线保护措施或防护要求,并由施工单位上报管线保护专项方案,经监理审核,业主同意后方可实施,并承担相应费用;收集现场有关雨雪、雷电、狂风的气象资料,为脚手架搭设做好准备;对现场实施实地踏勘拍照或摄像,布设标记,必要时建设单位还应当委托房屋和其它安全鉴定部门出具安全鉴定报告;
3. 督促施工单位遵守有关环境保护和安全生产的法律、法规,由施工单位上报环境保护和安全文明施工的专项方案,采取措施控制和处理施工现场的各种粉尘、废气、废水、固体废弃物以及噪声、振动对环境的污染和危害;
4. 督促施工单位为从事危险作业的职工办理建设工程一切险,并支付保险费用;
5. 督促施工单位建立健全劳动安全生产教育培训制度,加强职工的三级安全教育,未经安全生产教育的人员不得上岗作业,坚持特殊工种持证上岗制度,做好民工教育培训工作;
6. 开工前,设计图纸应由建设单位办理设计文件审查,并在工程质量与安全监督部门办理报监和施工许可相关手续;
7. 图纸会审。对设计图纸认真审核,弄清设计意图,对图纸不明确的地方及时请教设计单位,予以澄清;
8. 专项施工方案的审核。
⑴ 专项施工方案编制内容:
① 工程概况:危险性较大的分部分项工程概况、施工平面布置、施工要求和技术保证条件;
② 编制依据:相关法律、法规、规范性文件、标准、规范及图纸(国标图集)、施工组织设计等;
③ 施工计划:包括施工进度计划、材料与设备计划;
④ 施工工艺技术:技术参数、工艺流程、施工方法、检查验收等;
⑤ 施工安全保证措施:组织保障、技术措施、应急预案、监测监控等;
⑥ 劳动力计划:专职安全生产管理人员、特种作业人员等;
⑦ 计算书及相关图纸。
⑵ 专项方案应当由施工单位技术部门组织本单位施工技术、安全、质量等部门的专业技术人员进行审核。经审核合格的,由施工单位技术负责人签字。实行施工总承包的,专项方案应当由总承包单位技术负责人及相关专业承包单位技术负责人签字;不需专家论证的专项方案,经施工单位审核合格后报监理单位,由项目总监理工程师审核签字。
⑶ 建筑工程实行施工总承包的,专项方案应当由施工总承包单位组织编制。其中,起重机械安装拆卸工程、深基坑工程、附着式升降脚手架等专业工程实行分包的,其专项方案可由专业承包单位组织编制。
9. 超过一定规模的危险性较大的分部分项工程专项方案应当由施工单位组织召开专家论证会;实行施工总承包的,由施工总承包单位组织召开专家论证会;企业负责人审批,上报监理单位审核,建设单位负责人签字后,方可组织实施;实行总承包的,应当由施工总承包单位,相关专业承包单位技术负责人签字。
⑴ 参加专家论证会成员包括:
① 专家组成员(5人以上单数);
② 建设单位项目负责人或技术负责人;
③ 监理单位项目总监理工程师及相关人员;
④ 施工单位分管安全的负责人、技术负责人、项目负责人、项目技术负责人、专项方案编制人员、项目专职安全生产管理人员;
⑤ 勘察、设计单位项目技术负责人及相关人员;
⑥ 本项目参建各方的人员不得以专家身份参加专家论证会。
⑵ 专家论证的主要内容:
① 专项方案内容是否完整、可行;
② 专项方案计算书和验算依据是否符合有关标准规范;
③ 安全施工的基本条件是否满足现场实际情况。
专项方案经论证后,专家组应当提交论证报告,对论证的内容提出明确的意见,并在论证报告上签字。该报告作为专项方案修改完善的指导意见,专项方案经论证后需做重大修改的,施工单位应当按照论证报告修改,并重新组织专家进行论证。
10.针对危险性较大的分部分项工程将严格执行监理旁站制度;
11.对测绘单位移交的桩,认真复测无误并经监理工程师审批后方可使用;
12.根据工程特点,制定工程质量预防措施,消除施工过程中潜在的不合格因素,消除质量通病;
13.专项方案实施前,编制人员或项目技术负责人应当向现场管理人员和作业人员进行质量和安全的技术交底,监理单位进行见证。
(二)施工阶段
1. 施工单位应当严格按照专项方案组织施工,不得擅自修改、调整专项方案,如因设计、结构、外部环境等因素发生变化确需修改的,修改后的专项方案应由施工单位的质量、安全、施工技术部门重新按程序审核,施工单位的技术负责人重新签字,对于超过一定规模的危险性较大工程的专项方案,施工单位应当重新组织专家进行论证、签字;
2. 坚持技术交底制度。对设计方法、技术标准、功能作用、施工参数和注意事项进行说明,使所有人员做到心中有数;
3. 施工单位应当指定专人对专项方案实施情况进行现场监督和按规定进行监测;发现不按照专项方案施工的,应当要求其立即整改;发现有危及人身安全紧急情况的,应当立即组织作业人员撤离危险区域;
4. 对于连续施工工序,交班质检人员就本班施工质量情况以及需要注意事项向接班人员作详细说明,并认真填写交接班记录;
5. 坚持三检制度。技术员、质检员、实验人员必须跟班作业,要强化工序间的检查验收,凡上道工序未经检验合格,不得进行下道工序的施工,工程关键部位必须经监理工程师批准,对于按规定需要验收的危险性较大的分部分项工程,施工单位、监理单位应当组织有关人员进行验收,验收合格的,经施工单位项目技术负责人及项目总监理工程师签字后,方可进入下一道工序;
6. 加强对所有原材料、成品、半成品检验,必须严格按照质量标准进行订货、采购、运输、保管和供应,对所有拟用于工程的材料,必须坚持严格的检验制度,认真把关,一切以试验指标为准,不合格材料不能入场,同时要保证检验方法的正确性和检验工具、检验仪器设备的准确性;
7. 采用先进的检测试验设备,选派责任心强的检测人员,加强对整个施工工程的施工控制,坚持一切经过试验检测,一切以数据说话的原则;
8. 服从业主、设计单位的检查、指导和监督,虚心接受提出的改进意见,积极与建设、设计、监理单位搞好配合工作,严格按评审后的意见执行专项施工方案,监理人员进行跟踪检查;
9. 对于按规定需要验收的危险性较大的分部分项工程,施工单位、监理单位应当组织有关人员进行验收,验收合格的,经施工单位项目技术负责人及项目总监理工程师签字后,方可进入下一道工序;
10.对不按专项方案实施的,监理单位应当责令整改,施工单位拒不整改的,监理单位应当及时向建设单位报告;建设单位接到监理单位报告后,应当立即责令施工单位停工整改;施工单位仍不停工整改的,建设单位应当及时向住房城乡建设主管部门报告;
(三)目标值
确保安全无事故。
相关推荐链接:
0人已收藏
0人已打赏
免费1人已点赞
分享
输变电工程
返回版块11.1 万条内容 · 658 人订阅
阅读下一篇
与工程量清单计价有关的名词,你都知道吗?知识点:标价工程量清单 ? 1.单价合同 :工程量清单计价模式的项目,其综合单价在合同约定的条件内是固定不变的,当超出合同条件时,要按照合同约定的方式进行单价调整;其结算工程量是承包人实际完成且是应予计量的工程量(应予计量是指符合合同约定和法律法规规定的才给与计量)。
回帖成功
经验值 +10
全部回复(0 )
只看楼主 我来说两句抢沙发