知识点:桥架配件名称大全
槽式桥架空间布置示意图

1.水平弯通

2.水平三通

3.水平四通

4.垂直上弯通

5.垂直下弯通

6.上垂直三通

7.下垂直三通

8.上边垂直三通

9.下边垂直三通

10.上角垂直三通

11.下角垂直三通

12.下角垂直四通

13.垂直左上弯

14.垂直右上弯

15.垂直左下弯

16.垂直右下弯

17.异径接头

18.异径接头

19.异径接头

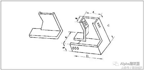
20.异径接头

21.下过梁弯

22.上过梁弯

23.角钢立柱

24.槽钢立柱

25.工字钢立柱

26.丁字钢立柱

27. 异钢立柱

28. 托臂

29. 托臂-横担

30.托臂-马镫

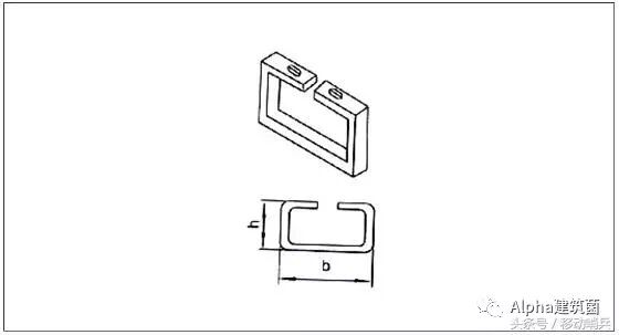
31.吊匡

相关推荐链接:
0人已收藏
0人已打赏
免费2人已点赞
分享
电气工程原创版块
返回版块2.2 万条内容 · 598 人订阅
阅读下一篇
电缆桥架有什么规格型号表?知识点:桥架规格及重量参考 电缆桥架如果为金属桥架在进行桥架安装时,要注意两节之间使用跨接线,以防止桥架积电漏电引发安全事故,如果没有跨接线,也要保证连接片的每端至少有2个固定螺栓,按照电缆桥架标准,每米桥架的电阻应该小于等于5兆欧,两节桥架连接处的电阻应该小于等于50兆欧。电缆桥架室外立柱的间距为6米,室内支吊架的间距为1.5米至3米。防火桥架一般为槽式桥架,也有可能是梯式桥架。 下面北京京运伟业电缆小编给大家介绍一下有哪些
回帖成功
经验值 +10
全部回复(0 )
只看楼主 我来说两句抢沙发