PART-1 前言
支座是桥梁结构的重要组成部分,直接影响桥梁的使用寿命和结构安全。其作用主要有三个方面:
一是将上部构造恒载和活载可靠地传递给墩台, 并同时承受由荷载引起的结构端部水平位移、转角等变形;二是适应由于温度、湿度等环境变化引起的结构胀缩变形;三是阻抗风力、地震波等引起的结构平移, 减轻震动对结构的不利影响
作为连接桥梁上部结构和下部结构的重要部件,它必须满足以下功能:足够的承载力,合适的约束变形,方便的安装、维护和替换
特别对高速铁路桥梁,其支座产品还需考查支座的安全性、耐久性、承载能力、环境适应性等,要求更高。
从收集整理的资料来看,目前桥梁支座的相关研究内容如图1.1所示。文献主要简述支座的分类特点、布置原则、病害支座及支座养护等方面的内容。

图1.1桥梁支座相关研究内容
PART-2
桥梁支座分类特点
随着科学技术的发展,桥梁支座的形式也越来越多,桥梁支座可分别按变形的可能性、所用材料或结构形式等方法进行分类。
2.1 按支座变形
根据支座对变形所起作用的不同,可将桥梁支座分为固定支座和活动支座两种。固定支座起到固定主梁的作用,能够传递结构的水平力和竖向压力,同时确保梁体发生挠曲时在支撑处能够自由转动,如图2.1左端所示。活动支座只能够传递结构的竖向压力,但要满足梁体在支撑处的水平转动和自由转动,如图 2.1右端所示。

图2.1简支梁的静力图示
2.2按制作材料
按支座材料可分为钢支座、高分子材料滑动支座、橡胶支座、混凝土支座等。
钢支座是通过钢与钢的接触面传力的,其变位主要通过钢与钢的滚动来实现。中小跨度钢梁主要使用摇轴支座、弧型支座;承载力强的辊轴支座则主要被混凝土梁和大跨度钢梁等所采用[9][11][12]。

下支座板;2-球面滑板;3-球面不锈钢滑板;4-球冠衬板;5-密封装置;6-平面滑板;7-平面不锈钢滑板;8-上支座板
图2.2球型钢支座结构构造图
高分子材料滑动支座是由高分子材料滑板(聚四氟乙烯板、改性超高分子量聚乙烯板或改性聚四氟乙烯板)与不锈钢板(或镀铬钢板)的平面或曲面滑动来实现支座的变位需要,常见的有球面及柱面支座。
橡胶支座的传力通过橡胶板来实现,支座位移通过高分子材料滑板的平面滑动或橡胶的剪切变形来实现,支座转角通过橡胶的压缩变形实现。通常有板式橡胶支座、四氟滑板橡胶支座和盆式橡胶支座。

图2.3聚四氟滑板橡胶支座

图2.4板式橡胶支座

图2.5铁路桥梁活动盆式橡胶支座构造示意图
2.3 按几何构造
按支座的结构形式通常可分为弧形支座、摇轴支座、辊轴支座、板式橡胶支座、四氟滑板橡胶支座、盆式支座、球面与柱面支座等。
其中,辊轴支座是由上下板和两者之间的辊构成,常用于大跨度梁式桥的活动支座;板式橡胶支座由多层橡胶片与多层薄钢板硫化粘合形成的橡胶支座,竖向刚度强,适用于中小型桥梁;盆式橡胶支座是钢构件与橡胶组合构成的桥梁支座,适用于大跨桥梁;球形钢支座是钢构件做成的球形支座,可以灵活转动,可靠传力。适用于大跨宽桥和曲线桥[3]。
2.4 按减隔震功能
按支座所能实现的功能桥梁支座可分为常规支座和减隔震支座。常规支座一般用于七度及以下地震区,支座本体不具备减、隔震功能,减隔震支座则可以在一定程度上消减地震能量对桥梁的作用。
2.4.1减隔震支座研究背景
我国是世界上地震多发区之一,虽然我国陆地面积占全球陆地面积的 7%,但全球35%的七级以上地震在我国发生[4]。随着高速铁路建设的快速发展及铁路桥梁地震设防烈度的提高,以重力式桥墩为主体的铁路桥梁难以满足抗震设计要求,引入减隔震技术来提高铁路桥梁的抗震性能是一种必然的选择[5]。
目前,我国的《铁路工程抗震设计规范》(GB50111-2006,2009)[10]规定了铁路工程应达到三个抗震性能要求及三阶段设计如下:
(1)性能要求I:地震后不损坏或轻微损坏,能够保持其正常使用功能;结构处于弹性工作阶段;
(2)性能要求Ⅱ:地震后可能损坏,经修补,短期内能恢复其正常使用功能;结构整体处于非弹性工作阶段;
(3)性能要求Ⅲ:地震后可能产生较大破坏,但不出现整体倒塌,经抢修后可限速通车;结构处于弹塑性工作阶段。
三阶段设计:多遇地震条件下桥梁达到抗震性能要求Ⅰ,设计地震条件下路基、挡土墙、隧道、桥台、桥梁上下部结构连接构造达到抗震性能要求Ⅱ,罕遇地震下采用钢筋混凝土桥墩的桥梁达到抗震性能要求Ⅲ。
在桥梁抗震设计中,世界各国普遍采用“小震不坏,中震可修,大震不倒”的三级设防的抗震设计思想。我国现行的《铁路工程抗震设计规范》(GB50111-2006) [10]中对桥梁支座抗震验算的一般规定为:验算支座部件、梁与支座间连接、墩台锚固螺栓、橡胶支座支挡设施时,水平地震力按下列公式计算:
(1)顺桥向固定端的水平地震力:

式中F_hE—固定端的水平地震力(kN);
A_g—地震动峰值加速度值(m/s^2);
m_d—简支梁为一孔梁和桥面的质量(t);
μ—活动支座的摩擦系数;钢辊轴、摇轴支座及盆式橡胶支座μ=0.05;板式弧形支座及板式橡胶支座μ=0.1~ 0.2;
R_a—活动支座反力(kN);
∑μR_a—活动支座摩阻力之和(kN),并应符合规定:

(2)横桥向由活动支座与固定支座共同承受。一个桥墩墩顶处的水平地震力:

式中〖F'〗_hE—一个桥墩墩顶处的水平地震力(kN);
A_g—地震动峰值加速度值(m/s^2);
m_b—桥墩顶处换算质点的质量(t),顺桥向:m_b=m_d;横桥向:m_b=m_1+m_d;
m_1—桥墩顶活荷载反力换算的质量(t)。
2.4.2研究现状
对于减隔震装置,从20世纪70年代起,广大工程研究人员对其力学性能的理论、试验与数值模拟进行了大量研究。以叠层橡胶支座与铅芯橡胶支座为例,Kelly 等[13]提出了叠层橡胶支座的系统理论与设计方法,并对支座进行了拉伸试验研究;Hwang 等[14]基于AASHTO规范,提出了修正的支座等效线性化模型;Constantinou 等[15]通过试验提出了钢-四氟乙烯界面摩擦系数公式,为准确模拟摩擦滑移行为提供了理论基础;Abe 等[16]研究了三种类型的叠层橡胶支座在多轴荷载下的滞回性能;Warn 等[17]研究了橡胶支座侧向变形对其竖向刚度的影响;Han 等[18]研究了隔震支座的稳定性特性并提出了相应的理论模型;Crowder 与 Becker[19]研究了在压剪作用下支座本体出现弯曲,即上下表面不平行对其滞回性能的影响;国内刘文光等[20]、吴彬等[21]对天然橡胶支座、铅芯橡胶支座的基本力学性能、各种相关性及长期性能进行了系统研究;杜修力等[22]对方形多铅芯橡胶支座的力学性能及其影响因素进行了研究;荣强等[23]探讨了滑移隔震支座的静、动摩擦系数的变化趋势及其影响因素;王建强等[24]对铅芯支座剪切性能的压力相关性进行了深入细致的研究;孙新阳等[25]采用数值模拟研究了不同截面形状的支座压缩比刚度公式。在隔震支座数值模拟研究方面,Takayama 等[26]分别对叠层橡胶支座进行了大变形非线性有限元分析,其中橡胶材料模型参数通过双轴拉伸试验获得;Ali 等[27]对铅芯橡胶支座进行了精细有限元数值模拟,通过试验对有限元结果进行了验证,并将铅芯橡胶支座简化力学模型应用于斜拉桥隔震设计计算;Wang 等[28]采用 LS-DYNA 软件实现了对叠层橡胶支座基于试验数据的数值模拟;Ohsaki 等[29]研究了板式支座隔震结构的全尺度精细数值模拟并将模拟结果与振动台试验结果进行了对比。国内江宜城等[30]采用显式有限元方法对(多)铅芯橡胶支座进行了数值模拟与验证;李枝军等[31]对板式橡胶支座进行了精细有限元模拟与试验验证。
目前国内桥梁采用的减震技术,大致集中在以下两类:一类是延长结构周期,同时采用消耗地震能量的隔震装置来提高结构的抗震性能,如铅芯橡胶隔震支座、摆式滑动摩擦支座等;另一类是利用耗能装置来消耗地震能量,达到改善桥梁结构局部关键部位的抗震性能,如粘滞阻尼器。
2.4.3减隔震支座分类
减隔震支座根据结构形式和原理的不同分为:摩擦阻尼型减隔震支座、黏滞阻尼型减隔震支座和摆锤式(钟摆式)减隔震支座。
摩擦阻尼型减隔震支座目前应用范围较为广泛,它的功能原理是通过在地震力的作用下发生支座位移,从而降低支座的自震周期,以达到减小地震影响的效果;黏滞阻尼型减隔震支座是在普通支座的基础上,在两侧增设黏滞阻尼器,当发生地震时产生较大位移阻力,以达到减震的效果;摆锤式减隔震支座的工作原理与摩擦阻尼型减震支座类似,都是通过发生位移来降低自震周期,地震时支座上部球面板沿下部凹球面板利用钟摆原理发生摆动位移,从而降低自震周期,同时,上部球面板被抬高,相当于地震应力功能转换为了势能,使抗震性能进一步提高[6]。

图2.6铅芯橡胶支座[7]

1-第一滑动面;2-第二滑动面
图2.7摩擦摆式隔震支座构造简图

图2.8双曲面球型减隔震支座示意图
2.5 恢复力模型
叶爱君 ,胡世德 ,范立础[8]建立了各种支座的恢复力模型,这些模型可以模拟支座在遭受地震载荷时的力学性能。
(1)板式橡胶支座
板式橡胶支座的恢复力模型取为直线型,即
F(x)=kx
式中:x为上部结构与墩顶的相对位移;k为支座的等效剪切刚度;k=GA/∑t, G为支座的动剪切模量, A为支座的剪切面积,∑t为橡胶片的总厚度。
(2)聚四氟乙烯滑板橡胶支座,活动盆式支座,活动球型支座
他们认为聚四氟乙烯滑板橡胶支座的动力滞回曲线类似于理想弹塑性材料的应力-应变关系,因此采用如图2.9所示的恢复力模型。

图2.9 滑板支座的恢复力模型[8]
图中,F_max为临界摩擦力,x为上部结构与墩顶的相对位移,x_y为临界位移。
根据弹性恢复力最大值与临界滑动摩擦力相等的条件,可求得临界位移值为

式中:f为滑动摩擦系数;N为支座所承担的上部结构恒载;K为橡胶支座的水平剪切刚度。
对于活动盆式支座和活动球型支座,同样可以采用如图2.10所示的恢复力模型。
(3)铅芯橡胶支座和弧形钢板减震橡胶支座
铅芯橡胶支座和弧形钢板减震橡胶支座可采用双线性恢复力模型进行地震反应分析。

图2.10 双线性恢复力模型[8]
图中,K为弹性阶段刚度,x_y为屈服位移,K_p为塑性阶段刚度,x_0为速度改变符号的点,Q_y=Kx_y为屈服剪切力。
2.6按特殊用途
2.6.1可调高支座
当客运专线铁路采用无砟轨道时,对线路平顺度的要求更为严格,除了通过轨道垫板和扣件对桥上无缝线路进行必要的高度调整外,还可考虑适当调整既有支座的高度,以满足客运专线铁路桥梁采用无砟轨道的要求[9]。
国内外已经采用的调高支座方案有垫板调高、螺旋调高、楔块调高和压注橡胶调高4种。

1-上支座板;2-聚四氟乙烯板;3-橡胶密封圈;4-中间衬板;5-钢紧箍圈;6-承压橡胶板;7-下支座板;8-支座锚栓
图2.11 垫钢板调高支座结构图

1-上支座板;2-可调上支座板;3-承压橡胶板;4-钢紧箍圈;5-橡胶密封圈;6-中间钢衬板;7-不锈钢板;8-聚四氟乙烯板;9-沉头螺钉;10-螺母;11-钢套筒;12-预埋螺钉;13-铜垫块;14-顶紧螺栓;15-沉头螺钉;16-聚四氟乙烯垫;17-紧固螺栓;18-钢紧箍圈;19-螺栓;20-下支座板
图2.12 螺旋调高方式支座结构图

1-上座板组件;2-连接锚栓;3-支座顶板;4-平面聚四氟乙烯板;5-钢衬板;6-球面聚四氟乙烯板;7-下支座板;8-锚固螺栓
图2.13 楔块调高球形支座结构图

图2.14 压注橡胶调高支座结构图
2.6.2拉压支座
桥梁支座除了要承受压力外,有些可能还要承受拉力,板式橡胶支座、盆式支座和球型钢支座都可以做成拉压支座的形式。
板式橡胶支座的拉压支座采用在支座中心设置一根拉力螺栓的方式将支座顶板和下滑板连接在一起,支座下滑板与底板及锚固扣板之间设不锈钢板与聚四氟乙烯板,以便支座可以纵向滑动。
盆式橡胶支座的拉压支座通过在支座中心或者支座两侧穿一根预应力钢筋来实现其抗拉性能,对于盆式支座的活动支座,预应力拉杆只能设在支座的两侧。
球型拉压固定支座需上、下支座板的中心处设置承拉螺栓,承拉螺栓与上支座板的连接处则设置球面滑板座以适应支座的转动需要。
2.6.3转体支座
转体支座本质上是施工过程中的一种临时设施,用于转体施工过程的瞬间,在梁体转体到位合拢后,即不再起作用。它主要是由上支座板、下支座板、中间销、球面高分子材料滑板、锚栓组成。

图2.15 转体球铰结构示意图

图2.16 球铰转体运行示意图
2.6.4抗风支座
抗风支座是大跨度斜拉桥和悬索桥上为了减小风荷载作用下桥梁梁体的横向位移,在主梁与塔柱之间的一种竖向设置的支座。其构造特点有:
(1)支座应承受风荷载的压力作用,风荷载的作用方向是随机的,因此主梁两侧的抗风支座不是同时受力;
(2)支座为竖向设置,当支座不受压时,应采取可靠措施防止支座各部件在重力作用下下滑;
(3)当支座不受压时,需要通过钢弹簧、钢制碟形弹簧等使支座各部件处于贴合状态;
(4)支座滑动位移量较大。


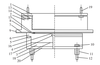
图2.17 润扬长江公路大桥南汊悬索桥抗风支座结构图
PART-3
支座布置原则
支座的布置主要应该考虑的是如何结合桥梁的上部结构类型充分发挥支座的作用,通常在布置支座时需要按照以下基本原则[3]:
(1)支座要求必须能够可靠传递上部结构和下部结构间的支反力;
(2)当桥梁的上部结构是空间结构时,支座既要求适应与梁中轴线方向相同的力,也要适应与桥梁中轴线方向垂直的力;
(3)桥梁支座能够承受因为梁体变形而产生的横向、竖向的转角和位移;
(4)在每联梁体上通常必须布置一个固定支座;
(5)在有较大的支座反力的地方适合设置固定支座;
(6)位于同一桥墩上的几个支座应具有相同或者相近的转动刚度;
(7)在连续梁可能发生支座沉陷的位置,应考虑将支座高度设置成可调节的。简而言之,固定支座的布置要考虑到上部结构传来的纵向和在和竖向荷载的作用,也要考虑桥梁发生挠曲变形时的支座的转动。
PART-4
支座病害
支座是桥梁的关键部分,因此它是否具备足够的安全性,对于桥梁的安全与稳定非常重要。由于诸多因素影响,桥梁支座容易发生病害,对支座稳定性、安全性造成影响,必须予以防治。
中国铁道科学研究院的石秋君[32]于2017年对支座病害进行了现场调研,对常见的板式橡胶支座、摇轴钢支座、盆式橡胶支座及各类新型支座典型病害的成因进行了深入研究,并提出了不同支座在更换和选用方面适宜采取的方案,对支座日常养护维修具有很强的参考价值。2019年李金红[33]对目前出现病害较多的板式橡胶支座进行了深入思考,并着重对支座开裂病害的原因进行了分析,对板式橡胶支座病害的研究和防范提供了重要参考。2018年张巧兰[34]分析了桥梁支座不同类型病害对桥梁使用寿命的影响,并从支座选型、材料选择、制作工艺、施工质量几个方面入手,研究分析增长支座使用寿命的策略,最后同样也强调了支座选择设计、支座制造安装两个方面是最重要的抓手。2018年白殿涛[35]通过分析调查,将铁路常见支座病害归纳为五类:一是支座角病害;二是翻浆冒泥;三是支座锈蚀流锈;四是上下栓弯曲折断;五是支座偏移。所提出的这种病害分类方法相对比较清晰和全面,为指导桥梁支座病害分类进一步规范和统一提供了很好的参照思路。南阳工务段的赵玉松[36]从养修维护单位的角度对支座重点病害分为了钢部件裂纹等 7 类,并针对各类病害重点从后期养护提出了原因分析和应对措施,对病害应对有较高的指导意义。Chun Shu Li, Guang Ming Yuan [37]在建立相关计算模型的基础上,模拟荷载状态下的受力情况,通过有限元应力分析软件对橡胶支座的应力状态进行了分析,中国铁道科学研究院既有铁路桥梁支撑体系病害诊治研究并结合不同组合应力状态和环境因素,对橡胶支座疲劳寿命进行估算,对橡胶支座的设计选型和更换周期提供了参考依据。
支座的损坏方式一般有:剪切变形超限、局部开裂、承载面脱空、钢构件裂纹、断裂和腐蚀变形、橡胶板和滑板挤出、锚固螺栓变形折断等[38]。
造成桥梁支座损坏的原因大致如下:一是产品不合格,原材料选取不合理,材料质量不合格,导致受力状态下发生不均匀受力和变形;二是设计不合理,设计时简单套用规范,未结合实际情况针对性改良,造成支座选型或布置方式等方面不满足实际需求;三是施工方面,施工质量把控不严格,选用的混凝土、灌浆料、锚栓等强度等级不满足设计要求,简化施工工序或降低质量要求,安装精度不够,防腐处理不到位;四是后期养护维修不到位,滑动板、辊轴等关键部位异物清理不及时,导致支座工作环境不清洁,锚固螺栓松动后复紧不及时,防水防尘装置有缺陷或保养不到位使支座被粉尘污染或雨雪侵蚀,加速支座老化等;五是环境因素,由于周边环境、水文地质条件发生变化,导致桥梁基础发生沉降或倾斜,或在地震等自然灾害下,桥梁结构受力发生较大变化,也会直接影响支座的正常使用。
4.1板式橡胶支座常见病害
1)支座脱空
2)支座剪切变形
3)支座橡胶开裂老化

图4.1支座发生脱空病害

图4.2板式支座剪切变形

图4.3板式支座橡胶开裂
4.2盆式橡胶支座常见病害
1)滑板磨损
2)钢构件锈蚀
3)支座缺失
4.3球型支座常见病害
1)钢部件裂损
2)支座位移超限

图4.4支座位移超限
3)灌浆层局部破碎
4)聚四氟乙烯板错位
4.4摇轴支座常见病害
1)锚固件及定位件失效
2)支撑垫石开裂
3)位移或转角超限

图4.5 摇轴支座锚栓折断


图4.7大秦线桥梁摇轴支座病害情况
PART-5
支座养护与维修
支座的维修养护按维修养护范围可分为支座更换和维修保养。对较为严重或劣化趋势较快的病害,为了保证设备状态稳定,要及时对支座进行更换。常用的更换支座方法为顶梁法,国内许多专家都已经对顶梁法进行了深入研究,具体的顶升工艺也在逐步改良,其技术的关键在于顶升速度、顶升高度、顶升过程监控及各个液压顶顶升的同步性。
维修保养包括大修、维修、保养和检查,检查实际上是支座维修保养最基础和最关键的环节,只有通过检查及时发现问题、准确分析病害情况,才能拿出具体的整治方案;日常保养包括钢部件除锈、螺栓涂油、清扫支座等作业项目,虽然作业项目难度小,成本投入低,但如果支座的日常保养及时到位,就会很大程度上避免和减缓重大病害的发展。大修维修项目包括调整支座位移、锚固螺栓灌浆、垫石加固等,新的应对方法在近几年层出不穷,比如最近桥梁工程上有一种垫石加固的方法是采用碳纤维布,它具有良好的耐久性和耐腐蚀性,而且质量很轻,从施工难度和加固效果上较传统加固方法都有较大的优越性[6]。
小结
1、桥梁支座的作用是传递桥梁梁部结构的荷载、适应桥梁结构变形的需要,也是实现桥梁状态评估和性能预测的关键环节。
2、运营过程中同时受到环境荷载和车辆荷载等多种荷载的共同作用,支座性能一旦劣化,将会严重影响到桥梁正常运营。
3、在桥梁支座安装、使用过程中,常常也会因为诸多因素的影响,使其产生病害,对支座、桥梁的稳定性、安全性造成影响。因此,对桥梁支座进行正确的安装与定期的养护是保证其正常工作、延长其使用寿命的重要措施。
4、通过设置改进支座部件使用材料、优化其细部构造等措施,可使支座性能得到进一步提高。
相关资料推荐:
某桥梁支座设计cad通用图
https://ziliao.co188.com/d63128191.html
知识点:桥梁支座知识科普
0人已收藏
0人已打赏
免费3人已点赞
分享
桥梁工程
返回版块19.44 万条内容 · 653 人订阅
回帖成功
经验值 +10
全部回复(0 )
只看楼主 我来说两句抢沙发