知识点:气力输送机
气力输送又被称为气流输送,是利用空气的能量来进行粉粒状物料连续输送的输运技术。在电力、化工、食品处理、钢铁、冶金、机械制造、医药等行业具有广泛的应用。
按照每单位体积的气体载体中所携带的粉体的质量多少可分为:稀相气力输送和浓相气力输送,而浓相气力输送又分为浓相动压气力输送和浓相静压栓流气力输送。
按输送方式可分为:吸式、压送式和混合式。

气力输送粉状物料的系统形式大致分为吸送式、压送式或者两种方式相结合三种。

吸送式气力输送系统
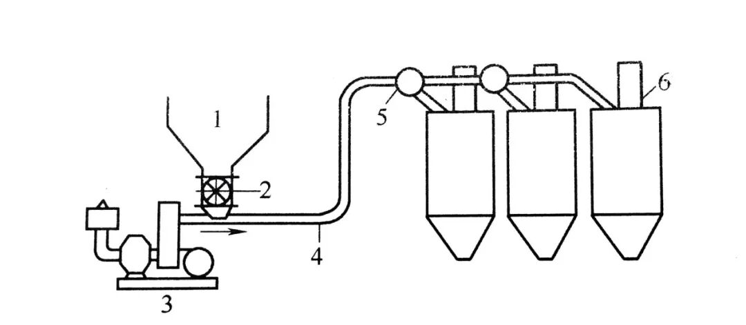
1-消声器;2-引风机;3-料仓;4-除尘器;5-卸料闸阀;6-转向阀;7-加料仓;8-加料阀;9-铁路漏斗车;10-船舱
特点:
系统较简单,无粉尘飞扬,可同时多点取料,工作压力较低(小于0.1MPa),但输送距离较短,气固分离器密封要求严格。

压送式气力输送系统
1-料仓;2-供料器;3鼓风机;4-输送管;5-转向阀;6-除尘器
特点:
工作压力大(0.1~0.7MPa),输送距离长,对分离器的密填充要求稍低,但易混入油水等杂物,系统较复杂。
压送式分为低压输送和高压输送两种,前者工作压力一般小于0.1Mpa,供料设备有空气输送斜槽、气力提升泵及低压喷射泵等;后者工作压力为0.1~0.7Mpa,供料设备有仓式泵、螺旋泵及喷射泵等。

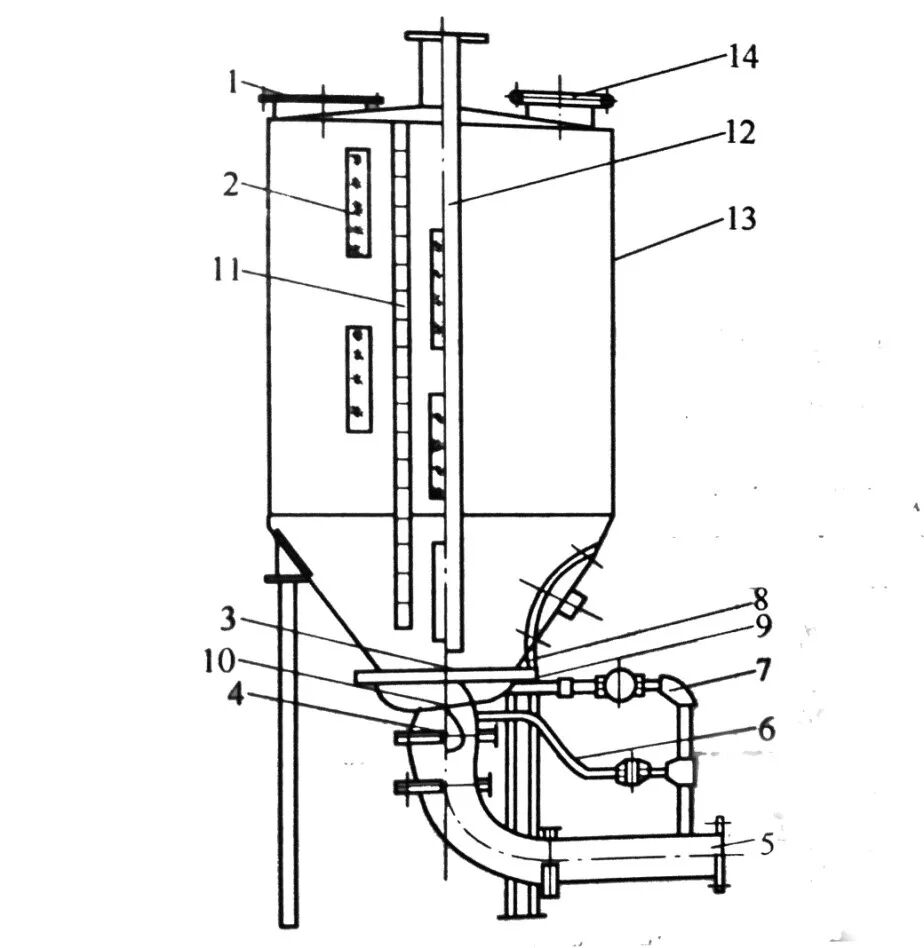
吸送、压送相结合的气力输送系统
1-除尘器;2-气固分离器;3-加料机;4-鼓风机;5-加料斗
气力输送的优缺点对比:
优点:
直接输送散装物料,不需要包装,作业效率高。
设备简单,占地面积小,维修费用低。
可实现自动化遥控,管理费用低。
输送管路布置灵活,使工厂设备配置合理化。
输送过程中能物料不易受潮、污损和混入杂物,同时也可减少扬尘,改善环境卫生。
输送过程中能同时进行对物料的混合、分级、干燥、加热、冷却和分离的过程。
可方便地实现集中、分散、大高度(可达90m)、长距离(可达2000m)、以及适应各种地形的粉体输送。
缺点:
动力消耗大,短距离输送时尤其显著。
需配备压缩空气系统。
不适宜输送粘着性强和粒度大于30mm的物料。
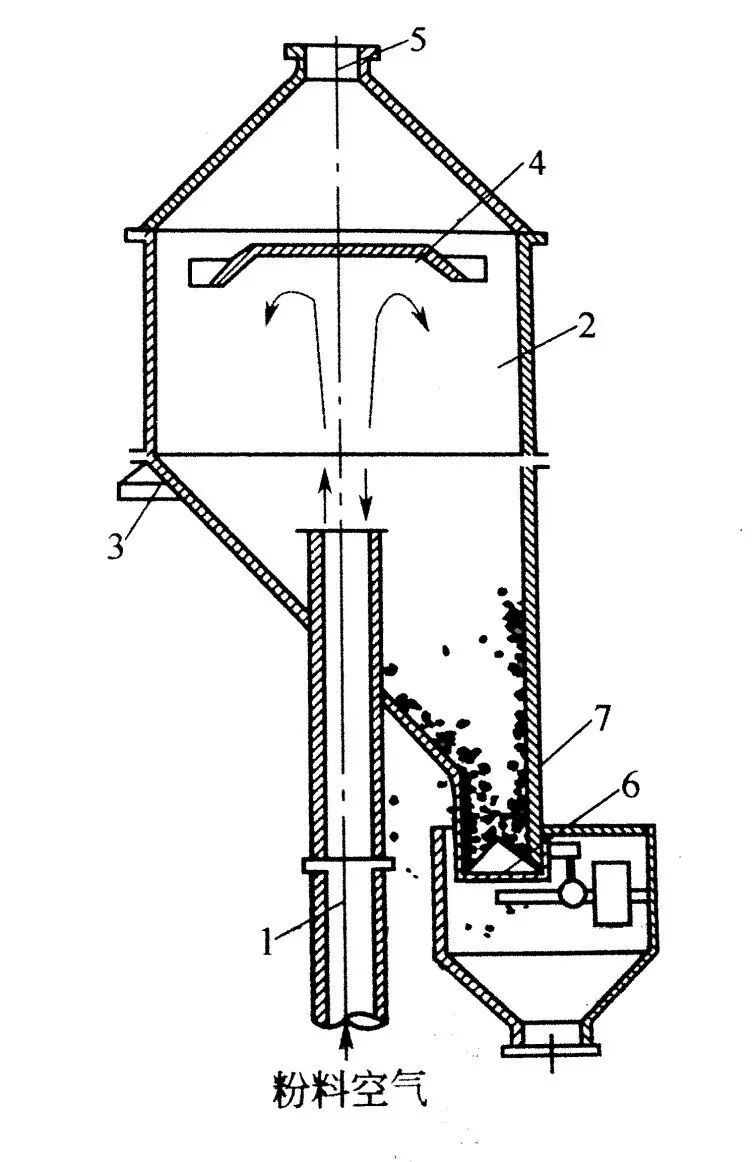
空气输送斜槽
空气输送斜槽属浓相流态化输送设备。它由薄钢板制成的上、下两个槽形壳体组成,两壳体间夹有透气层,整个斜槽按一定角度布置。
物料由加料设备加入上壳体,空气由鼓风机鼓入下壳体透过透气层使物料流态化。充气后的物料沿斜度向前流动达到输送的目的。

空气输送斜槽示意图
斜槽的优点:
设备本身无运动部件,所以磨损的几率也大大的减小,耐用,设备简单,易维护检修;
投资较少,运转中无噪声,动力消耗少,操作安全可靠;易于改变输送方向,适用于多点给料和多点卸料。
缺点:
适用于小颗粒或者粉状非黏结性物料,若物料中的粗颗粒较多时,输送过程中会积累在槽中,累计到一定量时,需要人工排渣之后才能运行;
须保证具有准确的向下倾斜度布置,因而距离较长时落差较大,导致土建困难。
螺旋式气力输送泵

螺旋式气力输送泵示意图
1-轴承;2-衬套;3-主轴;4-防灰盘;5-加料管口;6-密封填料函;7-喂料平闸板;8-螺旋压片;9-料塞厚度调节杆;10-卸料孔口;11-重锤闸板轴;12-重锤闸板;13-检修孔盖;14-重锤杠杆;15-泵出口
优点:设备质量较轻,占据空间较小,也可装成移动式使用。
缺点:输送磨蚀性较强的物料时螺旋叶片磨损较快,动力消耗大(包括压缩空气和螺旋泵本身的动力消耗),由于泵内气体密封困难,不宜作高压长距离输送(一般不超过700m)
仓式气力输送泵

双仓式气力输送泵示意图
1-指示器;2-气阀;3-汽缸;4-进料管;5-进料阀;6,9,15-压缩空气管;7-过滤器;8-节流阀;10,11,13-充气管;12-喷嘴;14,24,25,26-阀门;16-电磁阀;17,18,23,27-空气管道;19-止逆阀;20-阻滞器;21-减压阀;22-压缩空气总管道;Ⅰ、Ⅱ——料仓
优点:无运动部件,运转率高,维护检修工作量较小,与螺旋泵相比电耗较低,输送距离长(可达2000m),输送中还兼有计量作用。
缺点:形体高大,占据空间较大,不利于工艺布置及建筑设计。
气力提升泵
气力提升泵是一种低压吹送的垂直气力提升输送设备。按结构可分为立式和卧式两种,两者的主要区别在于喷嘴的布置方向不同。喷嘴垂直布置的为立式,水平布置的为卧式。
立式气力提升泵

立式气力提升泵的构造
1-进料口;2-观察窗;3-喷嘴;4-止逆阀;5-进风管;6-清洗风管;7-充气管;8-充气板;9-充气室;10-气室;11-料面标尺;12-输料管;13-泵体;14-排气孔

膨胀仓的构造
1-输料管;2-膨胀仓仓体;3-支座;4-反击板;5-排气管;6-闪动阀;7-粉料
卧式气力提升泵
卧式气力提升泵的结构较立式简单,外形高度也较低,输料管出泵后先经一段水平距离然后经过弯管导向垂直提升管。

卧式气力提升泵
优点:结构简单,质量轻,无运动部件,磨损小,操作可靠,维修方便,提升高度大于30m时比斗式提升机经济。
缺点:电耗较大,体形较高大。有时会给工艺布置和建筑设计带来一定困难。
相关推荐链接:
0人已收藏
0人已打赏
免费11人已点赞
分享
电气资料库
返回版块70.18 万条内容 · 793 人订阅
阅读下一篇
常用滚筒输送机的设计与计算知识点:滚筒输送机 滚筒输送机是一种用途广泛的机械化运输设备,常在汽车制造行业的砂型铸造车间和发动机装配车间的造型、制芯、清理、装配等工部中运用。用于联结各工艺主机和辅机设备组成生产线、回箱辊道、存放和输送模板框辊道、组芯辊道、铸件铲磨清理辊道以及发动机装配线等。 以前,国内滚筒输送机常作为非标设备进行设计制造,在机械行业和铸造行业中常用φ73,φ105,φ155三种直径的辊子,但品种规格较少,同时链传动机动辊产品在汽车制造领域的铸造行业中几乎是空白。为了适应国内的普遍需要,国内输送设备行业根据机械工业各大设计院联合设计的产品,开发了GZT型滚筒输送机。
回帖成功
经验值 +10
全部回复(2 )
只看楼主 我来说两句抢地板讲解清楚详细,点赞!辛苦了!
回复 举报
图文讲解,非常清楚详细,
回复 举报