土木在线论坛 \ 道路桥梁 \ 桥梁工程 \ 桥梁施工作业平台结构设计、计算及施工全过程

桥梁施工作业平台结构设计、计算及施工全过程

发布于:2022-09-27 13:36:27 来自:道路桥梁/桥梁工程 [复制转发]
一、桥梁施工固定式作业平台
施工中结合水中桥墩处的地质、水文条件等选择适宜的钻孔平台,对桥梁施工的安全、工期、经济和社会效益具有重要的意义。
对于跨越海湾、江河、湖泊、水库的水上桥梁工程,当基础采用钻孔灌注桩等非打入式结构且无法采用筑岛方式施工时,搭设固定式作业平台是解决基础施工设备作业平台的常用方法。点我:领取工程大礼包。
图片
图片
桥梁施工固定式作业平台
影响作业平台安全的因素:
(1)深水墩处于深水处,施工时受洪水、通航、水流和冲刷的影响;
(2)修建于近海的作业平台还要考虑海潮、波浪、台风、海水腐蚀等因素;
(3)由于施工平台为施工临时结构,所以其状态处在不断变化中:平台上有大量的施工设备和人员,荷载处于不断变化的状态,特别是由于钻机钻头施加于地基的钻力而产生的反力处于不断变化的状态;
(4)有的施工平台由于施工工艺的要求,在施工过程中施工平台的形式会不断变化;
(5)在整个施工过程中,已浇筑的桩的刚度和强度还在不断变化。
桥梁钻孔施工平台的种类主要有 钢管桩支撑平台钢护筒支撑平台钢围堰支撑平台等固定式作业平台和浮式平台四大种类。 点我:领取工程大礼包。
图片
钢管桩支撑贝雷梁平台示意图
图片
钢围堰顶贝雷梁平台示意图图片
船组式钻孔平台结构示意图
图片

浮箱式钻孔平台结构示意图
固定式作业平台是水上桥梁基础施工的作业平台,平台结构通常采用钢管桩基础、型钢分配梁、贝雷桁架或型钢梁及花纹钢板桥面板的结构形式;钢管桩之间、钢管桩与钢护筒之间焊接剪力撑,以使其成为一个整体,增加平台的稳定性。
固定式作业平台受水文条件影响小,且通过栈桥等辅助设施,施工机械方便就位或退出。平台整体稳定性好、承载能力大,平台整体稳定性好、承载能力大。
固定式作业平台受水文条件影响小,且通过栈桥等辅助设施,施工机械方便就位或退出。平台整体稳定性好、承载能力大,平台整体稳定性好、承载能力大。
固定式作业平台适用范围:
对于跨越海湾、江河、湖泊、水库的水上桥梁工程,当基础采用钻孔灌注桩等非打人式结构且无法采用筑岛方式施工时,均可采用固定式作业平台。
二、固定式作业平台结构设计与检算
(一)固定式作业平台结构设计
1、固定式作业平台结构设计总体方案
某平台基础采用Ф1000mm×lOmm钢管桩,钢管桩之间用剪刀撑连接。钢管桩顶部开口布置2156a工字钢做下横梁,横梁上布置贝雷梁(或直接在横梁上铺设I32a工字钢),贝雷梁上再铺设I32a工字钢,最后是平台面板(δ=lOmm的防滑钢板)和栏杆的附属设施的施工。待整个工作平台形成后,在工作平台四周布置拉锚,增强工作平台的整体稳定性,并根据实际需要在平台边搭设转运码头。若无栈桥连接陆地,可铺设一根水下电缆为钻孔桩施工供电。


2、作业平台分部结构设计
(1)基础
(2)承载分配梁
(3)平台平面板  
(4)平台附属设施   
a、转运码头 b、栏杆 c、照明设施
图片
(二)固定式作业平台结构检算
1.作业平台结构检算的依据
桥梁工程总体施工方案;现行桥梁设计、施工技术规范;现行钢结构设计、施工技术规范;工程所在的地域的工程地质、水文等环境资料。
2.荷载组合
(1)上部结构恒载
施工平台上的恒载主要包括防滑钢板、型钢分配梁和贝雷桁架三个部分。
(2)活载
施工平台上的活载主要包括150t履带吊及吊重、人群及小型机具荷载两个部分。
3.作业平台分部结构检算
(1)平台台面板
(2)承载分配梁
1)贝雷梁的计算
  a、贝雷梁计算工况B-1:履带吊吊重工作状况。
  工况B-1-1:履带吊于图式位置是贝雷梁最不利工况,按两跨连续梁计算B点处贝雷梁受力。
图片
工况B-1-2:当荷载位于最大跨径7.5m的跨中时,贝雷梁受力计算模式。
图片
图片
工况B-1-3:当荷载位于最大跨径7.5m的一端时,贝雷梁受力计算模式。
图片
b、贝雷梁计算工况B-2:履带吊行走工况
当履带吊行走时一半的力直接作用在贝雷梁上,贝雷梁受力计算模式。
图片
2)2I56a工字钢横梁计算。
a、工况I56a-1:履带吊吊重工作工况。
因为工字钢布设在桩顶,桩尺寸为:Ф1000mm×1Omm。
图片
b、工况I56a-2:钢护筒导向架荷载作用在工字钢横梁上。
导向架放在横向2I56a工字钢横梁上,按四跨连续梁7.5m +6m+6m+7.5m,最大跨径为7.5m,承受荷载为钢护筒重量800kN,单面承重P=400kN计算。
图片
3)I32a工字钢横梁计算。
工字钢按200mm间距布置,荷载计算分两种工况:
a、工况I32a-1:履带吊吊重在贝雷梁7.6m跨中间,荷载按三跨连续梁计算。
图片
b、工况I32a-2:履带吊空载运行在施工平台。
履带吊履带宽度1.1m,按每边履带下密布5根I32a工字钢计算,I32a顺桥向最大跨径为7.6m。I32a工字钢梁与δ10mm厚防滑钢板组合形心i=175.82mm,惯性矩I=100127310.2mm4.抗弯截面模量W=692500mm3。
图片
(3)基础
桩顶荷载    =1634.72kN,钢管桩选型:φ1000mm×10mm
①方法一:摩擦支承桩轴向承载力。
图片
②方法二:用砂填实的钢管桩。
图片
用砂填实的钢管桩ΦlOOOmm×lOmm的容许承载力:
③方法三:按压弯构件计算。
a.工况一:单根沉桩完成时,桩处于悬臂状态。
此工况时,钢管桩承受水平荷载主要为流水力。
图片
轴心受压构件稳定系数 图片     
则:图片
b.工况二:工作桩桩顶被横向连接后。
此工况时,工作桩按两端铰接计算
图片
(4)平台附属设施码头
由于有防滑钢板所以不考虑摩擦力不足问题。取水平平面计算,没有考虑坡度问题,本次只计算横梁,横梁材料为2I56a。
图片
三、固定式作业平台施工
(一)固定式作业平台施工总体方案
(1)钢管桩打设利用150t浮吊挂击振力为90t的振动锤进行。
(2)按先上游后下游、先岸侧后江侧原则,依次插打工作桩。
(3)钢管桩打设后焊接剪刀撑,增强已插打完成工作桩的整体稳定性。
(4)架设2I56a工字钢做下横梁,贝雷梁做纵梁,铺设I32a工字钢做上横梁,δ=lOmm的防滑钢板做面板。
(5)测量放线,固定导向架,插打钢护筒;4根钢护筒插打完成后将其与工作桩刚性连接。
(6)待整个工作平台形成后,在工作平台四周布置拉锚,增强工作平台的整体稳定性。并在工作平台四周用φ60mm、φ40mm铜管布设栏杆。
(7)最后铺设一根水下电缆供钻孔桩施工用电。
(二)固定式作业平台施工工艺流程
图片
(三)固定式作业平台施工操作要点
1、钢管桩基础施工
点我:领取工程大礼包。
钢管桩制作
钢管桩运输
钢管桩打设(含振动锤选型)
横向联结系制作安装:振动锤选型、确定打桩顺序、施工放样、打桩船就位、沉桩
2、承载分配梁
   分配梁制作→分配梁运输→分配梁安装
3、平台台面板制作、运输、安装
4、平台附属设施制作、运输、安装
5、平台拆除 
(四)主要施工机械设备配备
图片
(五)质量控制标准、保证质量的技术措施
1 、工程质量控制标准
固定式施工作业平台为临时结构,其施工可参照现行的桥梁钢结构和基础工程设计、施工及验收标准。
2、 保证工程质量的技术措施
(1)作业指导书、技术交底(设计要求、技术标准、施工方法、施工注意事项)。
(2)自检、互检、工序交接检查。
施工过程的质量控制:“跟踪检测、复测、抽样检测”。
(3)钢管桩打设的平面位置、倾斜度、最终贯入度控制及整体性连接质量是固定式作业平台的关键。
(4)贝雷梁的组装方法和现场的整体性连接要求严格按设计要求进行。
(六)施工重大危险源及保证施工安全技术措施
1、工程施工的重大危险源
水上作业时,风浪较大,应防止失足掉人河中。过往船只对施工平台的威胁,应当注意船只冲撞平台而引发事故。
2、保证施工安全的技术措施
图片
图片
(七)重大污染源及保护环境的技术措施
1、施工的重大污染源
  施工垃圾和油污对河道的污染是平台施工中的重大污染源。
2、保护环境的技术措施
(1)制订详细的环境保护措施。
(2)油和废油的管理。
图片
四、某桥施工平台结构计算
(一)基本情况
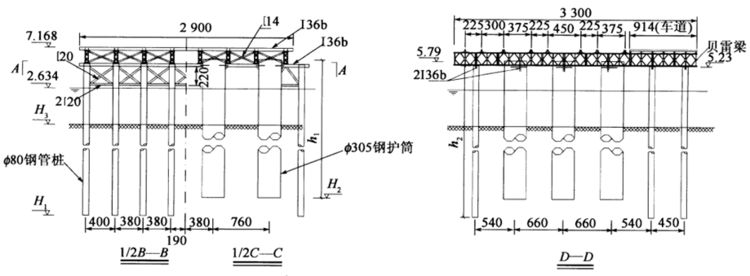
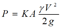
71~73号墩桩基施工平台由钢管桩、贝雷梁和型钢分配梁组成。每个平台共设置18根φ800mm×8mm钢管桩,钢管桩上布设了8组单层双排321贝雷梁,贝雷梁上根据钻机施工需要布设了I36b型钢。每个墩根据设计桩基情况安装11个钢护筒,钢护简直径3050mm、壁厚16mm,部分钢护筒上设置支撑牛腿,作为贝雷梁的支点,以减少钢管桩数量。
图片
图片
图片
施工水位:图片
百年一遇的最大流量:图片
最高水位:图片
最大流速:图片
图片
(二)计算参数取值
图片
图片
(三)计算内容
钢护简:钢护筒埋设深度和打入深度的计算,钢护筒振打过程中强度和稳定性的计算。
321贝雷梁:最不力工况下贝雷梁强度和刚度的计算。
钢管桩:单根钢管桩在水流作用下的稳定计算,钢管桩受轴向力的强度和稳定性计算,承载能力验算。
2I36b工字钢分配梁:最不力工况下的强度计算。
(四)荷载计算
1、恒载
恒载主要为施工平台自重。
钢管桩桩顶以上部分的恒载:图片
钢管桩自重:图片
本恒载未计人钢护筒重量。
2、施工活载
每个施工平台按两台旋转钻机同时作业考虑,
每台钻机自重(含钻头、配重、钻杆)图片
配套空压机、泥浆循环系统等约图片
人群荷载略。
3、总荷载
考虑1.2的附加系数作为水流冲击力和风力的影响,则平台设计总荷载为:
图片
(五)结构计算
1、钢护筒计算
(1)钢护筒埋置深度计算
钢护筒埋设深度L: 图片
图片
图片
图片
当护筒穿过几种不同土质时,图片
图片
将各参数带入公式进行计算,得:
71号墩图片
72号墩图片
73号墩图片
(2)钢护筒打入深度计算
三个墩钢护筒底端最小埋置深度分别为:9.36m,10.37m,8.38m;
三个墩护筒设计打入深度分别为:15.71m,17.91m,15.11m,满足要求;
  有效嵌固深度值为:2(d+1)=2*(3.05+1)=8.1m

钢护筒周边土的摩擦力:

图片
71号墩图片
72号墩图片
73号墩图片

(3)钢护筒强度计算

钢护筒最不利工况是在振打过程中承受1176kN激振力。
钢护筒截面面积: 图片
压应力: 图片
整体受压强度满足要求。
(4)钢护筒受压整体稳定计算
钢护筒长细比:图片
L取钢护筒顶至护筒在土中有效嵌固深度位置的长度。
L为52725px。
图片
(4)钢护筒受压整体稳定计算
整体稳定性:
图片
2、贝雷梁计算
根据施工安排,两台钻机不会同时在同一组贝雷梁上进行作业,贝雷梁按一跨承受钻机荷载,另一跨无钻机情况进行计算,此时贝雷梁承受两部分荷载,第1部分为钢管桩桩顶以上的平台、空压机和循环系统重量,总重195t,按在8组贝雷梁上均布作用考虑,则每组贝雷梁上作用均布线荷载  图片   ;第2部分为钻机自重,每台钻机钻孔施工时重1lOOkN,则在每组贝雷梁上作用两个F=275kN集中力,计算跨径为2x12m连续。 图片 图片
3、钢管桩计算
 (1)单根钢管桩在水流作用下的稳定
单根钢管桩的水阻力: 图片
图片
单根钢管桩最大水阻:图片
单根钢管桩的位移和内力:图片
由于地基为弹性地基,需按m法计算弹性地基的变形情况。
土中基础变形系数:
图片
查规范,m偏安全取3000kN/m4。
利用“桥梁博士”进行计算,
河床面位置最大位移4.5mm,转角0.0022rad;
最大弯矩:178.1kN.m;
最大应力: 图片
满足要求。
(2)钢管桩承载能力验算
钢管桩桩端承载力作为安全储备不计人承载力的计算,则钢管桩承载能力容许值按以下公式计算:
图片
则单桩承载力容许值:
71号墩图片
72号墩图片
73号墩图片
计算钢管桩承受的最大荷载为500kN,单根钢管桩自重为47kN,则单根钢管桩最大轴向荷载为547kN<639kN,满足要求。 
(3)钢管桩强度计算
钢管桩最大轴向力 547kN
钢管桩截面面积:图片
则压应力图片
整体受压强度满足要求。
(4)钢管桩受压整体稳定计算
钢管桩长细比: 图片
L取钢管桩顶至钢管桩在土中有效嵌固深度位置的长度。
L为40325px。
钢护筒长细比: 图片
L取钢护筒顶至护筒在土中有效嵌固深度位置的长度。
L=为52725px。
图片
整体稳定性
图片
4、分配梁计算
在钻孔施工时,贝雷梁上的工字钢分配梁不承受弯矩,钻机荷载直接通过分配梁传递到贝雷梁上,在钻机移动到下一孔的过程中,钻机1/4荷载作用在一组分配梁跨中时,分配梁受力最不利,此时钻机自重约800kN,取分配梁最大跨径L=4.8m,简化为简支结构进行计算,跨中作用一个集中力F=800/4=200kN。点我:领取工程大礼包。
图片
以上计算结果表明,主墩钻孔平台在搭设过程和钻孔施工过程中各结构的强度、刚度和稳定性均满足设计和规范要求,施工过程中应严格按照施工方案作业,各构件材料和加工应符合相关规范和验收标准的要求。

相关资料推荐:

桥梁钻孔灌注桩高空作业施工技术交底

https://ziliao.co188.com/p63328673.html



知识点:桥梁施工作业平台结构设计、计算及施工全过程


全部回复(0 )

只看楼主 我来说两句抢沙发
这个家伙什么也没有留下。。。

桥梁工程

返回版块

19.44 万条内容 · 655 人订阅

猜你喜欢

阅读下一篇

桥梁拼宽设计,浅显易懂又实用!推荐收藏

新老桥梁横向拼宽是指桥梁整体在横向为分期修建,或在原有桥梁横向以拼接加宽的方式新建新的桥梁,最终形成整体桥面的桥梁设计方案。上部构造可采用有缝连接(不连接)、铰接、半刚接、刚接等多种方式;下部构造可采用连接或不连接等形式。有缝连接、铰接属于弱连接,半刚接、刚接属于强连接。新老结构上部构造类型主要有预制T梁、预制空心板、预制箱梁、现浇箱梁等。采用同种类型的结构进行拼宽,为同刚度拼宽;采用不同类型的结构进行拼宽,为异刚度拼宽。设计中尽量采用同刚度拼宽。

回帖成功

经验值 +10