波形钢腹板组合体内外预应力混凝土箱梁是一种以波形钢代替传统混凝土作为箱梁的腹板受力的桥梁结构形式,具有自重轻、跨度大、预应力效率高、造型美观等诸多优点。同时,其独特的结构形式使结构各组成部分受力明确,避免了传统预应力混凝土梁桥容易发生腹板开裂的缺点。
本工法着重强调波形钢腹板的制作、吊装及箱梁结构的整体施工过程。通过在XX市XX东路(沪杭高速-XX路)改造提升工程江干段02标等多个工程的应用,有效减少人员和材料的投入、简化了施工,取得了良好的经济效益和社会效益。
本工法采用的主要创新技术均已申报国家专利,一种高架桥斜腹板定位支模工具获实用新型专利,专利号:ZL2013 2 0060407.4;高架桥斜腹板定位支模工具获外观专利,专利号:ZL2013 3 0075689.0;一种木模板支架钢板电焊方法已申请发明专利,专利号:ZL2013 1 0571374.4。
2.0.1可以大幅度减轻箱梁的自重,用于跨度较大的桥梁结构,对地震激励作用的响应显著降低,抗震性能获得一定的提高。
2.0.2改善结构性能,提高预应力效率。由于波形钢腹板的折叠效应,箱梁纵向刚度很小,基本不抵抗轴向力,从而避免吸收施加在上下翼缘板的纵向预应力,大幅度提高了预应力的施加效率。
2.0.3腹板的钢板厚度可以取的很薄,通过合理的弯折形状以增强腹板的稳定性,不再需要额外设置加劲构件,施工时不需要另行支模,节省了材料。
2.0.4各种材料各尽所能,充分发挥其效率。用于抗弯的混凝土处于顶底板位置,最大限度地增加了回转半径,而波形钢腹板用来抗剪,弯矩纵向几乎均由上、下混凝土翼缘板承担,剪力由波形钢腹板承担,有利于发挥不同材料的最大作用,大大地提高了截面的结构效率。
2.0.5采用无粘结的体外预应力,免除了在混凝土腹板内预埋管道的繁杂工艺,而且体外预应力钢束可以更换,有利于桥梁的维修和加固。
2.0.6避免了腹板开裂问题,耐久性能好。
本工法适用于桥梁工程施工,特别适用于大跨度的桥梁结构。
波形钢腹板组合体内外预应力混凝土箱梁桥是一种新型的钢混凝土组合结构,它是在混凝土组合箱梁的基础上研究发展起来的,以波形钢代替占桥梁结构自重25%~35%的混凝土腹板,能够减轻结构重量的20%~30%左右,实现主梁结构轻型化,进而减轻下部结构受力。同时,波形钢腹板在纵向能自由伸缩,在施加预应力时,波形钢腹板几乎不对预应力产生抵抗,并且对于箱梁本身,波形钢腹板也不约束箱梁顶板和底板由于徐变和收缩所产生的变形,充分利用了混凝土抗压、波形钢腹板抗剪屈服强度高的优点。而且体外预应力索易于更换,在后期桥梁维修方面提供了便利,有效提高了桥梁的使用寿命。
波形钢腹板组合体内外预应力混凝土箱梁施工工艺流程如图5.1:

图5.1 波形钢腹板组合体内外预应力混凝土箱梁施工工艺流程
5.2.1 底板支模
底板下部支撑可采用门式钢管脚手架、碗扣架等形式,支模架的搭设需综合考虑底板标高及施工过程中可能产生的沉降值。高程初步调整后,需进行支架预压堆载,从而精确调整底模高程。

图5.2.1 底板支架预压加载
5.2.2 底板底层钢筋绑扎
支撑架及模板验收通过后,严格按照设计和规范的要求绑扎底板底筋。波形钢腹板的固定支座由型钢废料焊接形成,与底板底筋焊接固定。
5.2.3 波形钢腹板制作、涂装
1、波形钢腹板制造前按相关规范和设计要求,编制制造工艺指导书,确保制作和运输任务的完成。波形钢腹板的基体制作、涂装等工作
2、波形钢腹板涂装
1)涂装前应采用抛丸或喷砂的工艺,对波形钢腹板表面应进行二次除锈,将表面氧化皮和铁锈以及其他杂物清楚干净。处理达标后4h内进行涂装作业,否则应再次进行前处理。
2)涂装前,应制作两块300mm*150mm*6薄板,焊成300mm*300mm*6mm的板,用与钢腹板相同的涂料和喷涂方法,做成喷漆样板,经检查确认平板和焊缝区各项检验指标均合格后,方可进行喷涂作业。涂装后4h内应加以保护,免受雨淋。
3)底层涂装宜配置高附着力的具屏蔽或阴极保护功能的涂装体系,主要有重防腐粉体涂装系列、铝和锌防腐系列、富锌系列等。
4)中层防护宜配置具备屏蔽封孔功能的涂层体系,主要有环氧云铁、环氧厚浆漆等,宜采用高压无气喷涂方式。以重防腐粉体涂装系列作为底层涂装的,不需要单独再实施中层涂装。
5)面层防护宜配置具备耐侯及防化学腐蚀功能的涂层系列,面层防护采用粉体涂装的,宜配置聚酯等面层体系,应采用静电喷涂及热喷涂方式,并加热使涂层固化。底层也采用粉体涂装的,面层可一次性或在底层未固化前涂装。面层涂装采用液态涂料涂装的,应采用高压无气喷涂方式,面层液态涂料涂装宜分成两层,一层在工厂涂装,最后一层安装修复后整体涂装。
6)涂装面完成后,根据不同的成品保护要求,可采用粘贴有粘性的塑料薄膜的罩膜保护法,或临时涂刷一层漆膜的保护方法。
5.2.4 运输
1、波形钢腹板装车时采用卧放,装车宽度即为钢腹板的高度,可从1610mm~4175mm不等。应与交通主管部门做好协调工作,确保道路运输安全。
2、第一块钢腹板采用电焊与运输车的平板固定,防止其滑移造成事故。焊接时增加型钢或码板,应与钢腹板卡牢。第二块及第三块采用钢丝绳或麻绳与第一块绑扎牢固,防止滑移,且上下两层钢腹板之间必须铺设垫木防止其发生摩擦。
3、吊装钢腹板时,吊索与钢板之间应垫以麻袋、木板或防滑垫料,以免磨损或夹伤钢板。
4、运输时,车速控制在(15~20)km/h,严禁猛打方向盘或踩紧急刹车,以免薄钢板及其防锈涂层受损。
5.2.5 波形钢腹板定位、安装
1、安装前需复核桥梁中心线、高程及波形钢腹板的定位轴线。
2、根据波形钢腹板分段制作的相关参数以及现场吊装的作业半径,配置相应规格的汽车吊及钢丝绳。
3、吊点的设置利用波形钢腹板上翼缘开孔板,孔径60mm,间距150mm;两个吊点间距以波形板长度的一半,且不超过6m为宜。


图5.2.5-1 波形钢腹板吊点示意图 图5.2.5-2 波形钢腹板吊装示意图
4 波形钢腹板临时固定及支撑
1)采用人工配合汽车吊吊装钢腹板精确就位,先安装中腹板,然后安装边腹板。原则上确保腹板安装基本平衡,其中中腹板适当提前但不得多于两个节段或12m。
2)安装中腹板时,下翼缘板落位处下设简易支架,支架采用型钢废料制作,与底板钢筋焊接固定。支架顶部定位好腹板的纵横向以及竖向标高,横向设置挡板,之后吊车将波形钢腹板轻放并缓缓靠在支架及挡板上直接就位。为避免中腹板在施工过程中扰动,将下翼缘板与简易支架焊接固定。

图5.2.5-3 中腹板简易支座
3)在横断面上先安装两块中腹板并形成稳固状态后方可安装两侧边腹板。边腹板通过模板上的定位块及挡板直接就位,底钢板厚度20mm,与模板平,因此相邻两块边腹板底部翼缘板无法双面00焊接,采用单向坡口,贴陶瓷片单面焊双面成型技术焊接相连。
4)陶瓷片具有合适的熔点,在电弧热的作用下,成型槽表面发生部分熔化,对焊缝金属起润滑作用,增加液态金属的流动性,使背面焊缝成形良好。而且烘干后吸湿性小,焊缝含氢量低。
5)因为陶瓷片熔点在1000摄氏度左右,已超过模板的燃点,为防止陶瓷熔透后引起模板着火,在陶瓷下垫一块钢板隔离。
6)采用小陶瓷片组合粘贴定位,适用于波形钢腹板曲面结构焊接,可以避免由于钢腹板移动造成的焊缝成形不良。根据电脑模拟事先放样,木工专业人员在钢板精确定位后将模板表面开槽以镶嵌陶瓷片。


图5.2.5-4 陶瓷片下垫的钢板 图5.2.5-5 边腹板定位及陶瓷片
7)在横断面上相邻两块腹板之间均采用间距不大于8m一道的型钢剪刀撑作为支撑,顶部采用直径为16mm的钢筋横向拉结。在每个板件两端1m左右位置设置固定拉杆配合花篮螺杆以作水平间距微调用。边腹板外侧采用3m一道的斜钢管支撑。
8)起步安装时,由于缺少支承点,吊装中腹板前先在两端部支点处设置一道12m长的横向型钢,中腹板吊装完成后,用斜支撑将其与底部型钢临时固定,边腹板通过斜支撑与直径为16mm的钢筋与中腹板固定。待下一步腹板及支撑安装后,拆除临时支撑,重新用型钢将相邻两腹板相连。

图5.2.5-6 临时型钢支撑及钢筋拉结
5.2.6 箱梁底板、横隔墙、横梁钢筋绑扎
1、波形钢腹板安装完成后,开始底板面筋、横隔墙、中横梁的钢筋绑扎。中腹板嵌入底板混凝土面200mm~400mm,下部开2排直径50mm~70mm的圆孔,并贯穿底板面层横向钢筋及附加筋。
2、中腹板遇横梁处断开,与横梁沿高度方向连接采用焊接II型开孔钢板的方式。II型底钢板板厚20mm,开孔板厚15mm~20mm。钢板上设置直径为50mm~70mm的圆孔,并贯穿横向钢筋,每块开孔钢板上均焊接一块宽118mm、厚12mm的钢板。


图5.2.6-1 中腹板与底板及顶板连接 图5.2.6-2 II型开孔钢板
3、边腹板与底板采用外包的连接方式,主要通过焊接横向开孔钢板+焊钉连接。底板横向钢筋及附加筋与边腹板弯锚连接,纵向钢筋穿过边腹板的横向开孔钢板,开孔直径50mm,贯穿钢筋直径20mm,竖向共四排。
4、边腹板下纵向穿孔钢筋绑扎时,因为钢腹板在纵向呈波浪线,孔位在纵向随波形钢板而弯曲而有所偏移。开孔钢板间距约1m,针对Φ20钢筋需每隔小的距离连续弯曲的情况,在征得设计现场确认后,将贯穿钢筋改为2根更易于弯折的Φ16钢筋。同时,在设计要求中,底板近边腹板处的面层附加筋需要作弯钩勾住4排贯穿筋,现场提前做样品试验并由此确认弯钩角度。
5、边腹板与横梁主要通过密集焊钉连接,焊钉尺寸(22×200)mm,边腹板在横梁附近绑扎钢筋贯通横梁。

图5.2.6-3 边腹板与底板钢筋连接
5.2.7 检修人孔预埋、体外索预埋件、体内索套管埋设
1、底板上预埋检修人孔,同一跨上每两块腹板间设置一个,共3个。
2、中隔墙上预埋体外索转向器。
3、中横梁预埋横向体内索、底板预埋纵向体内索,底板上绑扎体内索张拉锚固鞍座钢筋及支模。


图5.2.7-1 检修人孔预埋 图5.2.7-2 转向器及体内索
5.2.8 箱梁底板、横隔墙、横梁混凝土浇筑
1、模板、钢筋、钢腹板安装经监理验收合格后,开始底板混凝土浇筑。
2、混凝土浇筑过程中,不能直接振捣波纹管和出气孔,防止振破波纹管而漏浆,并经常来回拉动穿入波纹管内的钢绞线,直至混凝土终凝。
3、混凝土终凝后采用覆盖洒水养护,养护期不得少于7天。
4、横梁混凝土浇筑采用叠合梁形式,钢筋全部绑扎完以后混凝土浇至梁面筋以下、与腹板开孔钢板平。横梁与腹板交界处沿腹板方向浇筑一段内衬混凝土。

图5.2.8-1 底板、横梁及内衬混凝土
5.2.9 箱梁顶板支架搭设、支模
箱梁底板、中隔墙及横梁混凝土施工完成后,搭设顶板支模架,为控制板面平整度,采用扣件式钢管架支模,钢管顶采用顶托。


、
图5.2.9-1 顶板直接搭设 图5.2.9-2 顶板模板铺设
5.2.10 箱梁顶板钢筋绑扎、体内索套管埋设
1、支模架经监理验收后,进行箱梁顶板钢筋绑扎。
2、钢筋绑扎过程中穿插顶板体内索套管埋设。


图5.2.10-1 顶板钢筋绑扎 图5.2.10-2 顶板体内索套管埋设
5.2.11 箱梁顶板混凝土浇筑
钢筋验收合格后浇筑混凝土,浇筑前做好雨水口的预留和护栏钢筋预埋,浇筑时在顶板1/3跨处留1.2m*1.2m施工洞,以便把拆除的内模运出。

图5.2.11 顶板混凝土浇筑
5.2.12 合拢段后浇带底板、横隔墙、顶板施工
1、顶板混凝土浇筑并养护完成,后浇带之间一段的非通长体内索张拉之后,按设计要求施工合拢段后浇带。底板后浇带在钢筋绑扎完成后预留,顶板后浇带只预留钢筋接头,需绑扎、焊接后浇带钢筋后才能施工后浇带。焊接搭接长度为单面焊10d,搭接接头同一区段内不超过50%。
2、合拢段处的横隔墙与后浇带一起施工,钢筋锚入后浇带内部。
3、波形钢腹板在合拢段处的接头在施工合拢段前用码板点焊固定,封闭后浇带时先焊接两钢板之间的接头,在割掉码板。


图5.2.12-1 底板后浇带留置 图5.2.12-2 顶板后浇带及中隔墙施工
3、后浇带采用高一个等级的微膨胀混凝土浇筑,混凝土浇筑前应对合拢段进行临时锁定,防止合拢段混凝土在施加预应力之前开裂。

图5.2.12-3 后浇带混凝土浇筑
5.2.13 箱室体内索张拉
1、混凝土强度和弹性模量达到设计强度的85%,并且养护时间10天以后,进行体内索张拉,同束钢绞线应由两端对称同步张拉,千斤顶升、降压速度相近。
2、张拉完成后,24小时之内对孔道进行压浆,采用真空辅助压浆工艺,孔道两侧密封,压浆前应用压缩空气清除管道杂质,压浆材料采用不收缩浆体。
3、压浆结束后,立即用高压水对箱梁表面进行冲洗,防止浮浆粘结,影响混凝土质量。
5.2.14 体外索穿索
1、合拢段后浇带结束施工完成后进行体外索穿索。转向器预埋在横隔墙内。
2、体外索采用Φ15.20-19的钢绞线,其平面布置均与箱梁结构中心线平行,长度按钢束所在平曲线、竖曲线以及相关大样确定,以实际施工放样为准。

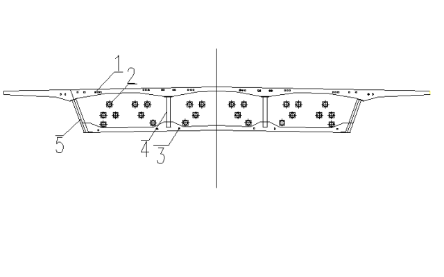
图5.2.14 典型断面示意图
1——顶板体内索;2——体外索转向器;3——底板体内索;4——中腹板;5——边腹板
5.2.15 体外索张拉
1、体内索张拉完成后,此时合拢段后浇带养护期已到,进行体外索张拉,采用配套的15.20-19张拉端锚具。
2、钢绞线的张拉应考虑锚圈口的损失,理论伸长量应按钢绞线的理论弹性模量进行修正,以确保其张拉力和伸长量都满足要求。


图5.2.15-1 体外索张拉 图5.2.15-2 张拉切断后
5.2.16 减震器安装,体外索端头封锚
1、为避免体外索在运营过程中索体与梁体发生共振,体外索均安装减震器,使索体与梁体的竖向自振频率之比不小于5,减震器安装间距不大于9m。
2、减震器的高强螺杆在加工过程采用冷处理加工,安装时严格控制长度,防止对体外索产生拉力或压力的作用。
3、钢绞线切割后预应力筋外露长度30mm~50mm,切除时严禁用电弧切割,经检验合格后安装防护罩。

图5.2.16 体外索减震器布置图
1——体外索;2——减震器;3——横梁;4——横隔板


图5.2.16-1 减震器安装 图5.2.16-2 体外索防护罩
6.1.1 模板支架材料
1、模板采用18mm厚九夹板结合木楞(60×80)mm。
2承重架采用贝雷架,单片尺寸(3000×1500)mm;门式钢管脚手架MF1219Φ48,钢管剪刀撑采用Φ48mm×3.5mm钢管,Φ48扣件若干。
6.1.2 工程材料
1、钢筋采用HRB335,直径12mm、20mm、22mm、25mm等。
2、现浇混凝土强度等级C50,水泥为强度等级不小于42.5级的硅酸盐水泥或普通硅酸盐水泥,砂的细度模数2.6~3.0,坍落度(160±20)mm。
3、波形钢腹板:采用Q345D钢,波长1.6m,波高0.22m,水平面板宽0.43m,厚度采用14mm、16mm、18mm、20mm。
4、焊钉采用圆柱头焊钉,材料为ML15。
5、钢绞线采用1×7-15.20高强度低松弛钢绞线,fpk=1,860MPa,计算弹性模量Es=1.95×105MPa。
6、体外预应力采用无粘结钢绞线,钢丝间注有油脂,整股钢绞线外挤压PE层外套采用高密度聚乙烯(HDPE)管;体内预应力管道均采用预埋塑料波形管。锚具采用配套张拉端锚具,横向索锚具为15.20-19张拉端锚具。
表6.2 主要机具设备
序号 |
机具设备名称 |
规格型号 |
数量 |
1 |
振动棒 |
HZ69-70A |
4 |
2 |
钢筋弯曲机 |
GJ5-8 |
1 |
3 |
钢筋切断机 |
GJ5-40 |
1 |
4 |
钢筋调直机 |
GJ58-4 |
1 |
5 |
电焊机 |
BX-300 |
1 |
6 |
圆盘锯 |
MJ114 |
1 |
7 |
平刨机 |
MB1043 |
1 |
8 |
65吨汽车吊 |
中联QY65H531 |
1 |
9 |
90吨汽车吊 |
中联QY90V633 |
1 |
10 |
汽车泵 |
SY5382THB |
1 |
7.1.1 《混凝土结构工程施工质量验收规范》GB50204-2015
7.1.2 《建筑施工门式钢管脚手架安全技术规范》JGJ128-2010
7.1.3 《钢结构工程施工质量验收规范》GB50205-2001
7.1.4 《公路桥涵施工技术规范》JTG/TF50-2011
7.1.5 《公路工程质量检验评定标准》JTGF80/1-2017
7.1.6 《城市桥梁工程施工与质量验收规范》CJJ2-2008
7.2.1支模架搭设之前波形钢腹板的设计标高(包含起拱值)加上安装过程中各种因素的沉降值,先计算出支架上对应波形钢腹板支点处的模板标高控制值,用于其安装时标高和起拱度的控制。
7.2.2支模架搭设时高程控制从支架体系底座开始,根据要求对底座高程的相对高差进行观测,使用高差法将支架体系底座抄平。架设仪器时尽量保持等距观测,少设站、多闭合。尽量减少观测误差。
7.2.3波形钢腹板安装时需按工序对支架体系进行沉降观测,在支架体系离地面1m高位置设置沉降观测点,每24小时测量一次并记录,与之前记录对比检查是否符合设计及规范要求。
7.3.1波形钢腹板厚度的负偏差不得大于0.4mm,钢板弯折处的圆弧弯曲半径为15倍钢板厚度。
7.3.2波形钢腹板刚度小,在制作运输过程中应注意边角的保护,在钢板表面涂装未完全干透时不得进行搬运,在运输过程中应对防腐涂料采取保护措施。波形钢腹板在运输、储存时可多层叠放,层数不超过5层,每层钢板支撑在与其外形相同的木或混凝土存放垫上。
7.3.3在保证焊缝质量的前提下,波形钢腹板在制造过程中应尽量采用焊缝收缩变形小的焊接方法及措施,所有焊缝的屈服强度、抗拉强度、低温冲韧性等不应低于母材规定值。
7.3.4 波形钢腹板的安装应满足下表规定
表7.3.4 波形钢腹板安装质量要求(mm)
项次 |
检查项目 |
允许偏差 |
|
1 |
跨度L |
-20~+50 |
|
2 |
高程 |
±10 |
|
3 |
腹板中心距 |
±20 |
|
4 |
横断面对角线差 |
±30 |
|
5 |
起拱度 |
+10;-5 |
|
6 |
扭曲 |
每1米不大于1,且每段不大于10 |
|
7 |
连接 |
焊缝尺寸 |
符合设计要求 |
焊缝探伤 |
|||
7.4.1箱梁混凝土总体分两次浇筑,第一次浇筑底板及中隔墙、中横梁,第二次浇筑顶板。混凝土浇筑前,对支架、模板、钢筋、波纹管及其他预埋件进行认真检查,浇筑过程中还需不断进行观测复核。
7.4.2浇筑时横截面方向采用两侧对称浇筑,纵向从梁跨中向墩顶方向对称浇筑,以防止在浇筑过程中墩顶位置出现裂缝,全部浇筑在混凝土初凝前完成。
7.4.3第一次浇筑完成后,接缝和施工缝位置严格按照施工缝的处理质量要求进行认真处理,确保其施工质量。
7.4.4顶板浇筑完成后梁面要进行二次收光,使梁面平整,最后进行压毛处理。
7.5.1预应力钢束应严格按照图纸提供的张拉顺序和张拉控制应力进行,预应力钢束在同一截面上的断丝率不得大于1%,在任何情况下每束钢绞线的断丝率不得大于1丝。
7.5.2施加预应力采用张拉吨位与引伸量双控,钢束实际伸长量应扣除非弹性变形的影响,钢束引伸量与理论值误差不应大于±6%,每端钢束回缩量控制在6mm以内。
7.5.3预应力张拉时混凝土强度和弹性模量不应低于设计强度的90%,且混凝土养护时间不得小于5天。箱梁每侧腹板应对称张拉。同束钢绞线应由两端对称同步张拉,千斤顶升降压速度相近。
8.0.1波形钢腹板预应力混凝土箱梁施工应符合《建筑施工门式钢管脚手架安全技术规范》JGJ128-2010、《建筑施工安全检查标准》JGJ59-2011、《施工现场临时用电安全技术规程》JGJ46-2005、《建筑施工高处作业安全技术规程》JGJ80-91等规范的有关规定。
8.0.2施工前对各班组及工操作工人作好安全技术交底,使安全工作达到标准化、规范化。
8.0.3加强对施工人员的安全意识教育,按照作业要求正确穿戴个人防护用品,进入施工现场必须戴安全帽,严禁赤脚或穿高跟鞋、拖鞋进入现场,坚持使用“三宝”、搞好“四口”和“五临边”的防护;坚持施工前班组对施工部位的安全检查,提高全员的安全防护意识。
8.0.4从事高空作业的人员要定期体检,严禁使用患有高血压、心脏病、深度近视等一切不适合高处作业的人员。
8.0.5操作层上施工荷载应符合设计要求,不得超载;不得在脚手架上集中堆放模板、钢筋等物件。严禁在脚手架上拉缆风绳或固定、架设混凝土泵、泵管及起重机械等。
8.0.6起重吊装前认真检查起重机具、工具是否合格、牢靠,确保安全施工。
8.0.7坚决执行“十不吊准则”,吊装时构件绑扎牢固,吊运速度不应过快,起吊物不宜在空中长时间停留。
8.0.8所有临时用电必须由电工接至作业面,其他人员禁止乱接电线。机电人员应持证上岗,并按规定使用好个人防护用品。
8.0.9电焊机安装时应做好防雨措施,外壳必须设有可靠的保护接零,安放在通风良好、干燥、无腐蚀介质、远离高温高湿和多粉尘的地方;箱梁内部焊接应配备轴流风机,并派专人看护。
9.0.1施工中应该做好环境保护措施,应根据工程的实际情况识别评价所属工作范围内的环境因素,并建立《重要环境因素清单》,将新出现的环境因素以《环境因素调查表》的形式反馈给项目负责人。
9.0.2施工期间应建立《环境因素台账》并将新出现的环境因素及时填写在《环境因素台账》上,施工中做好相应的控制措施。
9.0.3对施工垃圾包括短钢筋、废钢筋、废旧模板及养护覆盖后的薄膜、草袋、绒布等,应按规定收集存放,防止造成环境污染。
9.0.4振捣混凝土、波形钢腹板吊装、焊接、气割、支模架拆除等施工过程中产生的噪音应予以控制,禁止夜间噪音过大影响居民。
9.0.5 现场施工和生活废水经化粪池、隔油池处理后接入雨水系统,雨水经三级沉淀池沉淀后接入市政排水系统。
10.1.1本工法形成了一整套应用于波形钢腹板预应力混凝土箱梁桥工程的施工方法,具有施工方便周期快、结构稳定性强、预应力钢材使用效率高、外观好、便于后期维修等优点,对类似工程具有重要的指导意义。
10.1.2使用波形钢腹板代替混凝土腹板,一方面能够减少混凝土、砂石用量,进而减少对环境的破坏,符合国家大的产业政策;另一方面,桥梁钢结构应用的提升,有利于加强钢铁的内需,进而促进国家钢铁产业的发展,平缓钢铁产业产能过剩的局面,支持国家大的产业结构方向的调整,具有广泛的社会效益。
10.2.1波形钢腹板纵向刚度较低,对上、下混凝土板的徐变、干燥收缩不起约束作用,避免了预应力向钢腹板转移,提高了预应力效率,从而可以减少预应力钢材的用量。
10.2.2XX市XX东路(沪杭高速-XX路)改造提升工程江干段02标的两个路段工程应用本工法,共使用钢板约为750t。相比普通PC箱梁桥,混凝土用量减少了25%,模板周转损耗以及支设、拆除人工费用也大幅度降低。
10.2.3传统钢筋混凝土腹板需要支模、拆模等工序,流程繁琐,波形钢腹板吊装便捷,施工时间可节省一半。
11.0.1XX市XX东路(沪杭高速-XX路)改造提升工程江干段02标跨九盛路段,双向六车道,标准宽度25m,设置三跨一联的波形钢腹板预应力混凝土箱梁,跨径为(45+75+45)m,箱梁上部结构设置曲率1500m的半径,钢腹板厚度采用14mm、16mm、18mm、20mm。
11.0.2XX市XX东路(沪杭高速-XX路)改造提升工程江干段02标跨杭海路段,双向六车道,标准宽度25m,设置三跨一联的波形钢腹板预应力混凝土箱梁,跨径为(45+75+45)m,箱梁上部结构波形钢腹板波长1.60m,波高0.22m,水平面板宽0.43m,水平折叠角度为30.7度,钢腹板厚度采用14mm、16mm、18mm、20m
相关资料推荐:
https://ziliao.co188.com/d62756759.html
知识点:波形钢腹板组合体内外预应力混凝土箱梁施工工法
0人已收藏
0人已打赏
免费3人已点赞
分享
桥梁工程
返回版块19.44 万条内容 · 655 人订阅
阅读下一篇
预应力型钢混凝土组合桥梁一 引言 型钢混凝土(Steel reinforcedconcrete,简称SRC)结构是指在型钢周围布置钢筋,并浇筑混凝土的结构,是钢与混凝土组合结构的重要结构形式之一,可分为实腹式和空腹式两种。它承载力高、刚性大并具有良好的延性和耗能性能,因此具有良好的抗震性能,而且自重轻、梁高小、跨度大、构件整体性好,比纯钢结构的用钢量少、稳定性均更好,同时外包的混凝土使结构有了更好的耐火性和耐久性。
回帖成功
经验值 +10
全部回复(0 )
只看楼主 我来说两句抢沙发