初沉池之斜管沉淀池设计
斜管与斜板沉淀池的结构也包括进水与配水区、沉淀区、出水区、污泥区四个部分。目前在实际工程中应用较多的是异向流斜板(斜管)沉淀池,其结构示意见图

斜板(管)沉淀池是根据“浅层沉淀”理论,在沉淀池沉淀区放置与水平面成一定倾角(通常为60°)的斜板或斜管组件,以提高沉淀效率的一种高效沉淀池。斜板(管)沉淀池由进水穿孔花墙、斜板(管)装置、出水渠、沉淀区和污泥区组成。按水流与污泥的相对运动方向,斜板(管)沉淀池可分为异向流、同向流和侧向流3种。异向流斜板(管)沉淀池水流自下向上,水中的悬浮颗粒是自上向下;同向流斜板(管)沉淀池水流和水中的悬浮颗粒都是自上而下;侧向流斜板(管)沉淀池水流沿水平方向流动,水中的悬浮颗粒是自上而下。由于沉淀区设由斜板或者斜管组件,因此排泥只能依靠静水压力排出。


斜板(管)沉淀池利用了层流原理,提高了沉淀池的处理能力、缩短了颗粒沉降距离、从而缩短了沉淀时间、提高了处理效率。
斜板(管)沉淀池常用于废水处理厂的扩容改建,或在用地受限的污水处理厂中使用。斜板(管)沉淀池不宜作为二沉池,因为活性污泥黏度较大,容易黏附再斜板(管)上,影响沉淀效果甚至堵塞斜板(管)。另外,在二沉池中可能会有厌氧消化产生气泡,影响沉淀分离效果。
为了充分利用沉淀池的有限容积,斜板(管)设计成密集型几何图形,多采用正方形、长方形、六边形和波形等,材质有聚氯乙烯、聚丙烯、玻璃钢三种。实际应用中采用聚丙烯斜管较多。


(1)升流式异向流斜板(管)沉淀池的设计表面负荷,一般可比普通沉淀池的设计表面负荷提高一倍左右。对于二次沉淀池,应以固体负荷(一般在平均水力负荷及平均混合液浓度时)不大于190kg/( m ?d )核算。
(2)斜板垂直净距一般采用80~100mm,斜管孔径一般采用50~80mm。
(3)斜板(管)斜长一般采用1.0~1.2m;斜板(管)区底部缓冲层高度一般采用0.5~1.0m;斜板(管)上部水深一般采用0.5~1m。
(4)斜板(管)倾角一般采用60°。
(5)进水方式一般采用穿孔墙整流布水,出水方式一般采用多槽出水,在池面上增设几条平行的出水堰和集水槽,以改善出水水质,加大出水量。
(6)在池壁与斜板的间隙处应装设阻流板,以防止水流短路。斜板上缘宜向池子进水端倾斜安装。
(7)斜板(管)沉淀池一般采用重力排泥。每日排泥次数至少1~2次,或连续排泥。
(8)池内停留时间:初沉池≤30min,二沉池≤60min。
(9)斜板(管)应设置冲洗措施
(10)斜管有效负荷按照2~4 m?/(m?.h),上升流速υ0在2~4mm/s



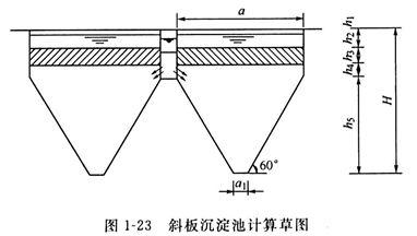
某城市污水处理厂设计最大设计流量Qmax=797m?/h,设计人口16万人,初沉池采用升流式异向流斜板沉淀池,求斜板沉淀池各部分尺寸。

(1)每座沉淀池表面积F, m?
F= Qmax/0.91n q′
式中:Qmax-最大设计流量,m?/h
n-池数,个,取 n=4
q′-表面负荷m?/(m?.h),取q′= 4m?/(m?.h)
F=797/0.91*4*4
=54.74 m?
(2)池子平面尺寸a,m

(3)池内停留时间t,min
设斜长1m,斜板倾角60°,斜管高度
h3=1*sin60°=0.866m
设斜管上部水深h2上部为0.7m,池内停留时间
t=(h2+h3)*60/ q′
=(0.7+0.866)*60/4
=23.5min
(4)污泥部分所需容积,V,m?
V=SNT/1000
式中:S-每人每日污泥量,L/(人.d),一般采用0.3~0.8,取S=0.6 L/(人.d)
N-设计人口数,人
T-两次清除污泥间隔时间,d,取T=2d
则V=SNT/1000n
=0.6*160000*2/1000*4
=48 m?
(5)污泥斗容积V1,m?
V1= h5(a?+aa1+ a1?)/3
式中: h5-污泥斗高度
a1-污泥斗下部边长m,取0.8m
a-方形池边长,m
设污泥斗下部边长a1=0.8m,泥斗高度h5,m
h5=(a/2 – a1/2)tanα
=(7.4/2 – 0.8/2)tan60°
=5.72m
V1= h5(a?+aa1+ a1?)/3
=5.72*(7.4?+7.4*0.8+0.8?)/3
=116.92 m?>48 m?
(6)池子总高度
H= h1+ h2+ h3+ h4+ h5
取池子保护高度h1=0.3m,下缓冲层高h4=0.8m
则:H=0.3+0.7+0.866+0.8+5.72
=8.386m
相关资料推荐:
https://ziliao.co188.com/d63157354.html
知识点:初沉池之斜管沉淀池设计与计算
0人已收藏
0人已打赏
免费6人已点赞
分享
中水处理回用
返回版块9852 条内容 · 214 人订阅
阅读下一篇
初沉池之辐流式设计与计算初沉池之辐流式沉淀池设计 一般规定 辐流式沉淀池多为圆形,小型池子有时也可采用正方形,辐流式沉淀池是活性污泥法处理污水工艺过程中的理想沉淀设施,常用于初沉池或者二沉池。
回帖成功
经验值 +10
全部回复(1 )
只看楼主 我来说两句 抢板凳看一下。学习下这方面的内容
回复 举报