在结构中施加与工作或服务荷载所造成的相反性质的内部应力,被称为预应力混凝土。预应力(Prestressing)已经在各种结构中使用了很多年。预应力混凝土是由Eugene Frevssinet在1928年首次发明的,用来克服混凝土的低抗拉性能。
2 先张法
先张法(Pre-tensioning)是先张拉钢筋,后浇筑构件混凝土的方法, 如下图所示. a) 预应力钢筋就位,准备张拉; b) 张拉并锚固,浇筑构件混凝土; c)松锚,预应力钢筋回缩,制成预应力混凝土构件. 放张(将临时锚固松开,缓慢放松张拉力),让预应力钢筋的回缩,通过预应力钢筋与混凝土间的粘结作用,传递给混凝土,使混凝土获得预压应力。在台座上张拉预应力筋后浇筑混凝土并通过粘结力传递而建立预加应力的混凝土构件就是先张法预应力混凝土构件。

3 后张法
后张法(Post-tensioning)是先浇筑构件混凝土,待混凝土结硬后,再张拉预应力钢筋并锚固的方法, 如下图所示。a)浇筑构件混凝土,预留孔道,穿入预应力钢筋; b)千斤顶支于混凝土构件上,张拉预应力钢筋; c)用锚具将预应力钢筋锚固后进行孔道压浆. 在混凝土结硬后通过张拉预应力筋并锚固而建立预加应力的构件称为后张法预应力混凝土构件。施工工艺不同,建立预应力的方法也不同,后张法是靠工作锚具来传递和保持预加应力的;先张法则是靠粘结力来传递并保持预加应力的。

后张法工艺流程示意图
4 锚具
4.1 对锚具的要求
(1) 临时夹具: 在制作先张法或后张法预应力混凝土构件时,为保持预应力筋拉力的临时性锚固装置。
(2) 锚具: 在后张法预应力混凝土构件中,为保持预应力的拉力并将其传递到混凝土上所用的永久性锚固装置。
在设计、制造或选择锚具时应满足下列要求:受力安全可靠;预应力损失要小;构造简单、紧凑,制作方便,用钢量少;张拉锚固方便迅速,设备简单。
4.2 锚具的分类
锚具的形式繁多,按其传力锚固的受力原理,可分为: (1) 依靠摩阻力锚固的锚具。(2) 依靠承压锚固的锚具。(3) 依靠粘结力锚固的锚具。对于不同形式的锚具,往往需要配套使用专门的张拉设备。因此,在设计施工中,锚具与张拉设备的选择,应同时考虑。
4.3 目前桥梁结构中几种常用的锚具
(1) 锥形锚
锥形锚(又称为弗式锚),主要用于钢丝束的锚固。它由锚圈和锚塞(又称锥销)两部分组成。a) 锥形锚具工作示意图; b) 锥形锚具剖面图

锥形锚具
(2) 镦头锚
镦头锚主要用于锚固钢丝束,也可锚固直径在14mm以下的预应力粗钢筋。钢丝的根数和锚具的尺寸依设计张拉力的大小选定。

镦头锚锚具工作示意图
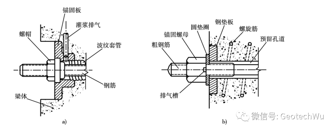
(3) 钢筋螺纹锚具
当采用高强粗钢筋(精轧螺纹钢筋)作为预应力钢筋时,可采用螺纹锚具固定。a)轧丝锚具; b) 迪维达格锚具

钢筋螺纹锚具
(4) 夹片锚具
夹片锚具体系主要作为锚固钢绞线之用。
①钢绞线夹片锚

② 扁型夹片锚具
扁型夹片锚具是为适应扁薄截面构件(如桥面板等)预应力钢筋锚固的需要而研制的,简称扁锚。
(5) 固定端锚具
采用一端张拉时,其固定端锚具,除可采用与张拉端相同的夹片锚具外,还可采用挤压锚具和压花锚具。

压花锚具
(6) 连接器
钢绞线束N1锚固后,用来再连接钢绞线束N2 的,称为锚头连接器, 图a); 当两段未张拉的钢绞线束N1 、N2需直接接长时,则可采用接长连接器, 图b)。

连接器构造
a)锚头连接器 b)接长连接器
5 预加应力的其他设备
5.1 制孔器
(1) 抽拔橡胶管。在钢丝网胶管内事先穿入钢筋(称芯棒),再将胶管(连同芯棒一起)放入模板内,待浇筑混凝土达到一定强度后,抽去芯棒,再拔出胶管,则预留孔道形成。
(2) 螺旋金属波纹管(简称波纹管)。在浇筑混凝土之前,将波纹管按预应力钢筋设计位置,绑扎于与箍筋焊连的钢筋托架上,再浇筑混凝土,结硬后即可形成穿束的孔道。由聚丙烯或高密度聚乙烯制成的塑料波纹管制孔器。
5.2 孔道压浆用水泥浆及压浆机
在后张法预应力混凝土构件中,预应力钢筋张拉锚固后宜采用专用压浆料或专用压浆剂配制的水泥浆进行孔道压浆,以免钢筋锈蚀并使预应力钢筋与梁体混凝土结合为一整体。普通压力压浆方法,采用压浆泵将水泥浆在一定的压力下压入孔道中。真空压浆方法,采取对孔道进行抽真空处理后再注入水泥浆,是把真空吸浆技术与压浆方法相结合的方法,故又称真空辅助压浆法。
(1) 水泥浆
为保证后张预应力孔道压浆的质量和耐久性,所用水泥浆的性能应具有以下特征:
①具有高流动性;
②不泌水,不离析,无沉降;
③适宜的凝结时间;
④在塑性阶段具有良好地补偿收缩能力,且硬化后产生微膨胀;
⑤具有足够的强度。
压浆用水泥浆的水胶比以0.26~0.28为宜;拌合后24h自由泌水率都为0。可在水泥浆中掺入适量膨胀剂,使水泥浆在硬化过程中膨胀,但其自由膨胀率应小于3%。所用的水泥应采用性能稳定、强度等级不低于42.5级的低碱普通硅酸盐水泥。拌和用的水不应含有对预应力筋或水泥有害成分,每升水不得含350mg以上的氯化物离子或任何一种有机物,宜采用符合国家卫生标准的清洁饮用水。水泥浆制备应采用高速搅拌机,不得采用普通的砂浆搅拌机。行业标准《公路桥涵施工技术规范》(JTG/T F50)规定采用转速应不低于1000r/min的搅拌机,搅拌叶的形状应与转速相匹配,其叶片的线速度不宜低于10m/s,最高线速度宜限值在20m/s以内,且应能满足在规定的时间内搅拌均匀的要求。
(2) 压浆机
是孔道灌浆的主要设备,它主要由水泥浆、储浆桶和压送浆液的压浆泵以及供水系统组成。压浆机应采用活塞式可连续作业的压浆泵,其压力表的最小分度值应不大于0.1MPa,最大量程应使实际工作压力在其25%~75%的量程范围内。压浆泵需要的压力,以能将水泥浆压入并充满孔道孔隙为原则,一般在出浆口应先后排出空气、水、稀浆及浓浆。用于临时储存水泥浆的储料罐亦应具有搅拌功能,且应设置网络尺寸应不大于3mm的过滤网。真空辅助压浆工艺中采用的真空泵应能达到0.10MPa的负压力。
内容源于网络,如有侵权,请联系删除
相关资料推荐:
知识点:预加应力的方法与设备
0人已收藏
0人已打赏
免费3人已点赞
分享
混凝土结构
返回版块140.17 万条内容 · 2216 人订阅
阅读下一篇
预应力混凝土受弯构件受力及工作阶段1 引言 在先前的文章中, 讨论了预应力混凝土的一些基本概念, 如下面的链接所示. 这个笔记follow着课程进度[5/3/2021至5/9/2021 Week 9], 简要描述了预应力混凝土受弯构件受力及工作阶段, 内容仅为教学使用. 预应力混凝土受弯构件从预加应力到承受外荷载直至最后破坏,可分为三个主要受力阶段:(1)施工阶段; (2)使用阶段; (3)破坏阶段。下面分别加以介绍.
回帖成功
经验值 +10
全部回复(0 )
只看楼主 我来说两句抢沙发