土木在线论坛 \ 建筑结构 \ 结构资料库 \ 基于能量平衡的含减震外挂墙板钢筋混凝土框架结构的设计方法研究

基于能量平衡的含减震外挂墙板钢筋混凝土框架结构的设计方法研究

发布于:2022-09-16 14:17:16 来自:建筑结构/结构资料库 [复制转发]

摘 要: 含减震外挂墙板钢筋混凝土框架结构在墙板与主体结构间引入 U 形钢板消能器,可有效利用两者间的相对水平变形耗散地震能量,从而提高结构的抗震性能。该新型结构通过合理的性能化设计,可以使得作为预期损伤部位的 U 型钢板消能器和框架梁、柱端塑性铰在设防烈度地震和罕遇地震下先后屈服耗散地震能量,使主体结构在设防烈度地震下保持弹性,罕遇地震下保持低损伤,从而具有良好的韧性。在已有研究的基础上,提出了适用于该种结构的基于能量平衡的实用抗震设计方法。采用该方法,设计了一栋 8 层含减震外挂墙板钢筋混凝土框架结构,并对其进行设防烈度地震和罕遇地震下的弹塑性时程分析。结果表明: 所设计结构能够实现不同水准地震作用下的预期性能目标,该设计方法具有合理性和可行性。


关键词:减震外挂墙板; 钢筋混凝土框架结构; U 形钢板消能器; 能量平衡; 抗震设计方法; 韧性; 性能目标


00

前言

随着我国建筑工业化的迅速发展,预制混凝土夹心保温外墙板作为一种高性能外围护构件得到越来越广泛的应用[1-2]。目前我国的单层整间预制夹芯保温外墙板与主体结构间常用的连接方式为顶部通过预制墙板中预埋的钢筋与上层梁板整体现浇, 底部与下层梁板采用侧向限位角钢连接[3-4],如图 1 所示。采用这种连接方式时,地震作用下外挂墙板产生滑动变形来适应主体结构的变形,这一变形可通过在螺栓连接件上设置调节变位长孔来实现。课题组从有效利用这种相对变形来提升结构的抗震性能出发,提出在外挂墙板底部采用 U 形钢板消能器[5](USD) 代替角钢连接件( 图 2) 。当外挂墙板与主体结构发生相对滑移时,利用 USD 进行耗能,从而达到减小地震响应和结构损伤的目的。本研究将由 USD 与外挂墙板组成的减震系统称为“减震外挂墙板”(EDCP) 。


图片

图 1 现浇连接示意 

Fig.1 A schematic diagram of the cast-in-situ connection


图片

图 2 USD 连接示意 

Fig.2 A schematic diagram of the proposed connection


含EDCP 的钢筋混凝土框架结构体系( EDCP-混凝土框架结构体系) 可以看作减震结构与框架结构组合形成的双重受力体系。地震作用下,框架结构承担竖向的重力荷载和一部分的水平地震作用, 减震结构承担剩余的水平地震作用。由于主要的预 期耗能部位与结构承重体系分离,通过合理的性能化设计,可以使得减震结构作为第一道抗震防线,在设防烈度地震、罕遇地震下,通过屈服耗能减小主体结构地震响应,保证框架结构在设防烈度地震下保持弹性,在罕遇地震下损伤较低,从而降低结构修复所需的费用和时间,提高结构的韧性。 

传统的基于力的设计方法主要依靠弹性分析方法,无法得到结构强震下的弹塑性反应,也不能描述地震输入能量对结构的影响,因此不能确保结构形成预期的屈服机制。基于能量平衡的塑性设计方法能有效解决这一问题。Leelataviwat 通过控制结构的目标位移和屈服机制将能量平衡的概念应用于抗震设计,提出可用于设计的能量平衡方程[6]。Lee 等对 Leelataviwat 提出的能量平衡方程进行修正[7]。同时,Goel 等基于大量非线性动力时程分析结果提出新的抗震设计侧向力分布模式,将基于能量平衡的塑性设计方法逐渐完善并运用于多种抗震结构[8]。Yang 等提出了一种适用于含有耗能装置的韧性结构的等效能量设计方法( EEDP) [9],该方法的特点是与结构荷载-变形关系相关的主要设计参数可以通过等效单自由度体系( SDOF) 近似得到,无需进行弹塑性静、动力分析,同时可以实现结构在不同水准地震作用下的性能目标,不需要对构件尺寸进行反复迭代,因此是一种实用、高效的设计方法。本文基于 Yang 等提出的方法,对相关计算参数和计算过程进行了适当修正,以适用于 GB 50011— 2010《建筑抗震设计规范》[10]设计反应谱以及本文提出的 EDCP-RC 框架结构。采用这一方法对一个典型工程实例进行了设计,并利用有限元分析软件 Perform 3D 对其进行非线性动力时程分析,明确此结构在地震作用下的耗能和损伤机制,验证设计方法的可靠性。


01

EDCP-RC 框架结构性能化设计体系

ASCE/SEI 41《现有建筑的震后修复》[11]提出了抗震体系的三性能目标: 立即可用、迅速恢复、防止倒塌。其中,“立即可用”性能目标下结构应没有发生任何塑性行为,无需任何修复即可投入使用; “迅速恢复”性能目标下,结构的预期耗能构件应进入塑性状态发挥耗能能力,主体结构继续保持弹性, 震后只需对屈服的构件进行更换,不影响主体结构的使用; “防止倒塌”性能目标下,结构的所有耗能构件应充分发挥塑性耗能能力,以防止主体结构损坏严重甚至倒塌。 

图 3 为 EDCP-RC 框架结构体系以及组成这一结构体系的减震结构和框架结构的等效 SDOF 体系荷载-位移关系曲线,即能力曲线。其中,减震结构和框架结构的能力曲线可以用双折线近似表示,总结构体系的能力曲线则呈三折线的形式。图中,Sd 和 Sa 是等效 SDOF 体系的谱位移和谱加速度,Δy 和 Δ为减震结构和框架结构的屈服位移角( 即屈服时谱位移与 SDOF 体系高度 H 的比值) ,FPR FSE为减震结构和框架结构屈服时的基底剪力,Fy 和 Fp 为总结构体系的屈服基底剪力和最大基底剪力。


图片

图 3 EDCP-RC 框架结构的荷载-位移曲线 

Fig.3 Load-displacement curves of EDCP-RC frame structure


根据三折线的能力曲线,可以构建 EDCP-RC 结构在不同水准地震作用下的性能目标: 第一阶段,在多遇地震下,USD 与框架结构均保持弹性状态,对应的性能目标为“立即可用”。第二阶段,设防烈度地震下,USD 开始屈服并耗散地震能量,框架继续保持弹性状态。USD 为非承重构件,发生屈服后容易更换,主体结构可以快速投入使用,因此对应的性能目标为“迅速恢复”。第三阶段,罕遇地震下,主体结构也进入塑性,但在罕遇地震下不发生严重破坏,对应的性能目标为“防止倒塌”。EDCP-RC 框架结构的耗能机制和性能目标如图 4 所示。


图片

图 4 EDCP-RC 框架结构耗能机制和性能目标 

Fig.4 Energy-dissipative mechanisms and performance objectives of EDCP-RC frame structure


02

等效能量塑性设计法

2.1 基本原理及设计步骤

地震对结构的作用是一个能量传递、转化与消耗的过程,能量平衡的设计理念已历经多年的研究和发展,文献[12-13]将地震作用输入结构的能量 EI 分为三部分,即结构的动能 Ek、阻尼耗能 Eξ 以及应变能 E:

图片

当结构进入塑性阶段,应变能 Ea 由弹性应变能 Es 和滞回耗能 Eh 两部分组成,因此式(1) 又可以表示为:

图片

图 5 为 EEDP 方法能量平衡的概念。EEDP 方法将等效线性单自由度( ELSDOF) 体系中储存的应变能 Ea 与等效非线性单自由度( ENLSDOF) 体系吸收耗散的弹性应变能 E和滞回耗能 E关联起来, 从而得到结构的设计基底剪力。

图片

图 5 EEDP 方法能量平衡概念 

Fig.5 The EEDP energy equilibrium concept


根据 EEDP 方法,EDCP-RC 框架结构可按照以下步骤进行设计: 

1) 根据 GB 50011—2010 确定多遇地震、防设烈度地震和罕遇地震下的地震动强度。 

2) 进行结构布置,确定结构构件的截面尺寸, 并通过弹性推覆分析得到框架结构等效 SDOF 的弹性刚度 Kf。根据需求假设框架结构与减震结构刚度比,得到 EDCP-RC 结构体系的等效 SDOF 弹性刚度 K1。根据刚度为 K的弹性结构能力谱与多遇地震下需求谱的交点确定 Δy 和 Fy( 图 6) 。


图片

图 6 多遇地震性能目标 

Fig.6 Performance objectives under frequent earthquakes


3) 计算 Δy 对应的多自由度体系( MDOF) 的顶点 位移 Un,由弹性推覆分析可得对应于 Un 的结构薄弱层层间位移,取该层层间位移为 USD 的屈服位移。已知 USD 的屈服位移和弹性刚度,确定其型号。 

4) 根据图 7a 所示能量等效关系确定等效 SDOF 结构在设防地震下的位移角 Δp 和相应的基底剪力 Fp。图中,ΔEE1为地震动强度从多遇地震到设防烈度地震时ELSDOF 体系增加的弹性应变能,ΔEN1为 ENLSDOF 体系增加的总应变能,两者之间的关系可表达为:

图片

式中: γ为能量修正系数,具体取值和计算过程见 2. 2 节。

求得能量数值后,根据图形中的几何关系,由式 ( 4) 可得结构基底剪力 Fp,进而通过联立式(4) 、 (5) 得到 Δp

图片

5) 类似地,根据图 7b 所示能量等效关系确定等效 SDOF 结构在罕遇地震下的顶点位移角 Δu。图中,ΔEE2为地震动强度从设防地震到罕遇地震时 ELSDOF 体系增加的弹性应变能,ΔEN2为 ENLSDOF 体系增加的总应变能。两者之间的关系同样可利用能量修正系数 γb 表达:

图片

根据图中的几何关系,由下式可计算得到 Δu :

图片

图片

a—设防烈度地震; b—罕遇地震。 


图 7 能量关系示意 

Fig.7 Schematic diagrams of energy relation


6) 得到多遇地震和设防烈度地震下总结构体系的基底剪力 Fy 和 F后,根据图 3 所示几何关系, 可以得到减震结构和框架结构的设计剪力 FPR 和 FSE。其中,延性系数 μp =Δy,λ =Fp /Fy。减震结构和框架结构的设计剪力:

图片

7) 将减震结构和框架结构的设计剪力采用 Chao 等提出的方法沿结构高度进行分布[14],得到两结构各层的水平地震作用标准值 FPR,i和 FSE,i。 

8) 根据 FPR,i可以求得每层消能器承担的剪力, 进而得出每层所需消能器的个数。根据 FSE,i 采用基于力的方法进行框架结构配筋设计。

 9) 根据 Δ进行梁柱端箍筋设计,校核结构罕遇地震下的变形能力。

EDCP-RC 框架结构设计流程总结如图 8 所示。


图片

图 8 EDCP-RC 框架结构设计流程 

Fig.8 The design procedure of EDCP-RC frame structure


2.2 能量修正系数

如前所述,ELSDOF 体系中储存的应变能与 ENLSDOF 体系增加的总应变能之间的关系是等效能量塑性设计的关键。Goel 等基于 UBC[15]反应谱给出了适用于理想弹塑性 SDOF 的能量修正系数 γ[7]。Yang 等为了同时满足具有三折线能力谱曲线结构在两个不同水准地震作用下的性能要求[16],基于 ASCE 7[17]中的反应谱,给出了两个不同的修正系数 γa 和 γb。本文采用类似方法,基于 GB 50011—2010 反应谱,给出了适用于 EDCP-RC框架结构的能量修正系数 γa 和 γb。 

采用 SAP 2000 软件,建立不同周期( T = 0.3~3.0 s) 、不同屈服后刚度 K2 和初始弹性刚度 K1 比 ( K2 /K1 = 0.1~0.9) 的 ENLSDOF 模型,对其进行弹 塑性时程分析,得到设防烈度地震下的最大顶点位移。进而建立不同弹性周期和 K2 /K1 值,并包含水平段的三折线骨架曲线 ENLSDOF 模型,通过弹塑性时程分析得到罕遇地震下的最大顶点位移。此后,根据图 7 中的能量计算方法以及式(3) 、式(6) 中的能量关系,得到两个修正系数。分别采用 Takeda 模型和 Kinematic 模型模拟钢筋混凝土结构和钢结构的滞回特性[18]

采用的地震波从太平洋地震工程研究中心[19]的强震数据库中选择。按结构弹性周期分为Ⅰ~ Ⅳ 4 组( 即 0.3 ~ 0.5 s,0.6 ~ 1.0 s,1.1 ~ 2.0 s,2.1 ~ 3.0 s) ,每组内选择 20 条地震波,控制各地震动反应谱在各周期段内与 GB 50011—2010 反应谱在统计意义上相符,单条谱值误差不超过 35%,均值误差不超过 20%[10]。地震波反应谱与 GB 50011— 2010 反应谱对比如图 9 所示。


图片

a—第Ⅰ组; b—第Ⅱ组; c—第Ⅲ组; d—第Ⅳ组。 

     GB 50011—2010 谱;       平均值。

 

图 9 地震动反应谱与 GB 50011—2010 反应谱对比 

Fig.9 Comparisons of record spectra and target spectra defined in the code of GB 50011-2010


计算得到能量修正系数 γa、γb 的取值与延性系数 μp 的关系如图 10 所示。由图 10 可知: γa、γb 随着 μp 的增大而减小,且钢筋混凝土结构和钢结构两种不同滞回性能结构的两个系数与 μp 之间的关系较接近。因此,为方便计算,将两种结构的计算结果同时进行线性回归,得到两系数的表达式如下:

图片

图片
图片

图 10 能量修正系数的取值 

Fig.10 Values of the modification factor for energy


03

设计案例与设计方法验证

3.1 设计案例

采用上述方法,对一栋典型的 8 层 EDCP-RC 框架结构进行设计。结构抗震设防烈度为 8 度,设计地震分组为第一组,设计基本地震加速度为0.2g, 场地类别为Ⅱ类。结构平立面尺寸如图 11 所示。

图片

a—平面; b—立面。 


图 11 框架示意 m 

Fig.11 Schematic diagrams of the structure


首层层高为 4.2 m,第 2 层层高为 3.9 m,其他各层层高为 3.6 m。底层柱截面尺寸为650 mm×650 mm,其他各层框架柱截面尺寸为 600 mm×600 mm。结构中框架梁截面尺寸均为 300 mm×650 mm,次梁截面尺寸为 250 mm×500 mm,楼板厚 110 mm。底层至 7 层楼面均布恒载取 5 kN/m2、活载取 2 kN/m2。顶层屋面均布恒载取 6 kN/m2,活载取 0.5 kN/m2。梁柱混凝土强度等级均取 C35,钢筋牌号为 HRB400。

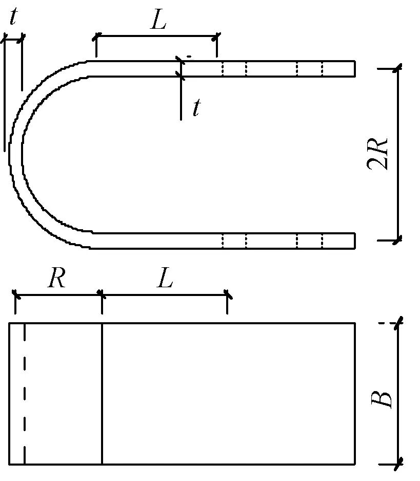
采用上一节中给出的设计步骤进行结构设计。设计过程中的相关参数见表 1,其中 W 为结构重力荷载代表值。U 形钢板消能器的尺寸示意如图 12 所示。USD 采用 Q235 钢材,经设计得到其宽度 B 取 150 mm,平台段有效长度 L 取 150 mm,钢板厚度 t 取 18 mm,圆弧段中心线半径 R 取 83 mm。每层 USD 的个数见表 2。框架梁、柱的纵筋配筋结果见表 3。

表 1 结构设计参数 

Table 1 Structural design parameters

图片


图片

图 12 U 形钢板消能器 

Fig.12 U-shaped steel plate dampers


表 2 消能器布置 

Table 2 Distribution of USDs

图片


表 3 梁柱构件纵筋信息 

Table 3 Vertical reinforcement details of beams and columns

图片

将结构侧推至 Δu 对应的 MDOF 结构顶点位移, 得到此时框架各层的最大层间位移角和梁柱的塑性铰转角,见表 4。由表 4 可知,结构的最大层间位移角满足 GB 50011—2010 规定不大于 1/50 的限值要求。钱稼茹等在综合大量试验数据的基础上得到 RC 框架梁、框架柱塑性铰转角 θu 与配箍特征值 λsv 之间的关系[20-21]:

图片

式中: L 为反弯点到构件端部的长度; h 为计算方向构件截面高度; ξu 为极限状态时的相对受压区高度; n 为轴压比。 

根据式(12) 可计算各框架梁、柱端塑性铰区为满足罕遇地震下变形能力要求的配箍特征值。由于该框架的设计性能目标较高,框架梁、柱在罕遇地震作用下塑性铰转角均较小,计算得到的配箍要求也较低,因此按照 GB 50011—2010 中规定的梁柱塑性铰区最小箍筋直径和最大间距配箍即可。


表 4 罕遇地震下层间位移角及梁柱端塑性铰转角 

Table 4 Interstory drift ratios and plastic hinge rotation between beams and columns under rare earthquake loads rad

图片


3.2 设计方法验证 

利用 Perform 3D 建立上述工程实例的有限元分析模型,并对其进行弹塑性时程分析,通过评估其在地震作用下的响应和损伤情况,验证预期性能目标的实现情况及设计方法的可靠性。 

3.2.1 有限元分析模型 

有限元模型中,采用纤维模型模拟框架梁、柱弯曲破坏的特征。钢筋采用双折线本构模型,屈服后刚度取 0.01 倍的初始刚度[22]。约束和非约束区混凝土采用 Kent -Park 模型[23]计算本构参数。USD 采用弹簧单元模拟,利用双折线本构模拟其水平滞回受力特征,采用 Baird 等提出的 USD 初始刚度和屈服强度的计算式定义骨架曲线特征参数[24],USD 屈服后刚度取 0.03 倍初始刚度[25]。建立模型后, 根据 GB 50011—2010 的要求,选取 7 条地震动( 包括 5 条天然波和 2 条人工波) ,对结构进行多遇地震、设防烈度地震和罕遇地震三水准 X 向水平地震动下弹塑性时程分析。其中,天然波从第 2.2 节中 的 20 条波中选取。 

3.2.2 等效 SDOF 顶点位移角 

根据时程分析得到结构在多遇地震、设防烈度地震和罕遇地震下的顶点位移,计算得到等效 SDOF 结构的顶点位移角,见图 13。图中,虚线为 7 条地震动分析结果的平均值,实线为设计阶段根据 式(3) 、式(6) 所示能量关系和式(10) 、式(11) 给出能量修正系数计算得到的目标位移值。可见,多遇地震和设防烈度地震下位移角的计算值与目标值较接近,误差分别为 8.9%和 9.2%,7 条地震动在罕遇地震下的顶点位移角计算值离散性较大,这与图 10b 中 γb 系数取值离散性较大相符合。罕遇地震 下 7 条地震动平均值与目标值差别与多遇地震、设防烈度地震比略大,但也仅为 13.4%。可见,本文给出的两个能量修正系数具有较好的准确性。


图片

■多遇地震; ●设防烈度地震; ▲罕遇地震; ---平均值;     目标值。 


图 13 顶点位移角 

Fig.13 Story drift ratios on the top


3.2.3 消能器性能分析 

图 14 为 7 条多遇地震动下最大层间位移分布。图中,实线为各地震动分析结果平均值。根据设计得到 USD 的几何参数,利用 Baird 等提出的理论算式[24]计算得到其屈服位移为 4.28 mm( 图 14 中虚线所示) 。由于结构层间位移近似等于消能器的水平变形,因此可知多遇地震下消能器没有达到屈服, 可以满足在多遇地震下保持弹性的性能目标。


图片

图 14 多遇地震下最大层间位移分布 

Fig.14 Distribution of the maximum interstory drifts under frequent earthquake actions


图 15、16 为各层 USD 在典型设防烈度地震动和罕遇地震动下的荷载-位移滞回曲线。可知: 在设防烈度地震下,除7~8 层的消能器还基本保持弹性外,其他各层消能器均进入了塑性阶段。罕遇地震下,各层消能器均进入塑性阶段,充分发挥了滞回耗能能力。USD 在设防烈度地震和罕遇地震下性能也与预期的设计目标相一致。

图片

图 15 设防烈度地震下 USD 的滞回曲线 

Fig.15 Hysteresis curves of USDs under fortification earthquake actions



图片

图 16 罕遇地震下 USD 的滞回曲线 

Fig.16 Hysteresis curves of USDs under rare earthquake actions


3.2.4 框架梁柱性能分析 

图 17a、17b 为设防裂度地震和罕遇地震下各层框架梁钢筋应变 ε 和屈服应变 ε比值分布情况,图中实线为各地震动分析结果平均值。图 17c 为设防裂度地震和罕遇地震下底层柱底钢筋应变 ε 与屈服应变 εy 的比值。可知,设防裂度地震下框架梁和底层柱底钢筋均没有达到屈服,罕遇地震下各层梁端和部分地震波下的首层柱底钢筋达到屈服。结构在 7 条设防裂度地震和罕遇地震的地震动下最大层间位移角均值分布曲线如图 17d 所示。可见,设防烈度地震和罕遇地震下层间位移角均值最大分别为 1/395 和 1/197,均满足 GB 50011—2010 的限值要求。

图片

a—设防烈度地震下梁钢筋应变; b—罕遇地震下梁钢筋应变; c—设防烈度地震或罕遇地震下底层柱钢筋应变; d—设防烈度地震或罕遇震下最大层间位移角均值。 


图 17 梁柱钢筋应变和最大层间位移角 

Fig.17 Strains in rebars of beams and columns and the maximum interstory drift ratio

 

为了解地震作用下结构的损伤模式和损伤程度,图 18 给出了典型地震动下框架塑性铰分布情况。图中,用圆点的大小表示塑性铰的转角大小。


图片
图片

图 18 结构塑性铰分布 

Fig.18 Distribution of plastic hinges



04

结束语

采用合理的性能化设计方法,可有效提高 EDCP-RC 框架结构的韧性。在已有研究的基础上,发展了适用于这类结构的基于能量平衡的抗震设计方法,并通过一个设计实例,对这一设计方法进行了验证。研究得出以下主要结论: 

1) EDCP-RC 结构在不同水准地震作用下的性能目标为: 在多遇地震下 USD 与框架结构均保持弹性状态,对应的性能目标为“立即可用”; 设防烈度地震下 USD 屈服并耗散地震能量,框架继续保持弹性状态,对应的性能目标为“迅速恢复”; 罕遇地震下主体结构也进入塑性,但在罕遇地震下不发生严重破坏,对应的性能目标为“防止倒塌”。 

2) 根据能量修正系数,计算得到的实例结构在不同水准地震作用下的目标位移值与时程分析结果均较接近,验证了所给出的能量修正系数的准确性。 

3) 采用给出的基于能量平衡的设计方法设计的实例结构,多遇地震下 USD 和结构构件均保持弹性,设防烈度地震下 USD 屈服耗能,罕遇地震下结构构件也达到屈服,能够实现不同水准地震作用下预期的性能目标,表明设计方法合理可行。

内容源于网络,如有侵权,请联系删除


相关资料推荐:

某农村三层钢筋混凝土框架结构别墅全套施工图

加建一层钢筋混凝土框架结构框架柱加固图


知识点:钢筋混凝土框架结构

全部回复(0 )

只看楼主 我来说两句抢沙发
这个家伙什么也没有留下。。。

结构资料库

返回版块

41.29 万条内容 · 424 人订阅

猜你喜欢

阅读下一篇

框架边柱和角柱,顶层节点纵筋构造解读

目录: 一、搭接接头沿顶层端节点外侧及梁端顶部布置 1、柱外侧纵筋从梁底起1.5labE搭接长度超过柱内侧边缘 1.1、当柱宽与梁宽度相等,柱外侧纵筋配筋率≤1.2% 1.2、当柱宽大于梁宽,柱外侧纵筋配筋率≤1.2%时,梁宽范围以内的柱外侧纵筋截面积不少于柱外侧纵筋全部截面积的65%时     1.2.1柱顶有现浇板且厚度大于等于100mm     1.2.2柱顶有现浇板且板厚度小于100mm

回帖成功

经验值 +10