一、薄壁扁平钢箱梁构造

1、总体布置
薄壁扁平钢箱梁(梁高与桥宽之比很小)是由顶板、底板、横隔板和纵隔板等板件通过全焊接的方式连接而成,扁平钢箱梁的顶底板通过横隔板及纵隔板等横纵向联结杆件联成整体受力体系。箱梁的顶板通常按桥面横坡要求设置,底板多采用平底板的构造形式。

2、顶底板构造
钢箱梁顶底板由均面板及纵肋组成,由于顶底板的宽度与板厚之比(宽厚比)较大,设置纵肋的主要目的是防止顶底板在弯曲压应力或者制作、运输、安装架设中不可预料的压应力作用下的局部失稳。另外对钢箱梁顶板而言,设置纵肋可将单桥面板变为正交异形板,大大增加桥面板的抵抗能力,使桥面承受的竖向荷载有效地传递到横隔板及腹板上。
纵肋的主要形式有开口加劲肋与闭口加劲肋两种,两者的区别如下:

由上表可知,顶底板的纵肋主要用闭口加劲肋,但翼缘顶板加劲肋也可采用开口加劲肋。一般的闭口加劲肋采用U肋,间距一般为600mm左右,开口加劲肋采用平钢板或倒T形截面,间距一般为300mm左右。

3、纵隔板构造
纵隔板,即钢箱梁腹板,有斜腹板与直腹板两种形式。单箱多室钢箱梁中,外侧腹板一般为斜腹板,其与顶底板共同构成单箱截面,箱梁内部多采用直腹板,将箱梁分为多室。

在弯矩和剪力作用下,纵隔板同时存在弯曲应力和剪应力,为防止腹板在弯曲压应力作用下的弯曲失稳,在纵隔板上设有纵向加劲肋,纵向加劲肋一般采用平钢板截面,竖向间距500mm左右;为防止腹板在剪应力作用下的剪切失稳,在纵隔板上设有竖向加劲肋,竖向加劲肋一般采用倒T形截面,纵向间距2m左右。纵向加劲肋纵向连续,在横隔板与竖向加劲肋处穿孔而过,竖向加劲肋与顶底板不相连,距离50mm左右。

4、横隔板构造
在钢箱梁桥中,由于活载的偏心加载作用以及轮载直接作用在箱梁的顶板上,使得箱梁断面发生畸变和横向弯曲变形,为了减少钢箱梁的这种变形,增加整体刚度,防止过大的局部应力,需要在箱梁的支点处和跨间设置横隔板。
横隔板分为中间横隔板和支点横隔板,支点横隔板除了上述作用外,还将承受支座处的局部荷载,起到分散支座反力的作用。

4.1中间横隔板
中间横隔板被腹板断开,每个箱室一块隔板,与顶底板及腹板焊接。横隔板纵向间距一般2m左右,与纵隔板竖向加劲肋交替布置。每块横隔板中间都设有进人洞,进人洞的洞口边缘设有一块加劲板,宽度100-200mm左右。

4.2支点横隔板
支点处的横隔板比中间横隔板厚,具体厚度及横隔板数量由计算确定,一般2-3块,间距400-800mm左右。支点横隔板横向在两块斜腹板之间连续,将直腹板断开并焊接在支点横隔板上。支点横隔板与顶底板共同组成支点横梁,进行计算,计算时顶底板有效宽度由《道桥示方书》确定。支点横隔板上一般不设进人洞,但须设置水平加劲肋及竖向加劲肋以防止弯曲失稳与剪切失稳。

5、悬臂翼缘构造
悬臂翼缘顶板处设置纵向加劲肋,在悬臂最外侧横向1m宽度左右,加劲肋形式多为平钢板截面(不受汽车活载),其它宽度范围内,加劲肋多为倒T形截面或U肋。翼缘横隔板与主梁横隔板对应设置,厚度翼板与主梁横隔板相同或略薄,翼缘底板仅设在有横隔板的位置,宽度200-300mm左右,底板之间用装饰板焊接成整体。

拟定合适的梁高:边中跨比合理(0.8)的连续钢箱梁梁高一般为跨度的1/22-1/24,两孔或者多孔等跨连续钢箱梁的梁高一般为跨度的1/21-1/23,一孔简支的钢箱梁的梁高一般为跨度的1/20-1/22,大跨度钢箱梁节省用钢量可以采用变高设计,中等70m以下可以采用制造便利的等高设计。
钢箱梁的顶板应力由第一体系+第二体系组成,不同桥跨的钢箱梁,第一体系由梁高确定,第二体系由隔板间距与加劲肋的形式确定,与梁高没有关系。钢箱梁的控制应力是确定的,跨度增加需要梁高来适应以控制第一体系,第二体系应力数值是确定的,因此梁高只与孔跨有关。
跨度小于30m以下小跨度钢箱梁梁高通常由构造决定;钢箱梁需要保证维修、制造、节段连接的原因,隔板需要开设人孔,人孔上方高度需要2.5倍加劲肋高度(开孔加劲肋需要2倍),采用顶板U肋加劲的梁高按照构造要求需要700(开孔后隔板上缘高度)+500(人孔)+500(开孔后隔板下缘高度)=1700mm;采用纵向开口加劲肋最小钢箱梁高度可以做到1.2m。

根据平面划分箱室:不宜大于3.5m,不宜小于2.5m;悬臂长度根据桥宽取值,一般为1.25-2.5米。
确定顶底板纵向加劲肋形式,根据加劲肋形式确定隔板间距:根据梁高箱式宽度确定隔板类型,保证隔板刚度与第二体系的受力,同时照顾好顶底板受压加劲肋的加劲效果,横隔板间距的确定需兼顾考虑翼缘挑梁的受力。

确定所有构件厚度及尺寸:进行主梁第一体系纵向计算、桥面板第二体系计算、支点横隔梁计算,隔板刚度计算、挑梁受力计算、支撑加劲肋计算,确定所有构件厚度及尺寸。箱梁顶板厚度:16mm,箱梁底板厚度:14mm,腹板宽度:12mm,边支点横隔板厚度:20mm,中支点横隔板厚度:30mm。
钢箱梁节段划分:节段是根据运输条件和主梁弯矩图来划分的,陆运:运输节段最大重量不超过80t,宽度不超过3.5m,运输总高度不超过4.5m(运输车一般高1.2m,较矮的0.8m),长度方向不超过16m。一般梁段长度不应超过15米。在正负弯矩最大处的梁段长度应尽可能的大。
绘图准备:横梁隔板确定后反推其余跨间隔板位置、腹板竖向加劲肋、挑梁。
支座型式:统一采用JPZ(II)型盆式支座。
材料:钢箱梁采用Q355D钢。
桥面铺装:40mm沥青玛蹄脂碎石混合料SMA10+40mm浇筑式沥青混合料GA10。
二、案例
钢箱梁结构,桥跨布置为(28.5+41+24.25+24.25)。本桥为变截面,桥面标准宽度26m,变截面中,最大宽度35.5m,最小宽度30m,按双向六车道设计。采用单箱多室截面,梁高1800mm,箱梁顶板厚度取16mm,底板及腹板厚度采用14mm,横隔板的纵向布置间距为2m,顶板纵肋采用U肋、I肋及板肋,U肋间距600mm,I肋间距不超过300mm,板肋仅用于翼缘板外边缘,钢材材质为Q345qC。标准截面处箱梁横向设双支座,支座中心距10.5m;变截面处,箱梁横向设三支座,支座间距详见支座布置图。

桥面铺装层采用8cmC50钢纤维混凝土,5cm SBS改性沥青混凝土AC-16C及4cm SBS改性沥青马蹄脂碎石混合料SMA-13(掺0.25%聚酯纤维),桥面铺装层总厚度为17cm,采用钢结构防撞护栏。
本桥平面分别位于直线上,纵断面分别位于-0.3%的纵坡和R=4000m的竖曲线上。



箱梁桥面板布置图如下:

传力路径:桥面板—纵肋—横隔板—腹板—支点横梁—支座。

三、计算内容
1、纵向计算
1.1第一体系应力(主梁体系)
钢箱梁沿纵向整体受力,其受力特性为连续梁特性,跨中正弯矩最大,支座负弯矩最大。因此利用桥梁建立纵向单梁模型,计算箱梁上下缘的最大拉应力及最大压应力。
1.2第二体系应力(桥面体系)
钢桥面板作为桥面系直接承受车轮荷载作用,因此由纵肋和顶板组成结构系,把桥面上的荷载传递到横隔板上。针对这一体系,把横隔板间的单根纵肋及一定宽度的桥面板作为整体(工字型截面),将横隔板作为支撑,计算其在外荷载作用下的应力,桥面板宽度根据《道桥示方书》确定。因为纵肋是穿过横隔板保持连续,因此纵肋具有连续梁特性。本桥中,横隔板间距为2m,因此,将纵肋及桥面当做跨度为2m的简支梁计算,可得到桥面的最大压应力;将纵肋及桥面当做跨度为2m的连续梁计算,可得到桥面的最大拉应力。
本桥中承受汽车荷载的纵肋就有U肋,又有I肋,因此需分别计算两者,取其中应力的最大值。U肋可以将两腹板合在一起,也简化为工字型截面。

顶板既受第一体系应力,又受第二体系应力,因此顶面总应力应将两者的最大应力对应叠加(拉+拉,压+压);底板仅受第一体系应力,所以纵向单梁模型中的应力即为底板的实际应力。
应力叠加过程如下表所示。

根据纵向正应力计算结果,可判断梁高、顶底板厚度是否合适,根据纵向剪应力结果,可判断腹板厚度及腹板个数是否合适。
2、横向计算
2.1普通横隔板计算
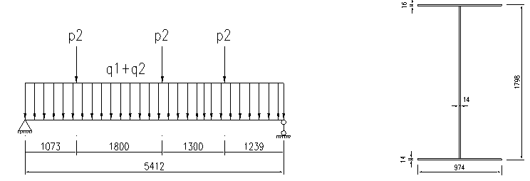
普通位置横隔板承受纵肋传递过来的力,再传递到两侧腹板上,横隔板横向受弯,可简化为两端简支于腹板的简支梁计算,直接承受车辆荷载,截面为工字型截面,顶底板宽度按《道桥示方书》计算。注意车辆荷载要按最不利位置加载。
图中,q1+q2为自重+二恒,p2为车辆荷载的车轮作用点。
根据正应力大小可判断横隔板间距是否合适(横隔板间距影响顶底板有效宽度);根据剪应力大小可判断横隔板厚度是否合适。
2.2支点横梁计算
支点横梁承受腹板传递的力,再传递给支座,支点横梁横向受弯,可简化为简支于支座上的简支梁或者连续梁,承受腹板的竖向力。支点横梁为两块横隔板或三块横隔板组成,截面为箱型截面,顶底板宽度按《道桥示方书》计算。腹板的竖向力大小按该支座处的总支反力平分(乘以一定的偏载系数)。

根据支点横梁正应力大小可判断横梁腹板(即横隔板)间距、顶底板厚度是否合适(在支点处顶底板会加厚),根据支点横梁剪应力可判断横梁腹板厚度及横梁腹板个数是否合适。
1.3悬臂翼缘计算
悬臂横隔板横向受弯,简化为一端固结于主梁腹板的悬臂梁计算其弯曲应力,计算截面取一工字型截面,顶板按《道桥示方书》计算其有效宽度。

根据正应力可判断底板宽度及厚度是否合适,根据剪应力判断横隔板厚度是否合适。注意翼缘横隔板被纵肋削弱的部分很大,剪应力不应过高。
3、支承加劲肋计算
钢箱梁在支承处应设置成对的竖向加劲肋。支承加劲肋直接承受支座反力的作用,不仅需要验算支承垫板处腹板和加劲肋的直接承压应力,而且必须计算腹板和加劲肋中的竖向应力。
3.1支点处承压应力计算


3.2竖直方向应力计算



四、细部构造
1、翼缘处纵向加劲肋的焊接
翼缘处横隔板高度较小,并且还要开孔以保证纵向加劲肋穿过,因此在开孔截面横隔板的剪力将大大增加。为了防止剪力过大,翼缘处纵向加劲肋与横隔板间的焊接须增加焊接垫板,以增大横隔板的受剪面积。

2、支承加劲肋的布置
支承加劲肋的布置不仅与计算有关,同时也与支座的螺栓位置有关,在考虑支承加劲肋的横向间距时,应注意不要与支座的螺栓位置冲突

3、翼缘底板对应加劲肋
翼缘底板的一端焊接于斜腹板外侧,为防止腹板被顶弯,在腹板内侧与翼缘底板对应的位置应设置一块水平加劲肋,由于翼缘底板布置在翼缘横隔板两侧,而翼缘横隔板位置又与主梁横隔板对应,因此该水平加劲肋也处于主梁横隔板左右,其总宽度不应小于翼缘底板的总宽度,长度600mm左右。

4、顶底板及腹板的加厚区长度
在支点横梁的计算中,箱梁顶底板作为截面的一部分参与了计算,为了减小支点横梁的应力,参与计算的顶底板会适当加厚,其厚度大小由应力控制,加厚长度应大于参与计算的有效宽度的长度;箱梁剪应力在支点处最大,为了减小最大剪应力,支点处的腹板也会适当加厚。
钢箱梁构造确定方法

钢箱梁总体指标

相关资料推荐:
https://ziliao.co188.com/d62887096.html
知识点:桥梁钢箱梁设计
全部回复(4 )
只看楼主 我来说两句-
莺儿
沙发
2023-09-19 17:09:19
赞同0
-
寄快递工程师
板凳
2023-07-06 09:07:06
赞同0
加载更多请问桥面板宽度参考的道桥示方书,请问是哪个条款,有没有国内的文章,不懂日文
回复 举报
谢谢分享
回复 举报