跨越能力大,受力合理,结构整体性能好,抗震能力强,抗扭潜力大,造型简单,维护方便。主梁连续、梁墩固结,既保持了连续梁无伸缩缝、行车平顺的优点,又保持了T型刚构桥不设支座、施工时不需临时固结的优点,便于悬臂施工,且具有很大的顺桥向抗弯刚度和横向抗扭刚度,能很好地满足较大跨径桥梁的受力要求。另外,双薄壁墩的柔性对桥梁承受温度变形、减小墩身材料、削减墩顶负弯矩及增加施工稳定性都有一定的益处。跨径在200m~300m范围内,连续梁桥在跨越能力方面,拱桥在施工简易方面以及斜拉桥和吊桥在经济指标方面都明显不如连续刚构桥。


现将双柱式墩抗弯、抗扭、抗推刚度与单柱式墩对比如下。为便于对比采用实心矩形截面,设单柱式墩截面尺寸为B×2H,双柱式墩为B×H,墩高均为L。



由式(1)和式(2)可见双柱墩的抗推刚度仅为单柱墩的1/4,因此双柱墩的连续刚构能有效的较小温度、混凝土收缩徐变和顺桥向地震的影响。



Jb分别为1.167BH3 、4.167BH3、9.167BH3、16.167BH3
其中Jb分别为Ja的1.75、6.25、13.75、24.25倍,因此双柱式墩能有效的保证特大跨径桥梁在悬臂施工时的安全性。

设单柱式墩和双柱式墩在横桥向受到扭矩Mt之后产生的扭角为θ,分析如下:
单柱式墩受扭后产生的角度,墩顶也产生相应的角度,从而只产生抵抗扭矩M〞T。

双柱式墩除各柱分别向单柱墩一样扭转外,同时各柱还产生横桥向的位移,因此其抗扭能力由两部分组成,一是柱身扭转产生的抵抗扭矩扭矩M〞Tb,二是由于柱身横桥向位移产生的横桥向水平力Qb,由此产生抵抗扭矩M′Tb=Qb×2r。
抵抗扭矩的总和为:MTb= M′Tb+2M〞Tb= 2r Qb+2M〞Tb
式中2r Qb远大于2M〞Tb,是双柱墩的主要抵抗扭矩,它与r成正比。由此可见双柱式墩的横向抗扭能力远大于单柱式墩,因此能保证特大跨径的横向抗风要求


考虑到预应力混凝土梁式桥跨径在150~300米范围内时,结构自重产生的弯矩占总弯矩的70%~90%,其有效的承载能力仅为10%~30%,大部分承载能力被自重消耗掉,设计界开始考虑优化上部构造,减轻结构自重。
(1)箱梁根部梁高由L/18发展到L/20。广州华南大桥主桥主跨190米,箱梁根部梁高为9.5米。

(2)跨中腹板厚度由50厘米发展到35~40厘米。虎门大桥辅航道桥主跨为270米,跨中腹板厚度仅40厘米;广州华南大桥主跨跨中腹板厚度仅35厘米。

(3)箱梁根部底板厚度由L/150发展到L/190~L/210,跨中箱梁底板厚度由32厘米发展到25厘米。
(4)箱梁根部腹板厚度由L/257发展到L/345~L/450。虎门大桥辅航道270米连续刚构根部腹板厚度仅60厘米,为跨径的L/450。
(5)箱梁顶板横向悬臂长度最大已达到5.5米。广东金沙大桥。

第一批设计的大跨径连续刚构在建成通车10~15年的期间内,除广东洛溪大桥外几乎全部出现了腹板斜裂缝、中跨下挠的病害。
(2)对主应力的控制过于乐观,腹板厚度过小,过度依赖竖向预应力;
(3)对收缩徐变认识不足(规范通过对挠度的限制修正了这一问题);
(3)为了减少预应力材料的使用,在悬臂浇筑时是以悬臂段箱梁下缘的压应力进行控制,过渡的节约了预应力钢束的用量,导致合拢后中跨上拱过小。

连续刚构的墩高在通常设计条件下应不小于L/8。而跨径190米的华南大桥是在整个下部基础已建成的基础上进行优化设计,在无法改变下部结构尺寸,墩身高度仅11米(为跨径的1/17.3)的情况下,采取如下措施:


连续梁桥和连续刚构桥一般边中跨比值采用0.6,这样能保证边墩支座有足够的压力,同时配束计算时比较容易通过。
但是这样设置的缺点是导致边跨有较长的现浇段,如洛溪大桥,为了将边墩置于岸上,边中跨比值采用0.61,使边跨现浇段长达22米,不得不使用落地式满堂支架现浇,使施工难度骤增。特别是在超高墩的情况下,施工难度几乎达到了施工单位的极限。

边中跨比采用0.54~0.55,此时边墩支座还有相当的向下正压力,而不出现负反力。
(1)对于主跨小于等于120米的刚构,边跨现浇段长度在5.8~7.0之间,施工时可将挂篮前推浇筑边跨现浇段。

(2)对于跨径在120米~270米的刚构,边跨现浇段长度在11.8~14.5之间,施工时可采用导梁法浇筑,这种措施在设计和施工中是完全可行的。

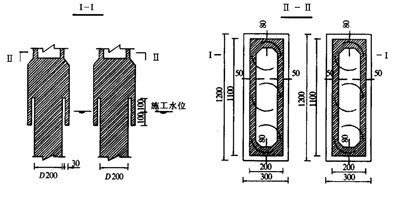
无承台设计的实践,杜绝了水上施工必须设置施工围堰的繁琐工艺,其特点是:
(2)桩顶设置在施工水位以上1.0米,确保干施工;
(3)为了美观在墩底四周设置裙板,且裙板伸入最低水位以下0.5米。
目前已经在70~120米连续刚构上进行了实践,取得了比较好的效果。

① 在悬臂施工时,在顶板预应力张拉的时候,尽量使悬臂端抬头,即以箱梁底板的拉应力控制短暂状况的设计;
② 需要控制除收缩徐变之外的恒载挠度,尽量将其控制在不小于L/4000;
③ 主拉应力的控制需考虑横向的影响,即考虑箱梁内外至少5℃的温差。

根据桥墩的高度,经计算确定是采用连续梁还是连续刚构,原则上尽量采用刚构体系,对于桥墩较矮、多跨或墩高相差较大的,可采用连续体系或连续——刚构组合体系。
预应力混凝土连续梁、连续刚构桥主跨一般不宜大于200米,主跨大于200米时应与其他桥型进行充分的比选论证;一般情况下边、中跨比不小于0.55,在过渡墩较高、边跨现浇段难以采用落地支架现浇时,边中跨比最小可采用0.53,以保证结构在最不利荷载作用下边墩支座有一定压力。

为提高箱梁的承载能力,改善主梁的应力状况,箱梁应有足够的高度。箱梁根部高度宜控制在主跨跨度的1/16~1/18,,跨中梁高宜控制在主跨跨度的1/30~1/55,考虑到新的《公路钢筋混凝土及预应力混凝土桥涵设计规范》的实施和荷载标准的调整,在净空不受限制的条件下可适当增加梁高,梁高宜按二次抛物线变化。

箱梁腹板厚度一般为40~80cm,为方便施工,腹板厚度变化宜在1~2个节段完成。

单箱单室截面箱梁底板宽度宜控制在8米以内,翼缘板悬臂长度宜控制在4.0m以内,否则采用单箱双室截面。
箱梁顶板厚度宜采用25~32cm,具体厚度根据箱梁宽度确定,以满足桥面横向受力和纵、横向预应力钢束的构造要求。
底板厚度自跨中至墩顶随负弯矩的增大而逐渐加厚,墩顶箱梁底板厚度一般为箱梁高度的1/10~1/12,跨中厚度一般为30~35cm。厚度一般按二次抛物线变化。

4、横隔板:箱梁应设端横隔板、墩顶横隔板、中跨跨中横隔板,横隔板应设检修人孔。
5、调平层:箱梁顶面混凝土调平层厚度宜为6~8cm。
对于连续刚构桥,在强度和稳定满足规范要求的前提下,桥墩的抗推刚度不宜过大,以减少混凝土收缩徐变、温度等作用对结构的不利影响。
为方便施工,桥墩宜按等截面设计,在强度和稳定难以满足要求的情况下,可采用双面变坡,但不宜采用四面变坡。
双薄壁墩之间宜按不设置系梁进行设计,施工阶段的稳定问题可采取临时支撑等适宜的措施来解决。

应配置适当的腹板下弯束,以改善箱梁腹板的主拉应力。腹板下完束宜对称于腹板布置,其锚固位置距箱梁顶面宜置于截面高度2/3位置。
底板钢束应尽量靠近腹板布置,钢束应平弯靠近腹板腹板锚固,锚固齿板应与腹板连成一体,底板齿板不宜做成横向贯通贯通齿板。
按全预应力构件设计时,最不利荷载组合下,正截面最大压应力不宜大于规范限值的0.9倍,最小压应力储备宜控制在1Mpa左右。
跨中底板应预留连续束数量的10%并不少于2孔的备用孔道,作为运营期备用束孔道。

一般情况下,竖向预应力宜作为安全储备,不参与主拉应力计算,必要时,可考虑0.5倍竖向预应力效应。
竖向预应力宜对称于腹板布置,对于跨径较大的桥梁,对于梁高大于6m的梁段宜采用钢绞线。采用精轧螺纹钢筋时应明确要求采用二次张拉工艺,以保证其有效性。
横向预应力采用扁锚体系,采用一端张拉、一端扎花固定的锚固方式,有条件时应两端交叉锚固。

(2)底板应配置防止底板崩裂的受力钢筋,防崩钢筋在有连续钢束的节段采用闭合箍筋,且在节段线两侧80cm范围内宜适当加强,在无连续钢束的节段可采用135°弯钩的钩筋,要求箍(钩)筋住底板最外层钢筋。在设计图中应示出钢筋之间相互关系的大样图。
(3)钢束定位钢筋采用“井”字型,对于直线段钢束,间距不宜大于80cm,对于曲线段钢束,间距不宜大于50cm。
(4)对于高度较高、截面尺寸较大的桥墩及箱梁0号节段,表面宜配置带肋钢筋网,以防止温度及收缩裂缝。
相关资料推荐:
https://ziliao.co188.com/d62301244.html
知识点:连续刚构桥设计
全部回复(1 )
只看楼主 我来说两句 抢板凳看一下。。学习下这方面的内容
回复 举报