1.叠合剪力墙体系简述
叠合剪力墙体系源于德国,20世纪60年代初,一家一直从事钢结构桁架梁研发与生产的德国Filigran公司发明了格构钢筋,在此基础上又发明了叠合楼板、叠合墙板,并逐渐形成了一套完整的结构体系——叠合剪力墙结构体系。
自 2005 年德国预制混凝土公司(西伟德公司)在合肥投建第一条叠合体系流水线起,叠合体系慢慢引人中国市场。但由于当时装配式建筑相关基础研究还未成熟,抗震设防标准限制,市场接受度不足等原因导致未大面积推广,但经过几代技术迭代改进,叠合混凝土剪力墙结构也来越完善且符合中国现阶段的国情,叠合剪力墙体系构件分为叠合式楼板、叠合式墙板以及预制楼梯等。
其中核心构件之一叠合楼板是由底层预制板和格构钢筋组成,可作为后浇混凝土的模板;核心构件之二叠合墙板是由两层预制板与格构钢筋制作而成,现场安装就位后可在两层预制板中间浇筑混凝土并与边缘构件等现浇部位连接形成整体,结合了现浇和预制两种技术,兼具现浇和预制的优点,广泛应用于地上建筑以及地下结构。
叠合剪力墙体系示意图:

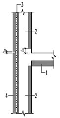
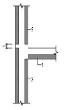
高层剪力墙由叠合剪力墙、叠合夹心保温剪力墙、叠合板、预制楼梯等构件组合而成。

地下管廊由叠合挡土墙、叠合墙、叠合板等构件组合而成。
装配整体式叠合剪力墙结构特点:
(1)由叠合板、叠合梁、预制叠合剪力墙、预制叠合非承重墙、预制楼梯以及后浇节点组成;
(2)装配式叠合剪力墙采用水平缝连接;
(3)梁钢筋在节点区内采用锚固板锚固;
(4)楼板采用预应力筋叠合楼板或钢筋桁架叠合板;
(5)预制楼梯采用一端固定铰支座,另一端滑动铰支座的构造;
(6)墙板中可以布置保温层及其他预埋件等。阳台板和楼板连接部位采用特殊的隔热保温构件,防止冷桥。
(7)非承重夹心保温外墙暗梁、暗柱现浇,解决了暗梁、暗柱出筋带来的工效大幅降低问题,同时在外叶板 上预留内丝螺纹套筒,方便暗梁、暗柱定型铝模安装,可实现外墙无对穿孔(钢爬架及塔吊预留孔除外),减少后期补洞及漏水风险。

(8)承重墙与非承重的夹心保温外墙之间采用结构拉缝条,从构造上实现结构件与非结构件之间的柔性连接,受力路径明确,传力可靠。

(9)夹心保温外墙水平缝防水优化。取消预制企口,可减低 生产难度同时便于运输过程中成品保护。竖缝拼接处粘贴防水卷材,一方面浇筑混凝土时防止拼接缝漏浆,另一 方面形成第二道建筑防水。再加上中间空腔采用填充混凝土这第三道防水,三道“屏障”,从而保证了房屋滴水不漏。

夹心保温外墙水平缝防水示意图

夹心保温外墙竖缝拼接处防水示意图
装配整体式叠合剪力墙结构的设计应符合现行国家标准《混凝土结构设计规范》GB50010 的基本要求并应符合下列规定:
(1)应采用有效措施加强结构的整体性;
(2)装配式结构宜采用高强混凝土、高强钢筋;
(3)装配式结构的节点和接缝应受力明确、构造改造、并应满足承载力、延性和耐久性的要求;
(4)应根据连接节点和接缝的构造方式和性能,确定结构的整体计算模型。
《装配式混凝土建筑技术标准》GB/T 51231-2016 附录A
|
|
|
|||
|
|
|
|
|
|
|
|
|
|
|
|
注:房屋高度指室外地面到主要屋面的高度,不包括突出屋顶的部分。
装配整体式叠合剪力墙结构,当满足下列条件之一时,房屋的最大适用高度可增大至100 m:
1,边缘构件阴影区域全部采用现浇混凝土,并在现浇段内设置封闭箍筋时;
2,建筑物外围墙体采用单面叠合剪力墙,且中间空腔现浇混凝土的厚度不少于150mm。
叠合剪力墙结构体系的优缺点
优点 :
1、预制构件自重相对较轻,便于生产、施工、运输;
2、预制构件四面端部无预留支出钢筋,模具重复使用率高,自动化生产程度高,高效生产产品零缺陷;
3、结构竖向接缝和水平接缝均通过设置于叠合剪力墙空腔内的连接钢筋以及后浇混凝土进行连接,容错能力强,施工便捷,质量便于保证;
4、叠合剪力墙空腔采用现场后浇混凝土,自下而上“贯通”,并与边缘构件等现浇部位连接形成整体,简单来说就是混凝土连续现浇。作为一种“半预制半现浇”结构体系,装配整体式叠合剪力墙结构整体性好、防水性优;
5、叠合剪力墙可将保温体系进行一次性复合预制,实现保温节能一体化、外墙装饰一体化;
6、叠合剪力墙两侧预制墙板在结构施工过程可充当模板,大大减小了现场支模、拆模工作量;
7、叠合剪力墙提系的主要构件,无论是叠合墙还是叠合楼板,由于存在现浇混凝土,预制构件上的混凝土裂缝能够“自愈合”。(现浇层混凝土浇筑施工过程中,湿混凝土的水泥浆可以渗入预制叠合板的裂纹中,不断地填充裂纹缝隙,直至填满为止在混凝土初凝后才基本停止渗漏,此时混凝土浆液开始在裂纹中不断结晶硬化,填补了所有的空隙,使得裂纹自行愈合。)
缺点:
1、叠合剪力墙建筑整体性、系统性研究不够;
2、设备摊销成本较高;
3、用钢量相对较高;
4、现浇量大;
自2010年以来,我国装配式技术的发展速度在逐渐增快。但纵观国内的各种装配式混凝土结构体系,一部分为国外引进技术,一部分为自主开发,但这两种技术种类中的绝大部分核心思想是“取代现浇”,要知道目前国内“现浇”混凝土建筑还是占主体,而且国标及行标的总体规定连接方式还是“湿法连接”,因此现阶段中国混凝土建筑还将在很长一段时间内以“现浇”为主,民建以剪力墙体系为主。
“现浇”注定“个性化,开放性”,建造过程中无论设计还是施工,“技术变更”依旧属于常态,而绝大部分的装配式预制构件对定制化的模具依赖巨大,“技术变更”导致的模具更改,注定装配式建筑的“工期优势”不能实现,反而会成为短板。正因这个“国情”,绝大部分的“过度依赖模具的”混凝土装配式体系是不符合目前“国情”的。
叠合剪力墙体系核心优势在于其核心构件叠合剪力墙、叠合楼板是不需要定制化的模具的,在模数化的标准模具多样组合的基础上实现构件的尺寸灵活多变,因此“现浇”的“技术变更”模式,叠合剪力墙体系可以完美融合。因此在现阶段,纵观国内各种各样的装配式混凝土结构体系,叠合剪力墙体系是可以与“现浇”体系,在技术层面和运营模式上能完美融合的装配式建筑体系。
中国的装配式建筑首先要看,是否符合国情,技术增量和经济增量要相适应,要“合算”,技术先进但经济效益不足,则不会推广,所以从行业发展看,以北方为例,灌浆套筒连接实心墙体系自上世纪90年代进入中国,到现在推广期已经超过30年,而叠合剪力墙体系进入中国是2005年,一进入中国就开始与“实心墙”“分庭抗礼”,这当中的原因不值得深思吗?再到2018年11 月的住博会,已然是技术分水岭。之前,更多是灌浆套筒体系,住博会以后就是以叠合剪力墙、离心技术等空腔体系为主,呈现技术迭代态势,参照《装配式混凝土建筑技术标准》GB/T 51231-2016数据统计,目前叠合剪力墙结构体系在国内实际工程应用的建筑面积已达500万㎡。

双面叠合墙板是由两层预制钢筋混凝土板,通过桁架或连接件连接成具有中间空腔的墙板构件,经现场安装后浇筑混凝土填充中间空腔形成的混凝土墙。
《装配式混凝土建筑技术标准》GB/T 51231-2016 附录A对双面叠合墙板的介绍“双面叠合墙板通过全自动进口流水线进行生产,自动化程度高,具有非常高的生产效率和加工精度,同时具有整体性好,防水性能优等特点。”
双面叠合剪力墙板中内外叶预制墙板通过钢筋和架连接形成整体,增强了预制构件的刚度,避免运输和安装期间墙板产生较大变形和开裂。现场在空腔内浇筑混凝土时,钢筋珩架应能承受施工荷载以及混凝土的侧压力产生的作用。钢筋桁架代替拉筋作用,保证其与两层分布钢筋可靠连接。双面叠合剪力墙的连梁可采用双面叠合连梁或普通叠合连梁,也可采用现浇混凝土连梁。当双面叠合双肢剪力墙与连梁整体制作时,连梁宜采用双面叠合连梁的形式,工厂预制连梁两侧混凝土,待墙板运送至现场安装完成之后,在中间空腔浇筑混凝土形成连梁,叠合连梁的纵向钢筋应与现浇混凝土暗柱、边缘构件进行可靠连接。
叠合剪力墙平面外受弯承载能力与现浇构件承载力接近,并具有良好的延性和耗能能力,可参照现浇混凝土剪力墙的相关规定进行设计。
双面叠合墙综合了预制结构施工速度快和现浇结构整体性好的优点,预制部分不仅大范围的取代了现浇部分的模板,而且还为剪力墙结构提供了一定的结构强度,为后续结构施工提供操作平台,减轻支撑体系的压力。同时预制双面叠合构件不要灌浆套筒,有效降低了施工难度,降低建造成本。不仅可以应用到高层剪力墙建筑地上部分(由叠合剪力墙、叠合夹心保温剪力墙、叠合板、预制 楼梯等构件组合而成)还可以应用到地下管廊和人防结构等地下部分(由叠合挡土墙、叠合墙、叠合板、等构件组合而成)。
国内民建在保温要求上有着明显的南北差距,地域区别明显。北方寒冷地区对墙体保温有着严格的要求,因此评定一种装配式混凝土结构体系是否完整,夹心保温墙板是一项非常重要的指标。
夹心保温单面叠合墙板(可用作承重外墙或非承重外墙)是由内外两层混凝土、三层钢筋网片、钢筋桁架钢筋和中间的夹心保温层、保温拉结件一体构成的叠合剪力墙板。(一体式,指的是成型工艺,而非简单的组合)
夹心保温单面叠合墙板的特点:
一、具有防水性、墙体的内外层具有保护保温材料的作用。
二、对保温材料的防火等其他要求不高,保温板可采用B2级。
三、对季节性没有要求,也不受限制。
四、比一般墙体厚度厚,比较适合北方严寒地区保温使用。
五、FRP连接件可以与钢筋网片进行连接,构件内板与外板不会出现“脱层”,构件本身的安全稳定性更好。
六、FRP连接件的形式采用整体螺纹式构造,连接件中的高强度纤维整体完整度好,机械强度和耐久性相比国外的AG型、ST型保温连接件更高。
七、内外墙光滑美观,内墙免抹灰,节省人工和材料。
在德国本土的叠合剪力墙体系中夹心保温单面叠合墙板构件钢筋不需要绑扎连接,内外页板的厚度公差比中国国标大很多,“水电集成分离”,墙板上水电预埋少等,与目前国内的保温外墙要求明显不适应,而目前国内的夹心保温单面叠合墙板的设计思想是借鉴德国的自动化墙板制作工艺,在双面叠合墙板的基础上进行创新,作出符合目前国标和相关规范图集要求的保温外墙板,它可以说是实心三明治墙板的“升级版”,具备所有实心三明治墙板的优点,同时从根本上解决了实心三明治墙板灌浆套筒技术风险,防水保温“硬拼缝”,内外页脱层风险,所以说夹心保温单面叠合墙板是虽不是中国独有,但现阶段国内的叠合剪力墙体系绝对是带有一些“中国特色”的。
德国发明桁架钢筋后,最先出现的桁架钢筋叠合楼板使得预制构件第一次可以大规模大批量的工业化生产。由于预制叠合底板可以在预制构件厂批量生产,不但生产效率高、产品质量好,而且现场施工时可以大量节省脚手架和模板,能够减少楼盖施工的人工和作业用具,最重要的是增加了现场施工尤其是高层施工,工人的作业操作面,降低了劳动强度,增加施工的安全性,具有施工速度快、工程造价低的优势,技术已经非常成熟,经过数十年研究和的实践,其技术性能与同厚度现浇的楼盖性能基本相当。
钢筋桁架主要有五大作用:
一、是增加刚度,钢筋桁架增加了楼板竖向弯矩可以明显提高楼板刚度;
二、是增加叠合面受剪,也就是新旧混凝度抗“分层”,具体作用是斜向的桁架腹杆增大了两层混凝土之间的结合力,但这个并不明显,常规设计的叠合楼板,不配抗剪钢筋的叠合面仍可满足受剪计算要求;
三、是施工“马镫”,上层钢筋铺设支撑作用;
四、是起吊“吊钩”,节省吊点钢筋;
五、是双向板钢筋间接搭接辅助钢筋,在楼板接缝部位的上表面插入拼缝钢筋时,钢筋桁架的斜腹杆可以锁住拼缝钢筋,形成垂直于钢筋的法向应力,从而增大了混凝土对拼缝钢筋的握裹力,实现钢筋间接搭接,并能够形成双向受力的叠合楼板。因此,在德国本土的的桁架钢筋板多为密拼双向板,采用间接搭接实现横向受力钢筋传力,钢筋桁架是实现钢筋间接搭接的前提。
桁架钢筋叠合楼是底部采用钢筋桁架预制板、顶部采用现场后浇混凝土形成的叠合楼板,四面出筋的双向桁架钢筋叠合楼板顾名思义,在结构设计上为双向受力,楼板四面伸出“胡子筋”的桁架叠合楼板,这种桁架叠合楼板也是中国特色的叠合楼板。
桁架钢筋叠合楼板钢筋桁架叠合楼板因整体性能好、免支模板等优点为目前整体式混凝土装配式建筑应用最多的预制构件也是唯一一种不用改变外形和施工工艺同时可以应用在钢架构装配式建筑上的预制构件。
桁架钢筋叠合楼板在德国已经存在半个世纪,但到了中国由于资源条件的不同,即使是同样的技术,出现了不同的经济性。例如目前业内似乎已经形成的认知,“装配式建筑的造价普遍高于同类型现浇结构”,讲到这里,就要再次提一下目前的中国国情,目前中国建筑工程造价明显低于发达国家,人工成本相对较低,且混凝土生产配送和泵送技术发展相对成熟,造就了建筑施工普遍以现浇为主的局面,虽然现场作业人工和辅材消耗量很大,但是总体的造价成本并不高;如果采用桁架钢筋叠合楼板取代现浇楼板时,在“等同现浇”思维的指导之下,楼板施工成本明显高于现浇。
例如目前国内装配式体系越来越多标榜“等同现浇”来体现结构稳定性,但在实际建造设计时却错误的把“等同现浇”理解成“等于现浇”,国内混凝土建筑设计的常规思路是“重结构,轻维护”,因此国内楼板较薄,楼板钢筋多数为构造配筋,钢筋直径较小,没有充分发挥钢筋强度。甚至在行业标准图集JGJ1-2014和标准图集 《桁架钢筋混凝土叠合板(60mm厚底板)》(15G366-1)中,要求预制底板厚度不宜小于60mm,按照“等于现浇”的思路,剩余的现浇层厚度只有40~60mm,桁架下的剩余空间只有20~40mm,加上制造误差的影响,难以满足水电管线预埋的需求,给现场施工带来了很大的麻烦,甚至不如现浇楼板施工方便。
后来随着行业发展,追求“等同现浇”,为了满足预留预埋的要求,预制叠合楼盖总厚度一般要比现浇的楼板加厚20mm左右,这就带来了另一个问题:这20mm左右的加厚,会增加混凝土用量0.014~0.016m?/㎡,增加钢筋用量0.42~0.48kg/㎡,因此也增加了地上结构载荷约0.35KN/㎡,以目前国内住宅最常见的高层住宅33层计算,单纯叠合楼板的应用,导致载荷增加约0.7层的载荷,为处理这些载荷就需要增加结构方面的钢筋混凝土用量,因此只材料费用这一条,导致的成本增加约为90元/㎡。
另外在跨度较小和楼板较薄的情况下,为了“等同现浇”,仍要设计成双向板,叠合楼板被设计成“四面出筋”,增加了构件生产时脱模困难,并且施工时需要在现浇拼缝部位支设模板,使得支撑横梁变短,加大了施工难度,不但施工效率低,而且成本大幅度提升,作业用具和人工成本增加了一倍以上。这就是目前国内装配式建筑在“等同现浇”技术路线下,建筑造价“不降反升”的重要原因之一。
再例如行业标准《装配式混凝土结构技术规程》(JGJ1-2014)的6.6.6条中要求“双向叠合板板侧的整体式接缝宜设置在叠合板的次要受力方向上且宜避开最大弯矩截面。接缝可采用后浇带形式,并应符合下列规定.......”,(桁架叠合板中,相邻桁架预制板通过连接构造形成的可连续传递内力且与叠合板承载力基本一致的接缝,称为整体式接缝。)但在实际工程中,大多数房间均由两块楼板组成,因此接缝位置很难避开次要受力方向上最大弯矩截面处,如果按照此条规定,多数工程都很难设计成双向叠合楼盖板,而国内“利润为王”的开发商是非常关注建筑成本的,不会加厚现浇层有关的方案,所以一般都会要求做成双向板,这就产生了新的矛盾,即楼板因制作、运输、吊装原因必须是拼接的,拼接就很难避开次要受力方向上最大弯矩截面,双向楼板需要有现浇带,现浇带还必须“避开次要受力方向上最大弯矩截面处”,所以就不得不把两块叠合板划分为更小的三块,以满足“次要受力方向上且宜避开最大弯矩截面”的要求,造成“整体式接缝构造”缝隙过大,往往需要支模施工,叠合楼板一般采用顶撑加横梁作为临时的调平措施,叠合板底与横梁上表面紧密贴合,没有空隙,为了满足接缝部位支设模板的需要,只能切断横梁,模板两侧的横梁又难以保证水平,这就给现场施工带来了极大的难度,更无法保证施工质量,这就是多数装配式项目实实在在遇到的问题。
目前国内装配式建筑的发展如火如荼,使用桁架钢筋叠合楼板的项目日益增多,因成本造价和评分需要的考虑下,桁架钢筋叠合楼板成为目前国内最常用的预制构件。但此类构件技术原理虽然简单,但如果桁架形式和构造方法产生变化,会带来不同的性能和效果,因此衍生出多种形式的叠合楼板,例如万斯达的PK-Ⅱ型叠合楼板,PK混凝土肋叠合楼板,预应力叠合楼板等等。很多建设单位、设计单位、施工单位还是初次接触,对设计、生产、施工的技术和质量要求还处于一知半解的状态,在某些方面仍存在错误的认识,影响了这一技术的正常推广应用。
叠合剪力墙体系的桁架钢筋叠合楼板在不同地区有不同形式,目前北方地区例如北京、天津、河北、山东、河南等地区要求使用的的是四面出筋的双向桁架钢筋叠合楼板。南方地区例如湖北、湖南、海南、上海等地区开始大面积使用单向飞筋桁架钢筋叠合楼板。
飞筋桁架钢筋叠合楼板是楼板中的网片钢筋中仅纵向筋伸出整体向上弯折的“胡子筋”(飞筋的形式),属于密拼双向板,是完全基于自动化流水线生产的叠合楼板。
众所周知,德国是桁架钢筋叠合楼板生产与应用水平最高的国家,飞筋桁架钢筋叠合楼板也是德国所独有的,引入中国也较晚,目前国内PC 技术更接近于日本,而日本特殊的抗震要求,楼板的厚度是远厚于我们的,很多叠合底板实际上只起模板作用,在后浇混凝土层底部另配足够的受力钢筋。日本预制构件企业基本没有自动流水线,多采用固定台模生产。我国目前是采用了类似日本的技术路线并本地化,但使用的是类似德国的自动流水线。
目前的叠合楼板“胡子筋”都是水平伸出,为符合规范中钢筋网片同层连续的要求,“同层连续”理论上可行,但实际操作中往往与理论有很大区别,因此叠合楼板的应用应该实际结合理论,来理解“理论的”规范标准要求的真实意图,叠合楼板网片钢筋“同层连续”的含义为水平拉力可以进行传递,那这个水平拉力最终传递到哪里?目前依照民建主流的剪力墙结构和框架结构我们不难想象,水平力最终传递到梁身,那又有一个问题,传递到梁身,“胡子筋”插入梁身的位置应该在哪,由规范可以知道在现浇叠合部位,也就是梁顶,那“胡子筋”在梁顶筋顶部还是底部,“等同现浇”告诉我们,在顶筋上面,所以施工时都是先把“胡子筋”向上弯曲,把叠合梁顶筋穿上,再把胡子筋弯下去,那么这时的“胡子筋”是水平的吗?肯定不是,这种弯过后的钢筋形状不就是“飞筋”吗?所以“同层连续”并不是一定要求水平,而是允许范围内的平行位置,“连续”才是关键,因此“飞筋”高度20mm的叠合楼板与水平伸出“胡子筋”的叠合楼板在受力和使用上是一样的,但“飞筋”叠合楼板在施工过程中比不同叠合楼板施工更加简单快捷。另外飞筋桁架钢筋叠合楼板是完全基于自动化流水线生产的叠合楼板,它的生产效率是不同叠合楼板生产效率的10倍,所以随着叠合剪力墙体系的推广应用,飞筋桁架钢筋叠合楼板将会大放异彩。
1.5 板端不出筋密拼桁架钢筋叠合楼板
国外的楼板设计一般采用大跨度、大空间,厚度多数为150~200mm,预制底板大量采用50mm厚度,不但解决了现场支模的问题,而且现场浇筑的混凝土厚度在100mm以上,因此楼板的整体刚度较好,即使是需要在桁架钢筋下进行水电管线的预留预埋,也有足够的空间,并且钢筋按照受力计算配置,充分发挥了强度。并且多数把底板设计成单向受力,桁架钢筋叠合楼板一般不采用“四面出筋”的形式,叠合楼板可以采用密拼板缝,通过构造设计使得拼缝钢筋可以传递水平拉力,简化了构件生产工艺,便于施工安装。此种设计在《装配式混凝土建筑技术标准》GB/T 51231-2016 的5.5.3条款“当现浇层大于100mm且大于预制层1.5倍时,才可以不做钢筋伸出。”相吻合,但GB/T51231是推荐标准,其中现浇层的规定内容与现实应用有较大差别。
《钢筋桁架叠合楼板应用技术规程》T/CECS715-2020将在2020年12月1日执行,其中规定:
6.4.4 预制板底纵向钢筋不伸入支座时,应满足下列要求:
1 后浇混凝土叠合层厚度不应小于70mm,且不应小于预制板厚度;
2 支座处应设置垂直于板端的附加钢筋,附加钢筋截面积应按照本规程第6.4.5条计算确定,且不应小于同方向跨中板底受力钢筋面积的1/3;附加钢筋直径不宜小于8mm,间距不宜大于250mm;附加钢筋强度等级不应低于与其平行的桁架板内纵向受力钢筋的强度等级;
3 附加钢筋与预制板受力钢筋净间距不应小于4倍钢筋直径;
4 对于中节点支座,附加钢筋在节点区应贯通,且每侧伸入后浇叠合层长度应不小于1.2la;对于端节点支座,附加钢筋伸入支座的长度不应小于la,伸入后浇叠合层长度不应小于1.2la。
5 垂直于附加钢筋的方向应布置横向分布钢筋,在搭接范围内不应少于2根,且钢筋直径不宜小于6mm。
简单可以理解成现行的“四面出筋的”叠合楼板设计可以用密拼叠合板,而且支持板端不出筋。
《钢筋桁架叠合楼板应用技术规程》T/CECS715-2020在发布前层组织同济大学、龙信建设集团有限公司、清华大学、华润置地有限公司等单位对采用整体式密拼接缝的叠合板进行了接缝节点、板端支座节点相关试验研究,板端纵向钢筋不伸入支座并设置附加钢筋时,在负弯矩作用下,叠合板端下部受压,附加钢筋能参与受拉并能达到屈服,可提高叠合板的受弯承载力。在正弯矩作用下,底部钢筋受拉,混凝土开裂后承载力快速下降,此后附加钢筋开始受拉,因此截面有效高度为附加钢筋形心至叠合板上表面距离。在各种情况下,依靠后浇层和附加钢筋,叠合板端的面内外受剪承载力和防连续能力均能满足设计要求。也就是说接缝处采用合理的构造加强措施后,密拼接缝可实现弯矩的连续传递,形成整体式接缝。
《装配式混凝土建筑技术标准》GB/T 51231-2016,其中现浇层的规定内容与《钢筋桁架叠合楼板应用技术规程》T/CECS715-2020内容有较大差别,出现了“神仙打架”的问题。这两个标准谁对谁错,目前引起的争论不少,但目前所看到的证据都是理论上的,因为现代混凝土装配式在中国的存在时间太短,缺少基础研究和相关的案例实证,因此理论的争论毫无意义,中国人喜欢“眼见为实耳听为虚”,现实的问题是国外采用的钢筋桁架叠合楼板往往都是不出筋的,无论是远在北欧的德国,还是跟我们相邻的俄罗斯、日本、新加坡,论地质复杂性,这些国家的地质条件已经覆盖较全面了,另外这些国家的装配式建筑使用时间有些将近70年还有大量的相关的案例实证,这些“眼见为实”的证据足以表明钢筋桁架叠合楼板不出筋是可行的。因此在从逻辑层面去考虑,德国人为什么要发明桁架叠合楼板?是为了提高质量和施工方便还是为了更加麻烦?是否我们的技术方法出了问题?到底应该怎样进行改良?
邓小平曾经说过,毛泽东思想的核心是“实事求是”,所以这么多年,“实事求是”的采用四面出筋的“整体式接缝构造”拼缝做法,不但构件生产困难、施工困难,而且还难以保证质量,大量工程的拼缝部位由于表面不平整,往往需要二次打磨,操作难度很大,在无形中大大增加了施工成本,是否需要进行变革?随着科研和实践的发展,人们的认知认识会不断提升,都在螺旋上升。编制标准并不是维护某个企业或某个组织的利益,而是整个行业的利益。从现代标准改编的更新的速度来看,桁架钢筋叠合楼板“非出筋”和“四面出筋”的争论,很快就会有结果,这也是标准化改革的意义。
PCF板
即预制外挂墙板,Precast concrete facade panel,根据《装配式混凝土结构技术规程》JGJ 1-2014 的定义,指的是安装在主体结构上,起围护、装饰作用的非承重预制混凝土外墙板。
PCF板对于工厂制作有较大难度,非常依赖磨具,体现在“L”型结构需要一体浇筑,且PCF板混凝土厚度一般在50~60mm左右,需要使用粒径不超过16mm的细石混凝土进行浇筑,振捣时采用20振动棒进行振捣,振捣过程需要把控质量,不然极易出现混凝土振捣不足或过振导致的质量问题。
PCF板在设计时要充分考虑现场安装问题,预留对拉螺栓孔和角码套筒,方便现场安装,另外安装过程中要严格控制垂直度平整度和支模防涨模背楞支撑等,由于PCF安装固定比较薄弱,因此严格控制其安装倾斜的问题。
具体措施可参考如下几条:
1、改进PC安装工艺,将斜撑支撑的底脚埋件改成双螺栓,并在砼浇筑前预埋,参照苏州、上海出台的相关规范做法。
2、对于目前已安装的构件和安装工艺未改进前的部位采取如下措施:
(1)安装队伍应在砼浇筑前对所安装的构件进行系统的检查、固定,对构件的垂直度、缝隙进行调整;
(2)与PCF板接触剪力墙浇筑时采用分层浇筑形式,减少侧压力的产生,剪力墙浇筑到一半左右时应先浇筑与其相连的梁板砼,再将剪力墙砼浇筑完毕;
(3)加强技术交底工作,完善计量及质量检测技术和手段,加大对施工人员的技术交底,落实好施工方案的实施;
(4)为了保证样板的整体稳定性,在每块PCF板的内模板的钢管上增加斜向支撑每块板的支撑不少于3处,每处的节点做法如下图所示。与相邻的梁板模板支撑架应按下图进行加固,而架体的扫地杆,纵横的水平杆应通长设置。

预制楼梯根据设计图纸要求,把混凝土浇筑于相应的楼梯模具中成型,待其硬化后运送到工地预定的位置由吊车吊装到位,并与其它建筑构件连接。
预制楼梯在目前装配项目上成熟而应用广泛,因其克服了传统混凝土现浇楼梯施工方法陈 旧、施工精度低、成品观感质量差、浇筑时难于振捣等问题,这种快速安装、施工便捷的预制楼梯是行业的必然选择。另外预制楼梯设计理论简单,一端铰接一端滑动,无水电预埋,在层高一致的情况下,理论上通用性强。
在目前国内装配式建筑评价体制下,为了达到装配率要求,项目都会选择预制楼梯。预制楼梯一般采用钢模生产,成品外观质量良好,踏步侧面和底面光滑平整。故预制楼梯踏步面层在无二次装修的情况下可直接采用清水混凝土面,上部设置防滑条,不需额外的建筑面层,从而减少施工造价。但实际上楼梯的模具成本非常高,按异形模具10000~13000元/t计算,钢制楼梯模具每套1.4~4万元不等(板式楼梯卧模1.2~1.5吨左右,立模2-3吨左右)。
汇总目前已建装配式建筑项目的楼梯参数,可以看出大多数项目的楼梯重复率都低于50次,(大量案例统计得出,楼梯模具平均重复利用率低于50次,模具成本占比10%,如模具重复使用达到100次,模具费用可以降低30%。)而各个项目之间楼梯更是几乎没有通用的,也就是说每个项目都要重新设计楼梯、设计楼梯模具和开模,造成不必要的成本增加。这个典型的装配式建筑问题可以通过楼梯部品的标准化来提高效率、降低成本摊销。
楼梯部品的标准化要从从预制楼梯的拆分布置方法、设计 、规范等方面入手进行相关的标准化,首先预制楼梯拆分布置方法方面是以楼梯间为单元进行拆分,结合建筑层高、楼梯间开间和进深的净尺寸、踏步条 件、结构计算等参数完成设计。传统建筑施工图已明确楼梯定位,包括踏步高度、宽度和级数,楼梯梯段板厚度和配筋由结构计算得来,将两者信息综合即可完成预制楼梯的设计。根据预制楼梯平面图,将楼梯间开间净尺寸减去梯井宽度,再一分为二,即为楼梯宽度。根据项目经验,有一种便捷做法是采用楼梯宽度方向不预留安装缝,通过中间的梯井调整尺寸,中间未完成部分现场现浇,这里不设置挑耳而采用局部现浇是为了方便构件生产。楼梯上下部搁置长度根据楼梯角度调整,因梯板厚度变化而有所变化。
楼梯的平台梁、平台板可以采用现浇,一般楼梯平台板处建筑面层厚度30mm,所以预制楼梯在对齐楼板顶标高的基础上抬高30mm。预制楼梯与支承构件之间采用简支连接,预制楼梯上部设置固定铰,下部设置滑动铰,固定螺杆也可以采用钢筋替换。楼梯接触面应预留座浆高度20mm,梯插销孔定位要与梯梁上的插筋定位相对应。在无装饰面层的情况下,预制楼梯应设置防滑槽。装配式预制楼梯与现浇楼梯的不同之处是要设置通长面筋,吊点和上下部销键应设置加强筋。
预制楼梯设计的标准化应该结合规范要求,进行模数化的设计,从预制楼梯的踏步宽度、踏步高度、楼梯梯段板的厚度、楼梯间开间和进深尺寸等方面进行模数化设计,具体做法和注意点如下:
1.预制混凝土楼梯规范中要求,预制楼梯踏步宽度不小于250mm,宜采用260mm、280mm、300mm,预制楼梯宽度宜为100mm的整数倍, 低、高端平台段长度应满足搁置长度要求,且宜不小于400mm。住宅设计规范中要求,楼梯踏步宽度不应小于260mm,踏步高度不应大于175mm,楼梯梯段净宽不应小于1100mm。综合得出住宅建筑预制楼梯的踏步宽度最经济的数值为 260mm。
2.实际设计的踏步高度由楼层高度和踏步数决定。一般住宅建筑常用层高为2.8m、2.9m、 3.0m,楼层高度除以踏步数就得到了踏步高度。由于设计在限制踏步高度不大于175mm的条件下,踏步数越少越经济。双跑楼梯因为有2个梯段组合成一个层高,所以必须选用偶数作为踏步数,剪刀楼梯可以选用奇数作为踏步数。例如层高2900,双跑楼梯踏步数2×8=16,那么踏步高度为 2900÷16=161.1mm。同时踏步高度和踏步宽度的比值应不大于0.7813,即最大坡度要求≤38°, 得到数据后再来验算合理性。
3.楼梯间开间和进深尺寸应符合模数系列,宜为100的整数倍。预制楼梯宽度也应采用100的整数倍,取常用宽度1200mm作为标准楼梯宽度。楼梯梯井的宽度一般为60~200mm,可以用来调节安装缝之外的剩余尺寸。
4.楼梯梯段板的厚度应不小于120mm。双跑楼梯中常用的梯板厚度为120mm、130mm,剪刀楼梯中常用的梯板厚度为200mm、210mm,具体数值由结构根据梯板的跨度、楼梯的结构形式、步高、步宽和所受的荷载来确定。通常粗略估算,板式楼梯的厚度按梯板净跨的1/30~1/20取值。预制楼梯高、低端平台段的长度应满足搁置长度,双跑楼梯两端的搁置长度不宜小于400mm,剪刀楼梯两端的搁置长度不宜小于500mm。
5.设计中要考虑预制楼梯的最大重量不要超过设备的吊装能力。如常用塔机TC6517在2倍率下,在2.5~32.5m范围内起重量为5t,尖端45m处起重量为3.6t,双跑楼梯重量在1.5~2.5t之间,可以顺利实现吊装,对塔机位置和起重量基本无要求;而剪刀楼梯由于重量较重,基本都在4t以上,所以对设计的塔机位置和起重量要求较高,必要时会因仅仅1个楼梯吊不起而选择更大的塔机,增加施工成本。
6.吊点设计时应综合考虑墙板、楼板、空调板、PCF板等其他构件的起吊方式,叠合剪力墙体系中起吊吊点多数使用钢套筒(钢套筒吊点不会出现鹰爪钩脱钩风险,安装完成后吊点处理面积小,容易封堵),吊点设置应考虑楼梯吊装安装斜度,从而设计吊点位置。
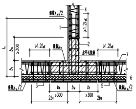
2.叠合墙体系连接节点简述
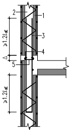
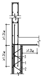
1.单面叠合剪力墙竖向接缝应通过后浇段连接,约束边缘构件阴影区域,宜采用后浇混凝土,并在后浇段内设置封闭箍筋。约束边缘构件和构造边缘构件阴影区域的构造可采用图2.2.1-1中所示的构造形式。


(a)L形墙(构造1)
(b)L形墙(构造2)


(c)T形墙(构造1)
(d)T形墙(构造2)
lc—约束边缘构件沿墙肢的长度;
1—预制部分;2—后浇部分;3—单面叠合剪力墙;
4—双面叠合剪力墙;5—外叶板;6—保温层;7—连接件;


(a)L形墙(构造1)
(b)L形墙(构造2)


(c)T形墙(构造1)
(d)T形墙(构造2)
图2.2.1-2 构造边缘构件
1—预制部分;2—后浇部分;3—单面叠合剪力墙;
4—双面叠合剪力墙;5—外叶板;6—保温层;7—连接件
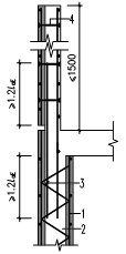
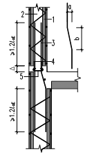
2.单面叠合构件在竖向接缝的连接,可采用图2.2.1-3所示的构造方式。

图2.2.1-3 单面叠合剪力墙水平向连接构造
1—预制部分;2—后浇部分;3—搭接钢筋;4—外叶板;5—保温层;6—连接件;
3.单面叠合剪力墙水平接缝高度,外叶板不宜小于20mm,内叶板不宜小于50mm;接缝处后浇混凝土应浇筑密实(图2.2.1-4)。

图2.2.1-4 单面叠合剪力墙水平接缝高度要求
1—叠合楼板;2—单面叠合剪力墙;3—保温层;4—外叶板;
Δ1—外叶板拼缝高度;Δ2—内叶板拼缝高度
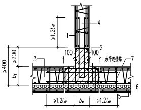
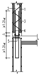
4.单面叠合剪力墙水平接缝连接如图2.2.1-5所示。


(a)现浇与叠合剪力墙
(b)叠合剪力墙(等厚)


(c)叠合剪力墙(不等厚,a/b≤1/6)
(d)叠合剪力墙(不等厚,a/b>1/6)
图2.2.1-5 单面叠合剪力墙竖向连接节点
1—预制部分;2—后浇部分;3—竖向连接钢筋;4—2 8;5— 8@200;
6—外叶板;7—保温层;8—连接件;Δ1—外叶板拼缝高度;Δ2—内叶板拼缝高度
5.单面叠合剪力墙女儿墙竖向连接如图2.2.1-6 所示。


(a)叠合剪力墙与现浇女儿墙(等厚)
(b)叠合剪力墙与现浇女儿墙(不等厚)


(c)叠合剪力墙与叠合女儿墙(等厚)
(d)叠合剪力墙与叠合女儿墙(不等厚)
图2.2.1-6 单面叠合剪力墙女儿墙处连接
1—预制部分;2—后浇部分;3—竖向连接钢筋;4—外叶板;5—保温层;6—连接件
1.双面叠合剪力墙竖向接缝应通过后浇段连接,约束边缘构件的阴影区域,宜采用后浇混凝土,并在后浇段内设置封闭箍筋,其中L型、T型和I型剪力墙在约束边缘构件阴影区域的构造可采用图2.2.2-1中所示的构造形式。构造边缘构件阴影区域宜采用后浇混凝土,其中L型、T型和I型剪力墙在构造边缘构件阴影区域可采用图2.2.2-1中所示的构造形式。


(a)L形墙
(b)T形墙


(c)I形墙(后浇暗柱)
(d)I形墙(叠合暗柱)
lc—约束边缘构件沿墙肢的长度;1—后浇部分;2—双面叠合剪力墙


(a)L形墙
(b)T形墙


(c)I形墙(后浇暗柱)
(d)I形墙(叠合暗柱)
1—后浇部分;2—双面叠合剪力墙
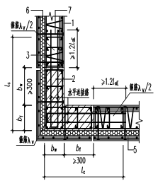
2.双面叠合剪力墙水平接缝高度不宜小于50mm,也不宜大于100mm,接缝处后浇混凝土应浇筑密实(图2.2.2-3)。


(a)双面叠合剪力墙一侧有楼板
(b)双面叠合剪力墙两侧有楼板
图2.2.2-3 双面叠合剪力墙水平接缝高度要求(50mm≤Δ≤100mm)
1—叠合楼板;2—双面叠合剪力墙
3.双面叠合剪力墙水平接缝处竖向连接如图2.2.2-4所示。


(a)现浇与叠合剪力墙
(b)叠合剪力墙(等厚)


(c)叠合剪力墙(不等厚,a/b≤1/6)
(d)叠合剪力墙(不等厚,a/b>1/6)
图2.2.2-4 双面叠合剪力墙竖向连接
1—预制部分;2—后浇部分;3—竖向连接钢筋;4—2 8;5— 8@200
4.双面叠合剪力墙女儿墙竖向连接如图2.2.2-5 所示。


(a)叠合剪力墙与现浇女儿墙(等厚)
(b)叠合剪力墙与现浇女儿墙(不等厚)


(c)叠合剪力墙与叠合女儿墙(等厚)
(d)叠合剪力墙与叠合女儿墙(不等厚)
图2.2.2-5 双面叠合剪力墙女儿墙处连接
1—预制部分;2—后浇部分;3—竖向连接钢筋;4—连接件
5.非边缘构件位置,相邻预制双面叠合剪力墙之间的竖向接缝应设置后浇段(图2.2.2-6),后浇段的宽度不应小于墙厚且不宜小于200mm。

(a) 双面叠合剪力墙竖向连接构造(一)
1—预制部分;2—后浇部分;3—搭接钢筋

(b) 双面叠合剪力墙竖向连接构造(二)
1—预制部分;2—后浇部分;3—搭接钢筋
图2.2.2-6 叠合剪力墙墙段水平连接连接段构造
叠合剪力墙结构的连梁可采用现浇连梁或叠合连梁。叠合连梁可采用如图

2.2.3所示的水平叠合连梁或竖直叠合连梁。


(a)叠合连梁 (构造1)
(b)叠合连梁(构造2)
图2.2.3 叠合剪力墙的连梁构造
由以上节点可以看到,装配式剪力墙结构的核心保证预制构件之间的连接,结构的整体性和抗地震倒塌能力主要取决于预制构件之间的连接。在地震、偶然撞击等荷载作用下,整体稳固性对装配式结构的安全至关重要。按照上面介绍的连接节点设计的装配整体式结构,节点、拼缝等部位的连接构造措施可保证构件的连续性和结构的整体性。众所周知,现浇钢筋混凝土高层建筑一般不采用严重不规则的结构体系,然而装配式剪力墙结构的规则性要求要更高于现浇结构。
3.叠合剪力墙体系的EPC模式下各方沟通
EPC设计是高度集成化、一体化的设计,涉及建筑、结构、水、暖、电、精装等协同作业,同时兼顾工厂生产工艺及现场构件安装。因此明确各方在各阶段协调沟通的职责和权限尤为重要。(毫无职责权限前提的沟通是无效沟通,EPC模式推行,沟通是要点更是难点,权责不清的的无效沟通是目前制约设计前置的绊脚石)下面给出的是以设计前置为核心的EPC模式下,EPC各方在项目全流程当中互动协作简要说明,由表格形式可以直观反映出,EPC各方在项目全流程的主线下互动协作的工作内容及工作的逻辑关系。
EPC项目全流程设计协作互动简要说明

叠合剪力墙体系适合EPC模式,而EPC模式的核心是设计前置,设计前置需要在项目设计阶段考虑生产、降低成本、提高效率,然而,EPC模式中重要的三方——设计院、施工装配单位、构件厂,需要高度的技术协同,也就是说在EPC模式中,这三方技术信息是全部共享的,技术信息流是网状结构。
EPC模式中技术信息可以共享,但在项目策划、实施、总结各阶段全过程需要有明确的责任划分,技术和工作模式“双轨制”才能促进设计院各专业模块、施工装配单位及工厂的高度协同和互动,确保EPC项目稳定运行。在这方面,美好集团的“SEPC”模式,值得借鉴。
目前的中国装配式建筑产业已经规模庞大,但现状都是“雷声大雨点小”,全国上千家的预制构件工厂大部分效益低下,除了经营模式和技术层面上的原因外,EPC模式的推行不畅是很重要的一个原因。而目前的大部分装配式建筑体系从技术层面上就不适合EPC模式,因此近四五年内,预制构件单体销售短期利润释放表现会非常好,90%以上的装配式建筑的预制构件工厂主营业务为构件单体销售,只有少数集团型企业在自主推行EPC模式。
装配式建筑的EPC模式推行现在困难重重,这是目前中国的建筑业的特殊国情导致的,中国目前的建筑体系依然以“现浇”体系为主,无论从行业的运营模式层面还是技术体系层面都已经非常成熟,中国民建目前最大特点就是建筑的“个性化、开放性”,“千楼千面”是国内民建尤其是住宅类建筑的共性。因此装配式建筑“应运而生”自然也要担负起“个性化、开放性”的基本属性,但“个性化、开放性”属性与装配式建筑“工业化、标准化”的属性相矛盾。另外国内的装配式建筑发展主要技术路线为“引进吸收后再创新”,更加重了这两种属性之间的矛盾。
当中原因无非两点:
第一,现阶段,大部分建筑业企业还是以施工总承包为主,即使有少量EPC总承包企业,也仅仅是套了一个EPC的外壳,其内部管理制度和流程还是原来的施工总承包那一套。
第二,现阶段装配式建筑核心重资产为预制构件加工工厂,动辄上亿的投资,固定资产占比过大,建筑行业的资本模式是高资金周转,“杠杆”增加资本价值,大多数建筑与房地产企业的资产负债比率为70-90%,而更像传统制造业的预制构件工厂显然不符合这种资本运营模式,投资回报周期长,回报率低,所以具备设计、施工的建筑企业不想投资建工厂,开发商追求低成本、高利润,很难“看上”预制构件工厂的回报模式,预制构件加工厂又很难具备设计和施工的资质和能力,造就了目前的EPC模式很难开展,装配式建筑只能在传统的项目管理模式中艰难求生。
这种现象的根本原因在于整个行业模糊或者说“混淆”了“建筑”的定义,将“狭义”的建筑业——“房屋建筑工程和土木工程的建造、设备、线路、管道安装、装饰装修等活动”模糊成“建筑”的定义,简单来讲就是把“建造”理解成了“建筑”。而“广义”的建筑业应该能反映建筑业真实的经济活动空间,因此“广义”的建筑业反映的是建筑产品生产的全过程及参与其过程的各个产业和各类活动,也就是涵盖建筑产品的生产以及与建筑生产有关的生产和服务内容,包括建设规划、勘察、设计、施工及安装、建筑构配件生产、建成环境的运营、维护及管理、相关的技术、管理、商务咨询和中介服务、相关的教育科研培训等活动。
因此整个建筑行业想要科学发展,EPC模式势在必行。在2016年发布的《关于大力发展装配式建筑的指导意见》和2017年发布的《国务院办公厅关于促进建筑业持续健康发展的意见》、《“十三五”装配式建筑行动方案》中都提到了装配式建筑原则上应采用工程总承包模式,并且支持大型设计、施工和部品部件生产企业通过调整组织架构、健全管理体系,向具有工程管理、设计、施工、生产、采购能力的工程总承包企业转型。根据国家的政策导向,具备装配式建筑设计、构件采购、构件生产、吊装施工全产业链能力的新型装配式建筑企业是当下发展的热点方向。
由此可见,装配式建筑不单属于建筑业,还属于制造业,是两者的结合。它的正常运行要经过总体策划,将传统模式中很多后置的工作前置到项目早期,在设计阶段甚至是投标阶段就开始制定生产、运输、吊装方案等,将各环节合理穿插、深度融合,也就是将原来线性的工作顺序转变为叠加型、融合型作业的网络状工作顺序,就此特点,装配式建筑行业的“EPC总承包模式”,总承包商同时承担了设计、采购、施工三项工作,可以在内部建立沟通渠道,不仅能让建筑、结构、机电、PC深化等各个专业设计人员充分的沟通,还可以让分别负责设计、采购、施工的人员结合各自的经验和预制构件工艺特点进行技术策划与优化,让装配式建筑自身的优势充分发挥出来。
所以,综上所述叠合剪力墙体系无论是在技术为基础的操作层面上,还是以利润分配为基础的经营模式上,都能完美的的适应EPC模式。这也造就了,自2018年11 月的住博会,开始装配式建筑的技术分水岭。之前是灌浆套筒体系,住博会以后就是以叠合剪力墙、离心技术等空腔体系为主,呈现不可逆的技术迭代态势。
知识点:叠合剪力墙体系
0人已收藏
0人已打赏
免费0人已点赞
分享
建筑构造
返回版块7.65 万条内容 · 194 人订阅
阅读下一篇
详解钢筋16G101图集(03)--剪力墙构造剪力墙为何设置底部加强部位,其高度是如何确定的?底部加强部位有何主要构造要求? 问题2:剪力墙哪些部位设置的是约束边缘构件,哪些部位设置的是构造边缘构件,平法注写如何表示? 问题3:剪力墙水平分布钢筋计入约束边缘构件(YBZ)阴影区体积配箍率时,如何处理在端部的做法? 问题4:剪力墙水平分布钢筋替代构造边缘构件(GBZ)中的部分箍筋时,如何处理在端部的做法?
回帖成功
经验值 +10
全部回复(0 )
只看楼主 我来说两句抢沙发