
装配式混凝土结构连接
世界著名建筑大师格罗皮乌斯提出装配式混凝土建筑的概念已经有一个多世纪了,大规模的装配式混凝土建筑实践也有半个多世纪了,应当说,装配式混凝土建筑的机构连接技术,就结构安全而言,是比较成熟的。从单层、低层建筑到高层、超高层建筑,从非抗震设防建筑到高抗震设防建筑,装配式混凝土建筑都经历了时间和实践的考验,并创造了许多经典的成功案例。
今天,我想在这里从专业的角度通过具体的技术细节,来对大家一直关注和争议的焦点——“装配式混凝土结构连接”的方式和技术做一简单的介绍。
首先,我们通过下表列出了装配式混凝土建筑常见连接方式、可连接构件和适用范围。


灌浆连接
1.套筒灌浆连接
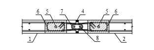
钢筋套筒灌浆连接是一种在预制混凝土构件内预埋成品套筒,从套筒两端插入钢筋并注入灌浆料而实现的钢筋连接方式。

套筒灌浆作业原理图
灌浆套筒连接分为全灌浆套筒连接和半灌浆套筒连接。半灌浆套筒上部内侧车丝,连接钢筋套丝,钢筋与套筒通过丝扣连接。

全灌浆套筒连接
1—连接钢筋 2—出浆孔 3—套筒 4—注浆孔 5—灌浆料

半灌浆套筒连接
1—连接钢筋 2—出浆孔 3—套筒 4—注浆孔 5—灌浆料
(1)灌浆套筒连接可以用于框架柱与框架柱连接。


框架柱钢筋套筒灌浆连接示意
1—框架柱 2—半灌浆套筒 3—钢筋
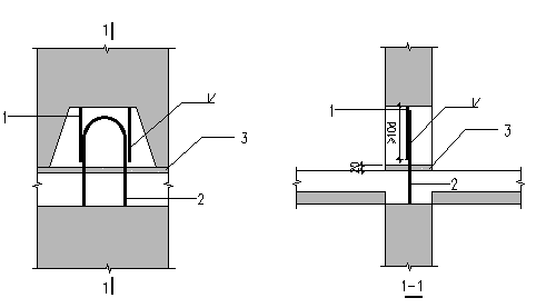
(2)钢筋灌浆套筒连接可以用于剪力墙的竖向连接。


剪力墙钢筋套筒灌浆连接示意
1—框架柱 2—框架梁 3—全灌浆套筒
2.螺旋箍筋浆锚搭接
螺旋箍筋浆锚搭接是一种通过螺旋箍筋浆加强搭接钢筋预留孔道的预留孔钢筋灌浆连接方式。预留构件后插入钢筋部分增设预留孔道,钢筋插入后灌浆连接。两根搭接的钢筋外圈混凝土用螺旋钢筋加强,混凝土受到约束,从而使得钢筋可靠搭接。


螺旋箍筋浆锚搭接连接示意
1—钢筋 2—螺旋箍筋 3—插筋
3.波纹管浆锚搭接连接
波纹管浆锚搭接是一种用波纹管加强预留孔道的钢筋灌浆连接方式。波纹管对后插入管内的钢筋和灌入的灌浆料进行约束,实现钢筋的搭接连接。

钢筋波纹管浆锚搭接连接示意



后浇混凝土钢筋连接
1.螺纹套筒连接
钢筋的螺纹套筒连接可以用于装配式建筑,先将钢筋车丝,然后拧入螺纹套筒内即实现钢筋的连接。


钢筋螺纹套筒连接示意
1—螺纹套筒接头;2—钢筋
螺纹套筒连接要求连接钢筋定位精度要求高,在预制构件中应用难度大。但是可以同转接的方式来降低精度要求。

一种转接钢筋螺纹套筒连接示意
2.挤压套筒连接

冷挤压设备

冷挤压钢筋连接示意

冷挤压钢筋连接原理图
钢筋套筒冷挤压连接是把带肋钢筋从两端插入套筒内部后,挤压套筒使其筒变形,从而实现钢筋连接的一种钢筋连接方式。可用于框架梁柱钢筋连接。
3.注胶套筒连接

注胶套筒连接示意
4.环形钢筋绑扎搭接连接



环形钢筋绑扎连接
5.直钢筋绑扎搭接连接


搭接(一)工程实例

搭接(二)工程实例
钢筋绑扎搭接连接是指两根钢筋用绑线绑扎搭接到一起,然后浇混凝土形成钢筋的连接。根据结构的抗震等级及构造要求不同搭接形式也不同。一二级级抗震底部非加强部分、三四级抗震、和非抗震可以采用搭接(一),即单个截面内100%搭接。此种搭接多用于柱子、剪力墙的竖向钢筋搭接。
6.直钢筋无绑扎搭接连接
直筋无绑扎搭接连接是一种两根钢无需绑扎,直接搭接到一起,然后浇混凝土形成钢筋的连接的连接方式。根据结构的抗震等级及构造要求不同搭接形式也不同。此种搭接多用于叠合板剪力墙和圆孔剪力墙的竖向钢筋搭接。

钢筋搭接连接示意

叠合板密拼接缝

叠合板密拼接缝

叠合板板支座
单向板的密拼连和叠合板与支座的连接也属于无绑扎搭接连接。
7.钢筋焊接连接
钢筋焊接连接是一种采用对焊或搭接焊等把筋直接焊接到一起的连接方式。焊接连接多用于低多层剪力墙结构连接。

钢锚环连接
1— 预制墙板;2—钢筋;3—带螺纹的预埋件;4—连接环

钢筋焊接连接实例

后浇混凝土其他连接
1.钢锚环连接
钢锚环连接是一种通过钢锚环插筋后浇筑混凝土连接方式。在预制墙板连接面的预留槽,在预留槽内埋置螺纹套筒。墙体安装时,在螺纹套筒内拧入连接环,然后在两片墙体连接环的重叠区域内插入钢筋,然后浇筑细石混凝土,形成墙体的连接。多用于多层剪力墙连接。


钢锚环连接
1—预制墙板 2—钢筋 3—带螺纹的预埋件 4—连接环

钢锚环连接实例
2.钢筋锚环连接

一字型节点构造示意

L 型节点构造示意 T 型节点构造示意
3.绳索套环连接
绳套连接是一侧墙体预埋钢索环,与另一侧墙体的预埋钢索环相交叉,在交叉区域插入钢筋形成钢筋连接。并且两侧墙体在连接部位共同形成空腔,在空腔中注入浆料连接。绳套连接多用于低层房屋。

绳套连接件

绳套连接节点示意

绳套连接实例
4.型钢连接
型钢连接是指在预制构件中预埋型钢,然后通过不同预制构件内型钢焊接或螺栓连接实现预制构件的连接。型钢连接多用于装配式框架结构。

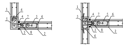
装配整体式型钢混凝土框架节点构造示意
1—预制型钢混凝土柱2—预制型钢混凝土梁3—后浇区 4—预制梁型钢螺栓连接5—预制柱型钢螺栓连接 6—叠合梁下部纵向钢筋 7—附加穿筋 8—叠合梁上部纵向钢筋

一种型钢连接示意

叠合构件后浇混凝土连接
1.钢筋弯折锚固


叠合板与叠合板之间的连接

上部钢筋弯锚

梁底部钢筋弯锚
2.钢筋锚板连接

钢筋锚固板锚固示意

梁顶钢筋端板锚固

框架梁顶钢筋端板锚固

干式连接
1.螺栓干式连接
螺栓连接是通过螺栓紧固的方式实现与预制构件之间的连接。螺栓连接可以在构件边缘设置螺栓孔和安装手孔,螺栓孔中穿过螺栓实现紧固连接。国外采用螺栓盒或定制的螺栓连接器实现连接。螺栓连接应用范围广。适用于装配式混凝土框架结构和装配式混凝土剪力墙结构。同时还适用于外挂墙板与主体结构的连接和预制楼板与预制楼板的连接等。

剪力墙结构螺栓孔螺栓连接

剪力墙结构螺栓孔螺栓连接实例

螺栓连接盒连接示意


框架结构螺栓连接器连接实例


牛腿螺栓连接实例

外墙挂板螺栓连接示意
2.连接件焊接干式连接
连接件焊接连接是通过焊接预埋不同在混凝土构件中钢板连接件实现连接。焊接无湿作业,操作简单方便。可应用于装配式混凝土框架结构和装配式混凝土剪力墙结构。


剪力墙结构焊接连接实例

其他连接
1.预应力干式连接
预应力PC建筑在设计中将预先可能发生的拉应力转化为压应力。通过预应力将零散的PC构件牢固地紧压在一起,构件之间为压应力,受力面为整个接触面。这种结构体系改变了现有用湿法现浇方式连接各处节点的构造做法,在地面以上的结构中,可以完全取消所有的节点现浇、楼板叠合现浇等湿法作业,属于干法施工。

预应力干法连接示意
2.组合连接
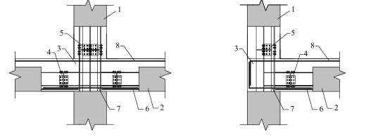
型钢与钢筋套筒灌浆组合连接,多用于框架结构,具体形式见下图。

3.哈芬槽连接
哈芬槽连接适用于大砌块砌体与构造柱的连接,具体形式见下图。

内容源于网络,如有侵权,请联系删除
相关资料推荐:
知识点:装配式混凝土结构连接
0人已收藏
0人已打赏
免费5人已点赞
分享
混凝土结构
返回版块140.17 万条内容 · 2216 人订阅
阅读下一篇
装配式住宅结构设计要点分析预制率和装配率 目前除国标《装配式建筑评价标准》中对装配率做了统一规定外,上海、江苏、北京、成都、深圳、湖南、湖北等省市也陆续出台了针对当地的预制率和装配率计算细则。但在纳入预制率(装配率)计算的构件范围以及各类构件预制率(装配率)的折算比例方面都有所差别。 以上海预制率和装配率计算细则为例,预制率是指混凝土结构、钢结构、钢-混凝土混合结构、木结构等结构类型的装配式建筑±0.000 以上主体结构和围护结构中预制构件部分的材料用量占对应构件材料总用量的比率。规范列出了两种计算方法
回帖成功
经验值 +10
全部回复(0 )
只看楼主 我来说两句抢沙发